Двухтактное будущее: GM хочет вернуть моду на простые моторы

GM подала патент на инновационный двухтактный двигатель

Добавить SPEEDME.RU в предпочитаемые источники Google

General Motors подала в USPTO патент US 2025/0354528 A1, описывающий новую систему клапанов для двухтактного двигателя. Заявка опубликована 20 ноября 2025 года и обещает решить ключевые проблемы традиционных двухтактников — плохую герметичность, износ и сложность продувки.

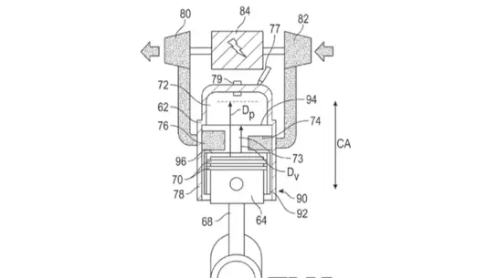
В классическом двухтактном моторе впуск и выпуск осуществляются через «окна» в цилиндре, что упрощает конструкцию, но приводит к потерям и ускоренному износу. GM предлагает установить подвижный клапанный элемент, расположенный между цилиндром и поршнем. Он перемещается вдоль оси цилиндра и открывает или закрывает окна впуска и выпуска в нужный момент, работая синхронно с поршнем.

Такой подход улучшает уплотнение: поршневые кольца больше не задевают открытые окна, потому что клапанная «манжета» как бы проводит их мимо портов. Это повышает ресурс и снижает утечки. Кроме того, система позволяет точнее управлять моментом открытия и закрытия каналов, повышая эффективность и чистоту выхлопа.

Согласно описанию, конструкция может реализовываться как в виде цилиндровой «гильзы», так и в виде разделённых впускных и выпускных секций.

GM уверяет, что такая схема обеспечивает более экономичную и долговечную работу, а также потенциально чище сгорание. Применение — от автомобилей и гибридов до мототехники, электроинструмента и авиации.

uspto.gov