«Сезам, откройся» по-немецки: Mercedes решил оснастить свои машины врачом-флебологом

Mercedes-Benz запатентовал систему доступа в авто по рисунку вен ладони

Добавить SPEEDME.RU в предпочитаемые источники Google

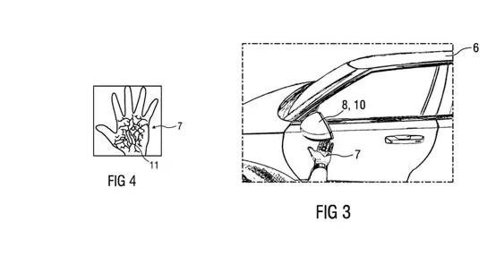
Mercedes-Benz может сделать доступ в автомобиль похожим на фокус: вместо ключа или смартфона — ладонь. В недавно опубликованном патенте описана система, где инфракрасная камера считывает рисунок вен в ладони, а затем по биометрии решает, можно ли открыть двери и запустить машину.

Идея не новая для рынка: у некоторых брендов уже есть сканеры отпечатка или распознавание лица, но Mercedes делает акцент на другом — снижении энергопотребления.

По документу, многие биометрические решения требуют заметной энергии, что теоретически может влиять на запас хода электромобилей. Поэтому немецкие инженеры предлагают держать сканер в «спящем» режиме и включать его только когда рядом появляется человек. Для этого предусмотрен датчик «живого тела»: он фиксирует изменения в статическом электричестве вокруг автомобиля, отличая живого человека от неодушевлённого объекта. После активации сканер быстро считывает ладонь, а данные предлагают хранить зашифрованными внутри автомобиля, не передавая их по сети.

Разместить модуль хотят, например, в стойке кузова или под зеркалом, хотя в реальной жизни такой жест может оказаться не самым удобным, особенно на большом SUV. Но как технологическая «фишка» для авто это звучит эффектно.

Лично я за удобство, но только если система будет работать без капризов в мороз, дождь и в перчатках — иначе старый добрый брелок снова окажется быстрее.

uspto.gov