09:55 12-10-2025

Patent Subaru: chytrý podvozek upraví světlou výšku i odklon v reálném čase

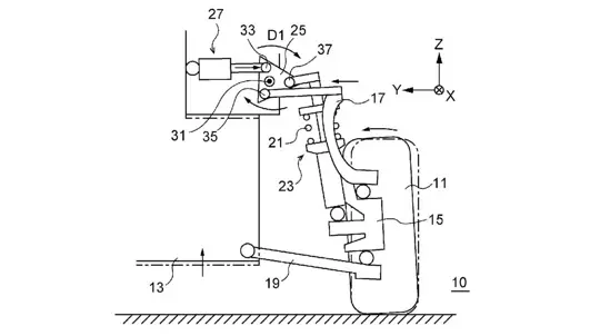
Subaru znovu překvapilo branži tím, že si nechalo patentovat podvozkový systém, který umí současně měnit světlou výšku i odklon kol – a zvládne to i za jízdy. Patent s názvem „Suspension device and vehicle“ staví na přídavném poháněném rameni umístěném v horní části vzpěry. Jak se podvozek stlačuje a odskakuje, tento článek posouvá uložení celé sestavy a v reálném čase upravuje výšku karoserie i úhel kol. Na papíře jednoduchá myšlenka, v praxi velmi chytré řešení.

Když se aktuátor zkrátí, vůz si sedne níž, zvýší negativní odklon a sníží těžiště. Při jeho prodloužení karoserie vystoupá, přibude světlé výšky a stability. V podstatě Subaru navrhuje konfiguraci, která mluví jak k pravidelným návštěvníkům okruhu, tak k fandům „stance“: na přehlídku níž, cestou domů zase výš. Přesně taková pružnost nastavení, která v běžném provozu dává smysl.

Inženýři počítají s tím, že každý roh auta bude číst vstupy ze snímačů úhlu natočení, zrychlení a zdvihu kola a podle povrchu automaticky dolaďovat geometrii. Lamborghini už si s podobnými nápady pohrávalo, Subaru však míří k tomu, aby se koncept dostal blíž.

Je to odvážný krok, který zapadá do vyváženého mixu rallyových kořenů a každodenní použitelnosti. Pokud Subaru dotáhne projekt do výroby, může vzniknout skutečný průlom: podvozek, který uspokojí různé preference a slibuje chytřejší kombinaci kontroly a komfortu.