09:46 12-10-2025

Subaru patentiert adaptives Fahrwerk: Bodenfreiheit und Radsturz während der Fahrt verstellbar

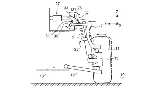
Subaru hat die Branche erneut überrascht: Der Hersteller hat ein Fahrwerk patentieren lassen, das gleichzeitig die Bodenfreiheit und den Radsturz verändern kann – und zwar während der Fahrt. Das Patent trägt den Titel „Suspension device and vehicle“ und setzt auf ein zusätzliches, angetriebenes Verbindungselement oberhalb des Federbeins. Beim Ein- und Ausfedern verschiebt dieses Bauteil die Position der Einheit, sodass Karosseriehöhe und Radsturz in Echtzeit nachgeregelt werden.

Fährt der Aktuator ein, liegt das Auto tiefer, der negative Sturz nimmt zu und der Schwerpunkt sinkt. Wird er ausgefahren, wächst die Bodenfreiheit – das verspricht mehr Stabilität und Reserven abseits perfekter Straßen. Unterm Strich deutet sich ein Setup an, das Trackday-Fahrern ebenso entgegenkommt wie Stance-Fans: runter für die Show, hoch für den Heimweg.

Vorgesehen ist, dass an jeder Ecke Sensoren für Lenkwinkel, Beschleunigung und Federweg Daten liefern, woraufhin die Geometrie automatisch zur Fahrbahn passt. Ähnliche Ideen wurden zwar schon von Lamborghini erprobt, Subaru möchte den Ansatz jedoch näher an den Alltag holen. Sollte die Abstimmung so fein greifen wie skizziert, könnte das System die Bandbreite zwischen Präzision und Komfort spürbar erweitern.

Mutig ist das allemal, zugleich passt es zur Markenmischung aus Rallye-DNA und Alltagstauglichkeit. Bringt Subaru das Konzept in die Serie, könnte daraus ein echter Durchbruch werden – ein Fahrwerk, das unterschiedlichen Vorlieben gerecht wird und eine klügere Balance aus Kontrolle und Bequemlichkeit verspricht. Das wirkt weniger nach Showeffekt als nach einem überlegten Schritt mit Nutzen im täglichen Einsatz.