09:44 12-10-2025

Subaru patents a suspension that adjusts ride height and camber in motion

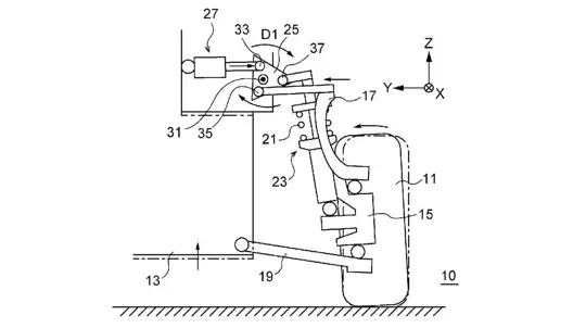
Subaru has once again surprised the industry by patenting a suspension system that can change both ride height and wheel camber at the same time—and do it while the car is moving. Filed under a patent titled Suspension device and vehicle, the design centers on an additional powered link mounted at the top of the strut. As the suspension compresses and rebounds, this link shifts the assembly’s position, adjusting body height and wheel angle in real time.

When the actuator shortens, the car sits lower, increasing negative camber and dropping the center of gravity. Extend it, and the body rises, delivering more ground clearance and stability. In effect, Subaru proposes a setup that speaks to track-day regulars and stance enthusiasts alike: lower it for the show, then raise it for the drive home.

Engineers envision each corner reading inputs from steering-angle, acceleration, and wheel-travel sensors, then automatically tuning the geometry to suit the surface. Lamborghini has tested similar ideas before, but Subaru aims to bring the concept within easier reach.

It’s a bold move that still fits the brand’s balance between rally roots and everyday use. If Subaru carries this through to production, the result could be a genuine breakthrough—a suspension that satisfies many tastes while promising a smarter blend of control and comfort.