09:47 12-10-2025

Suspensión inteligente de Subaru: altura y caída ajustables en marcha

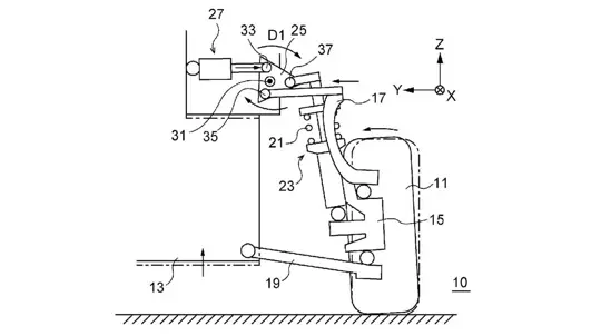
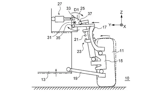
Subaru vuelve a mover el tablero con una suspensión capaz de variar a la vez la altura de la carrocería y la caída de las ruedas, y hacerlo en marcha. Registrada bajo la patente titulada “Suspension device and vehicle”, la solución se articula en un eslabón motorizado adicional situado en la parte superior del puntal. A medida que la suspensión comprime y rebota, ese enlace desplaza el conjunto y ajusta en tiempo real la altura del coche y el ángulo de las ruedas.

Cuando el actuador acorta su recorrido, el coche baja, aumenta la caída negativa (camber) y el centro de gravedad desciende. Al extenderse, la carrocería sube, gana altura libre al suelo y suma aplomo. En la práctica, Subaru plantea un sistema que habla tanto a los habituales de las tandas como a los aficionados al “stance”: bajarlo para lucirlo y volver a subirlo para el camino de regreso. Sobre el papel, resuelve esa vieja disputa entre estética y eficacia sin obligar a elegir.

Los ingenieros contemplan que cada rueda reciba señales de sensores de ángulo de dirección, aceleración y recorrido, y que la geometría se ajuste de forma automática según el firme. Lamborghini ya ha probado ideas en esta línea, pero Subaru aspira a acercar el concepto a un terreno más accesible, lo que, de lograrse, encajaría con un enfoque pragmático.

Es un paso ambicioso que, aun así, mantiene el equilibrio de la marca entre sus raíces de rally y el uso cotidiano. Si llega a producción, podría convertirse en un avance de verdad: una suspensión capaz de contentar gustos distintos y, al mismo tiempo, prometer una mezcla más inteligente de control y comodidad.