09:47 12-10-2025

Suspension active Subaru: garde au sol et carrossage ajustés en temps réel

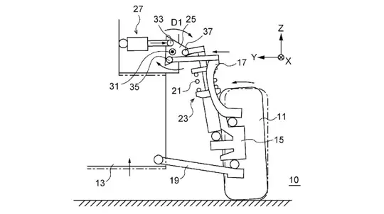
Subaru a de nouveau surpris le secteur en déposant un brevet pour un système de suspension capable de modifier simultanément la garde au sol et le carrossage des roues — et ce, alors que la voiture roule. Déposé sous l’intitulé « Suspension device and vehicle », le concept repose sur une biellette motorisée supplémentaire installée au sommet de la jambe de force. Au fil des phases de compression et de détente, cette biellette décale la position de l’ensemble, ajustant en temps réel la hauteur de caisse et l’angle des roues.

Quand l’actionneur se raccourcit, la voiture s’abaisse, accentue le carrossage négatif et abaisse son centre de gravité. Lorsqu’il s’étend, la caisse remonte, gagnant en garde au sol et en stabilité. En somme, Subaru imagine un dispositif qui parle autant aux habitués des track-days qu’aux adeptes du « stance »: on baisse pour le show, on relève pour le retour. Sur le papier, l’approche a du sens.

Les ingénieurs envisagent que chaque roue exploite les données de capteurs d’angle de braquage, d’accélération et de débattement, puis règle automatiquement la géométrie en fonction du revêtement. Lamborghini a déjà testé des idées similaires, mais Subaru veut en faciliter l’application.

C’est une initiative audacieuse qui s’inscrit pourtant dans l’équilibre de la marque entre racines rallye et usage quotidien. Si Subaru va jusqu’à la production, cela pourrait déboucher sur une véritable avancée: une suspension capable de satisfaire des envies multiples tout en promettant un mélange plus intelligent de contrôle et de confort.