09:56 12-10-2025

Subaru szabadalom: futómű, amely menet közben állítja a hasmagasságot és a kerékdőlést

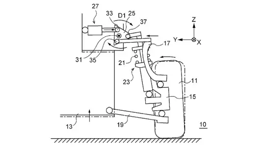
A Subaru ismét meglepte az autóipart: olyan futóművet szabadalmaztatott, amely egyszerre képes a hasmagasságot és a kerékdőlést változtatni – ráadásul menet közben. A Suspension device and vehicle című bejegyzés lényege egy plusz, motorosan működtetett összekötő elem, amely a rugóstag tetején kap helyet. Miközben a futómű összenyomódik és kirugózik, ez a kar eltolja a szerkezet pozícióját, így valós időben igazítja a karosszéria magasságát és a kerék szögét.

Ha a működtető egység rövidül, az autó lejjebb ül, nő a negatív dőlés és süllyed a súlypont. Ha megnyúlik, a karosszéria megemelkedik, több hasmagasságot és nyugalmasabb stabilitást adva. A Subaru tehát olyan felépítést vázol, amely egyszerre szól a pályanapok rendszeres látogatóinak és a „stance” rajongóinak: a kiállításra lejjebb, a hazafelé útra magasabbra.

A mérnökök szerint minden sarok a kormányzási szögből, a gyorsulásból és a rugóútból érkező jeleket olvassa, majd a burkolathoz igazítva automatikusan hangolja a geometriát. Hasonló elgondolásokkal már kísérletezett a Lamborghini is, a Subaru viszont közelebb vinné a koncepciót a könnyebben elérhető valósághoz.

Merész lépés ez, mégis illik a márka ralis gyökerei és a mindennapi használhatóság közötti egyensúlyához. Papíron pontosan azt a rugalmasságot hozza, amit a mai vezetők keresnek: látványt és funkcionalitást egy csomagban. Ha a Subaru végigviszi a sorozatgyártásig, könnyen lehet belőle valódi áttörés – egy olyan futómű, amely sokféle igényt kiszolgál, és okosabban vegyíti a kontrollt a kényelemmel.