09:51 12-10-2025

Subaru’s nieuwe ophanging past rijhoogte en wielvlucht dynamisch aan

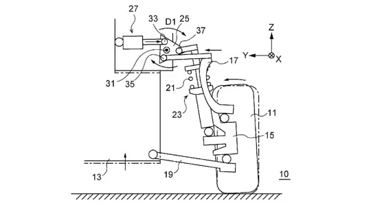
Subaru verrast de industrie opnieuw met een gepatenteerd veersysteem dat tegelijk de rijhoogte en de wielvlucht kan wijzigen — en dat terwijl de auto rijdt. In de patentaanvraag met de titel Suspension device and vehicle draait het om een extra, aangedreven schakelstang boven op de veerpoot. Bij in- en uitveren verplaatst die stang de positie van het geheel, waardoor carrosseriehoogte en wielhoek direct worden bijgesteld.

Krimpt de actuator, dan zakt de auto omlaag, neemt de negatieve wielvlucht toe en daalt het zwaartepunt. Wordt hij verlengd, dan komt de carrosserie hoger te staan, met meer bodemvrijheid en extra stabiliteit als gevolg. Het idee voelt verrassend logisch: een opzet die zowel de trackday-ganger als de stance-liefhebber aanspreekt — laag voor de show, hoger voor de rit naar huis.

De ingenieurs voorzien dat elke wielhoek signalen leest van stuurhoeksensoren, versnelling- en veerweg-sensoren, en vervolgens de geometrie automatisch afstemt op het wegdek. Lamborghini experimenteerde eerder met vergelijkbare gedachten, maar Subaru wil het concept dichter binnen handbereik brengen.

Het is een gedurfde stap die toch past bij de merkbalans tussen rallywortels en dagelijkse bruikbaarheid. Als Subaru dit naar productie trekt, kan het uitgroeien tot een echte doorbraak: een ophanging die verschillende smaken bedient en tegelijk inzet op een slimmer evenwicht tussen controle en comfort.