10:00 12-10-2025

Suspensão da Subaru ajusta altura e cambagem em tempo real

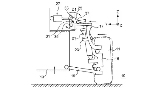
A Subaru voltou a surpreender o setor ao patentear um sistema de suspensão capaz de alterar, ao mesmo tempo, a altura em relação ao solo e a cambagem das rodas — e fazer isso com o carro em movimento. Registrado sob o título “Dispositivo de suspensão e veículo”, o projeto gira em torno de um elo adicional motorizado instalado no topo do conjunto do amortecedor. À medida que a suspensão comprime e retorna, esse elo desloca a posição do conjunto, ajustando a altura da carroceria e o ângulo das rodas em tempo real.

Quando o atuador encurta, o carro baixa, aumenta a cambagem negativa e reduz o centro de gravidade. Ao estendê-lo, a carroceria sobe, garantindo mais vão livre e estabilidade. Na prática, a Subaru propõe um arranjo que conversa tanto com quem frequenta track days quanto com fãs de stance: baixa para a vitrine e eleva para a volta para casa. A ideia acerta ao unir apelo visual e funcionalidade sem exigir concessões permanentes.

Os engenheiros vislumbram cada roda lendo sinais de sensores de ângulo de direção, aceleração e curso da suspensão para, então, ajustar automaticamente a geometria ao tipo de piso. A Lamborghini já experimentou conceitos parecidos, mas a Subaru mira torná-los mais ao alcance. Em tese, uma leitura tão fina tende a deixar o carro mais coerente em diferentes condições, algo raro quando se mexe em altura e cambagem ao mesmo tempo.

É um movimento ousado que ainda se alinha ao equilíbrio da marca entre raízes de rali e uso diário. Se a Subaru levar a solução à produção, o resultado pode ser um avanço real: uma suspensão capaz de agradar a públicos distintos e de oferecer uma mistura mais inteligente de controle e conforto — e, se cumprir o que promete, mexer no sarrafo da categoria.