09:57 12-10-2025

Suspensia brevetată de Subaru ajustează în mers garda la sol și unghiul de cădere

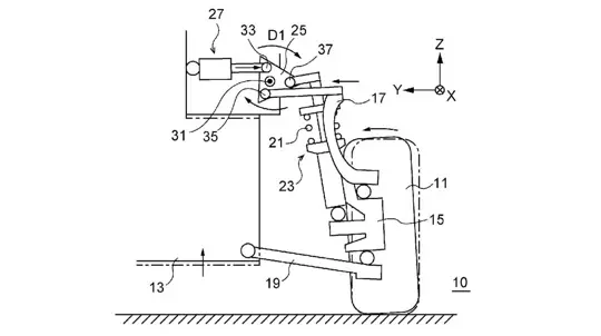
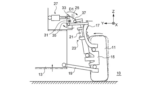
Subaru a surprins din nou industria, brevetând un sistem de suspensie capabil să modifice simultan garda la sol și unghiul de cădere al roților — și să o facă în mers. Depus sub titlul de brevet „Suspension device and vehicle”, conceptul se bazează pe o legătură suplimentară acționată, montată în partea superioară a amortizorului. Pe măsură ce suspensia se comprimă și revine, această legătură deplasează poziția ansamblului, ajustând în timp real înălțimea caroseriei și unghiul roților. Ideea nu urmărește doar efectul vizual, ci mută accentul pe geometrie, acolo unde se câștigă controlul.

Când actuatorul se scurtează, mașina coboară, căderea negativă crește, iar centrul de greutate se reduce. Când acesta se extinde, caroseria urcă, oferind mai multă gardă la sol și stabilitate. În esență, Subaru propune o soluție care îi atrage deopotrivă pe cei care merg des pe circuit și pe amatorii de „stance”: o cobori pentru spectacol, o ridici pentru drumul spre casă. Promisiunea este limpede: un singur mecanism pentru extreme, fără a rupe firul logic al utilizării zilnice.

Inginerii își imaginează că fiecare roată va citi datele de la senzorii de unghi al direcției, accelerație și cursă a roții, apoi va ajusta automat geometria în funcție de suprafață. Lamborghini a testat idei similare în trecut, însă Subaru pare să vizeze o versiune mai la îndemână. Abordarea are sens: dacă sistemul interpretează corect ce se întâmplă sub roți, mecanica poate lucra discret în favoarea șoferului.

Este un pariu curajos, dar în linie cu echilibrul mărcii între rădăcinile de raliu și utilizarea de zi cu zi. Dacă Subaru duce proiectul în producție, rezultatul ar putea fi un adevărat pas înainte: o suspensie capabilă să împace gusturi diferite și să promită un amestec mai inteligent între control și confort. Ar fi genul de inovație care nu caută artificii, ci flexibilitate atunci când contează.