Mercedes-Benz patents palm-vein biometric car access
Mercedes-Benz patent brings palm-vein biometrics to car access
Mercedes-Benz patents palm-vein biometric car access
Mercedes-Benz details a patent for palm-vein biometric car access using infrared scanner and low-power sensors, encrypting data and limiting EV range impact.
2025-12-24T11:08:38+03:00
2025-12-24T11:08:38+03:00
2025-12-24T11:08:38+03:00
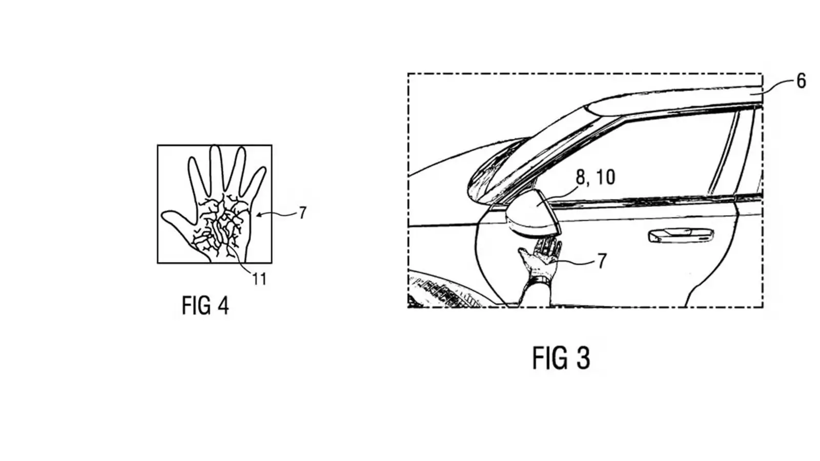
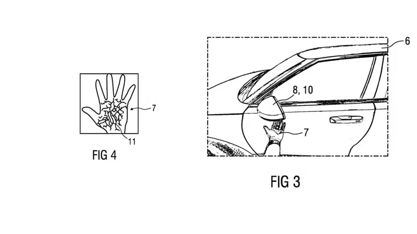
Mercedes-Benz may turn access to a car into a bit of sleight of hand: instead of a key or a smartphone, just a palm. A recently published patent outlines a system where an infrared camera reads the vein pattern in a hand and then uses biometrics to decide whether to unlock the doors and start the vehicle.The concept isn’t new to the market—some brands already offer fingerprint readers or facial recognition—but Mercedes is zeroing in on something else: lower energy consumption.According to the document, many biometric solutions draw noticeable power, which could theoretically nibble away at an electric car’s range. To counter that, the German engineers suggest keeping the scanner in sleep mode and waking it only when someone approaches. A “live body” sensor would detect changes in static electricity around the car, distinguishing a person from an inanimate object. Once activated, the scanner would quickly read the palm, and the data would be stored encrypted inside the vehicle rather than sent over a network.The module could be placed in a body pillar or beneath a mirror, though in day-to-day use that gesture might not be the most convenient—especially on a large SUV. As a technology flourish, however, it sounds striking.Convenience is welcome, but only if the system works without fuss in cold, rain, and with gloves; otherwise, the trusty key fob may still prove quicker.
Mercedes-Benz, palm vein biometrics, biometric car access, infrared scanner, patent, low-power sensors, live body sensor, encrypted data, EV range, door unlock, vehicle start
2025
Michael Powers
news
Mercedes-Benz patent brings palm-vein biometrics to car access
Mercedes-Benz details a patent for palm-vein biometric car access using infrared scanner and low-power sensors, encrypting data and limiting EV range impact.
Michael Powers, Editor
Mercedes-Benz may turn access to a car into a bit of sleight of hand: instead of a key or a smartphone, just a palm. A recently published patent outlines a system where an infrared camera reads the vein pattern in a hand and then uses biometrics to decide whether to unlock the doors and start the vehicle.
The concept isn’t new to the market—some brands already offer fingerprint readers or facial recognition—but Mercedes is zeroing in on something else: lower energy consumption.
According to the document, many biometric solutions draw noticeable power, which could theoretically nibble away at an electric car’s range. To counter that, the German engineers suggest keeping the scanner in sleep mode and waking it only when someone approaches. A “live body” sensor would detect changes in static electricity around the car, distinguishing a person from an inanimate object. Once activated, the scanner would quickly read the palm, and the data would be stored encrypted inside the vehicle rather than sent over a network.
The module could be placed in a body pillar or beneath a mirror, though in day-to-day use that gesture might not be the most convenient—especially on a large SUV. As a technology flourish, however, it sounds striking.
Convenience is welcome, but only if the system works without fuss in cold, rain, and with gloves; otherwise, the trusty key fob may still prove quicker.