Nissan patents innovative SUV tailgate design for tight spaces
Nissan's new tailgate design lifts and rotates for urban convenience
Nissan patents innovative SUV tailgate design for tight spaces
Nissan patents a double lever tailgate that lifts vertically and lies flat on the roof, reducing swing in narrow spaces. Learn about its advantages and limitations.
2026-02-22T03:21:18+03:00
2026-02-22T03:21:18+03:00
2026-02-22T03:21:18+03:00
Nissan is rethinking one of the most familiar SUV features: the tailgate. A patent discovered by SPEEDME journalists in the USPTO database describes a mechanism that replaces traditional hinges with a double lever system. When opened, the door lifts almost vertically, then rotates and lies flat on the vehicle's roof. This eliminates the characteristic wide swing of a conventional hatch, making the design especially convenient in narrow garages, parking spots, or tight urban spaces.The advantage is clear: the cargo door no longer swings out and restricts access, and the driver doesn't have to duck under an overhanging panel when loading bulky items. However, engineers see a downside. The design requires clear space on the roof, which rules out using classic roof racks, cargo boxes, or tents—all popular accessories among crossover owners today.There are also durability concerns. The mechanism is more complex than standard hinges, involving multiple links, precise trajectories, and strict geometry requirements. This increases production costs and could raise the risk of panel misalignment or poor fit over time. The system also needs more vertical clearance when fully open—a limitation relevant for underground parking.Despite the idea's originality, the patent doesn't guarantee this mechanism will appear on production models. Automakers often register forward-looking solutions to protect intellectual property without intending to put them into production. But the concept itself shows Nissan is exploring new ways to optimize everyday SUV use—and isn't afraid to experiment where many consider the problem already solved.
Nissan patents a double lever tailgate that lifts vertically and lies flat on the roof, reducing swing in narrow spaces. Learn about its advantages and limitations.
Michael Powers, Editor
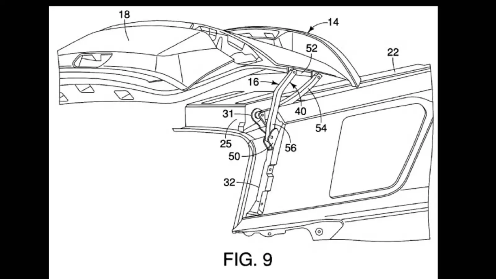
Nissan is rethinking one of the most familiar SUV features: the tailgate. A patent discovered by SPEEDME journalists in the USPTO database describes a mechanism that replaces traditional hinges with a double lever system. When opened, the door lifts almost vertically, then rotates and lies flat on the vehicle's roof. This eliminates the characteristic wide swing of a conventional hatch, making the design especially convenient in narrow garages, parking spots, or tight urban spaces.
The advantage is clear: the cargo door no longer swings out and restricts access, and the driver doesn't have to duck under an overhanging panel when loading bulky items. However, engineers see a downside. The design requires clear space on the roof, which rules out using classic roof racks, cargo boxes, or tents—all popular accessories among crossover owners today.
There are also durability concerns. The mechanism is more complex than standard hinges, involving multiple links, precise trajectories, and strict geometry requirements. This increases production costs and could raise the risk of panel misalignment or poor fit over time. The system also needs more vertical clearance when fully open—a limitation relevant for underground parking.
Despite the idea's originality, the patent doesn't guarantee this mechanism will appear on production models. Automakers often register forward-looking solutions to protect intellectual property without intending to put them into production. But the concept itself shows Nissan is exploring new ways to optimize everyday SUV use—and isn't afraid to experiment where many consider the problem already solved.