Mercedes-Benz patents innovative door and roof opening system for easier entry
Mercedes-Benz's new patent redefines car doors with roof integration
Mercedes-Benz patents innovative door and roof opening system for easier entry
Mercedes-Benz has patented a system that opens the roof along with doors to ease entry, using multiple hinges to minimize height and obstructions for premium models.
2026-03-18T04:27:19+03:00
2026-03-18T04:27:19+03:00
2026-03-18T04:27:19+03:00
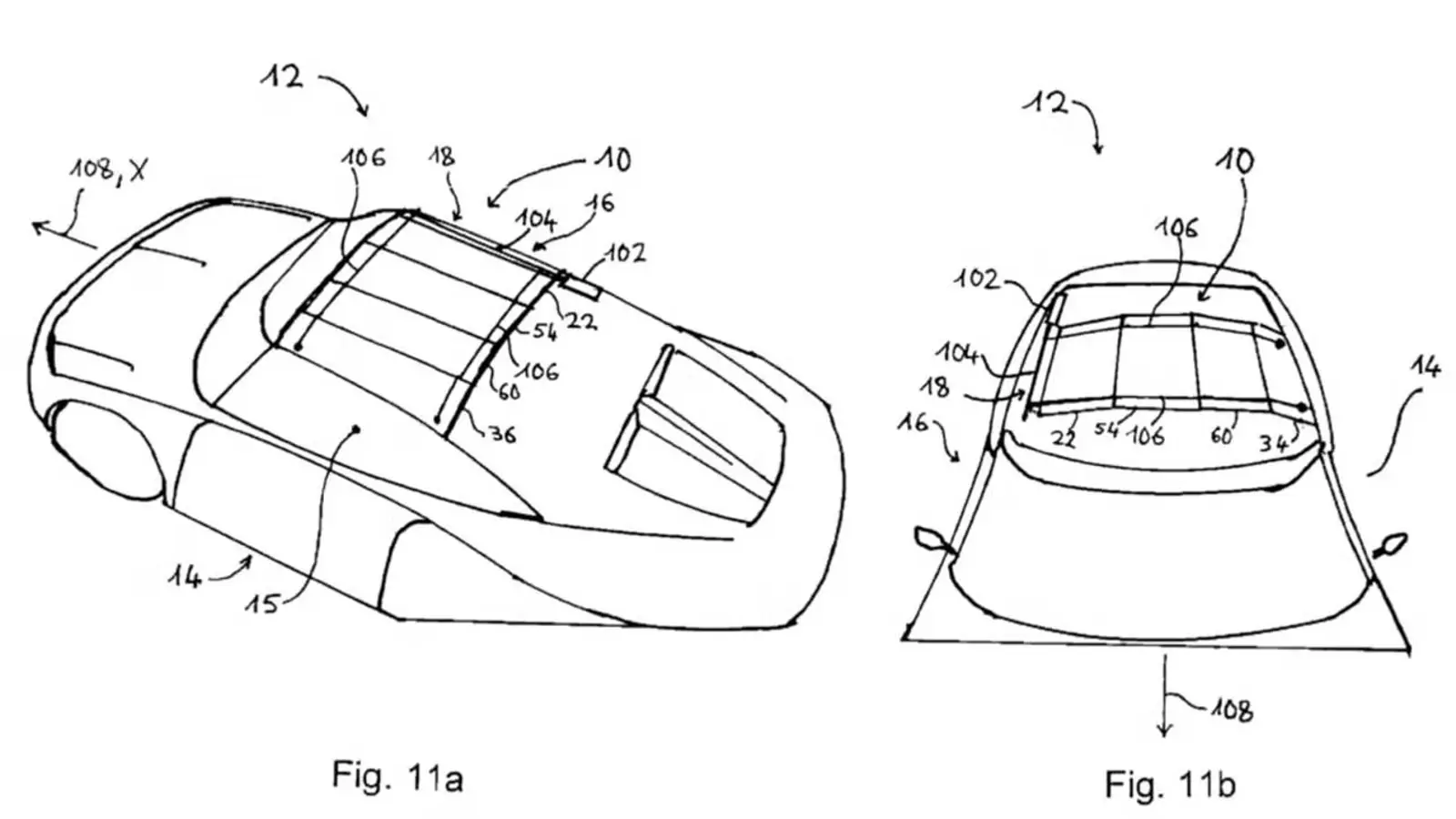
Mercedes-Benz is continuing to innovate with body architecture, having patented a new system that redefines conventional car doors. This involves a roof structure that opens along with the doors to ease entry and exit.The technology uses multiple hinges to lift roof sections upward when the doors are opened. Unlike existing solutions that rely on a single large panel or central hinge, this new design minimizes the opening height and removes overhead obstructions.Similar approaches have appeared in concept cars and specific models, including Chinese electric vehicles and Rolls-Royce projects, but they had limitations—either a central pillar interfered with access or the roof rose too high.Mercedes' patent proposes a combined solution with multiple attachment points. This allows flexible control over the opening geometry and adapts the system to various body types, from sports coupes to premium models and even robotaxis. The main drawback is high complexity, with more moving parts, stricter sealing requirements, and increased production costs.However, for the premium segment, this isn't a deal-breaker. Mercedes already has experience implementing intricate designs, such as gullwing doors and folding hardtops.For now, this is just a patent, but such features could emerge in future high-end models from the brand, where ease of entry and striking design are key priorities.
Mercedes-Benz, car door patent, roof opening system, innovative doors, premium automotive technology, entry and exit ease, automotive innovation
2026
Michael Powers
news
Mercedes-Benz's new patent redefines car doors with roof integration
Mercedes-Benz has patented a system that opens the roof along with doors to ease entry, using multiple hinges to minimize height and obstructions for premium models.
Michael Powers, Editor
Mercedes-Benz is continuing to innovate with body architecture, having patented a new system that redefines conventional car doors. This involves a roof structure that opens along with the doors to ease entry and exit.
The technology uses multiple hinges to lift roof sections upward when the doors are opened. Unlike existing solutions that rely on a single large panel or central hinge, this new design minimizes the opening height and removes overhead obstructions.
Similar approaches have appeared in concept cars and specific models, including Chinese electric vehicles and Rolls-Royce projects, but they had limitations—either a central pillar interfered with access or the roof rose too high.
Mercedes' patent proposes a combined solution with multiple attachment points. This allows flexible control over the opening geometry and adapts the system to various body types, from sports coupes to premium models and even robotaxis. The main drawback is high complexity, with more moving parts, stricter sealing requirements, and increased production costs.
However, for the premium segment, this isn't a deal-breaker. Mercedes already has experience implementing intricate designs, such as gullwing doors and folding hardtops.
For now, this is just a patent, but such features could emerge in future high-end models from the brand, where ease of entry and striking design are key priorities.