Subaru patentoi jousituksen: camber ja ajokorkeus liikkeessä
Uusi Subaru-patentti säätää camberin ja ajokorkeuden reaaliajassa
Subaru patentoi jousituksen: camber ja ajokorkeus liikkeessä
Subaru patentoi jousituksen, joka säätää camberin ja ajokorkeuden reaaliajassa antureiden avulla. Luvassa parempi hallinta ja mukavuus radalle ja arkeen.
2025-10-12T09:54:00+03:00
2025-10-12T09:54:00+03:00
2025-10-12T09:54:00+03:00
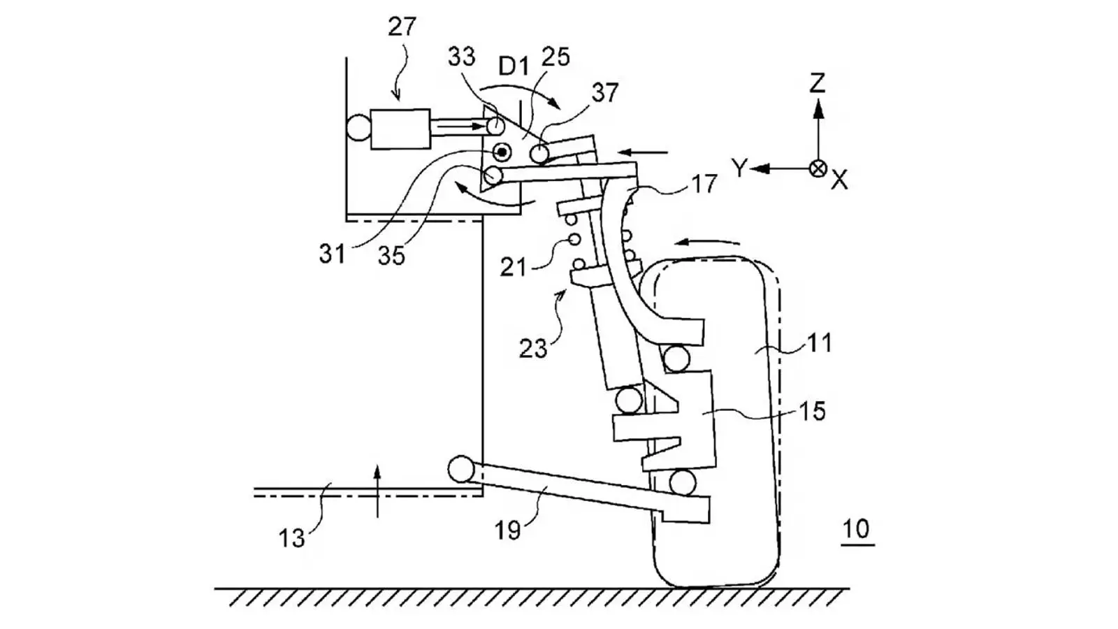
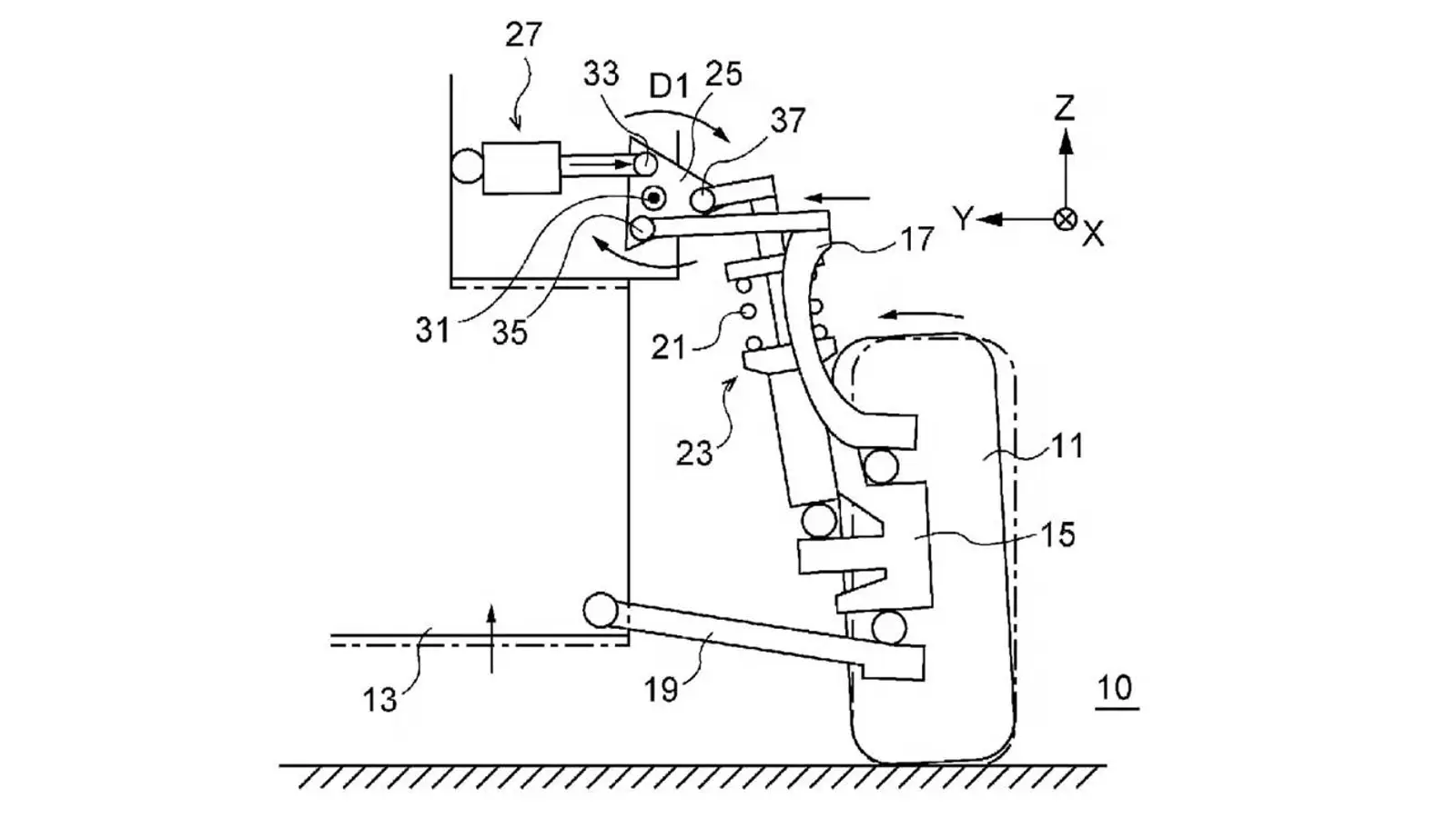
Subaru on taas yllättänyt alan patentoimalla jousituksen, joka muuttaa yhtä aikaa ajokorkeutta ja pyörän camber-kulmaa – vieläpä liikkeessä. Patentti kulkee nimellä Suspension device and vehicle, ja sen ydin on iskunvaimentimen yläpäähän asennettu, käyttövoimalla toimiva lisälinkki. Kun jousitus painuu kasaan ja palautuu, tämä linkki siirtää kokonaisuuden asentoa, jolloin korin korkeutta ja pyörän kulmaa säädetään reaaliajassa.Kun toimilaite lyhenee, auto laskee, negatiivinen camber kasvaa ja painopiste putoaa. Kun se pitenee, kori nousee, tarjolla on enemmän maavaraa ja vakautta. Käytännössä Subaru luonnostelee ratkaisun, joka puhuttelee sekä ratapäivien vakikävijöitä että stance-tyylin ystäviä: madalla näytöstä varten, nosta takaisin kotimatkalle. Paperilla tämä lähestymistapa vaikuttaa järkevältä: sama liike muokkaa sekä ulkonäköä että ajotuntumaa.Ajatuksena on, että auton jokainen nurkka lukisi ohjauskulma-, kiihtyvyys- ja joustomatkan antureita ja säätäisi geometrian automaattisesti alustan mukaan. Lamborghini on testannut samansuuntaisia ideoita aiemmin, mutta Subaru tähtää siihen, että konsepti olisi helpommin ulottuvilla.Rohkea veto istuu silti merkin rallijuurien ja arjen käytettävyyden väliseen tasapainoon. Jos Subaru vie idean sarjatuotantoon, tuloksena voisi olla todellinen läpimurto – jousitus, joka miellyttää monia makuja ja lupaa fiksumman yhdistelmän hallintaa ja mukavuutta.
Subaru patentoi jousituksen, joka säätää camberin ja ajokorkeuden reaaliajassa antureiden avulla. Luvassa parempi hallinta ja mukavuus radalle ja arkeen.
Michael Powers, Editor
Subaru on taas yllättänyt alan patentoimalla jousituksen, joka muuttaa yhtä aikaa ajokorkeutta ja pyörän camber-kulmaa – vieläpä liikkeessä. Patentti kulkee nimellä Suspension device and vehicle, ja sen ydin on iskunvaimentimen yläpäähän asennettu, käyttövoimalla toimiva lisälinkki. Kun jousitus painuu kasaan ja palautuu, tämä linkki siirtää kokonaisuuden asentoa, jolloin korin korkeutta ja pyörän kulmaa säädetään reaaliajassa.
Kun toimilaite lyhenee, auto laskee, negatiivinen camber kasvaa ja painopiste putoaa. Kun se pitenee, kori nousee, tarjolla on enemmän maavaraa ja vakautta. Käytännössä Subaru luonnostelee ratkaisun, joka puhuttelee sekä ratapäivien vakikävijöitä että stance-tyylin ystäviä: madalla näytöstä varten, nosta takaisin kotimatkalle. Paperilla tämä lähestymistapa vaikuttaa järkevältä: sama liike muokkaa sekä ulkonäköä että ajotuntumaa.
Ajatuksena on, että auton jokainen nurkka lukisi ohjauskulma-, kiihtyvyys- ja joustomatkan antureita ja säätäisi geometrian automaattisesti alustan mukaan. Lamborghini on testannut samansuuntaisia ideoita aiemmin, mutta Subaru tähtää siihen, että konsepti olisi helpommin ulottuvilla.
Rohkea veto istuu silti merkin rallijuurien ja arjen käytettävyyden väliseen tasapainoon. Jos Subaru vie idean sarjatuotantoon, tuloksena voisi olla todellinen läpimurto – jousitus, joka miellyttää monia makuja ja lupaa fiksumman yhdistelmän hallintaa ja mukavuutta.