Subaru brevetta sospensione che regola altezza e campanatura
Nuovo brevetto Subaru: sospensione che regola altezza da terra e campanatura in marcia
Subaru brevetta sospensione che regola altezza e campanatura
Subaru brevetta una sospensione attiva che regola in marcia altezza da terra e campanatura: più controllo e comfort, assetto per pista e città con sensori.
2025-10-12T09:48:58+03:00
2025-10-12T09:48:58+03:00
2025-10-12T09:48:58+03:00
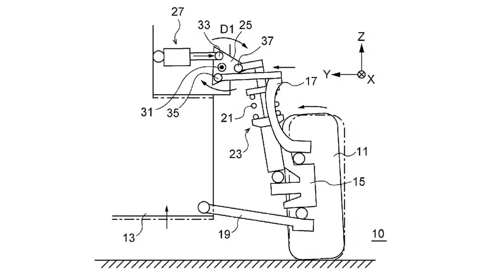
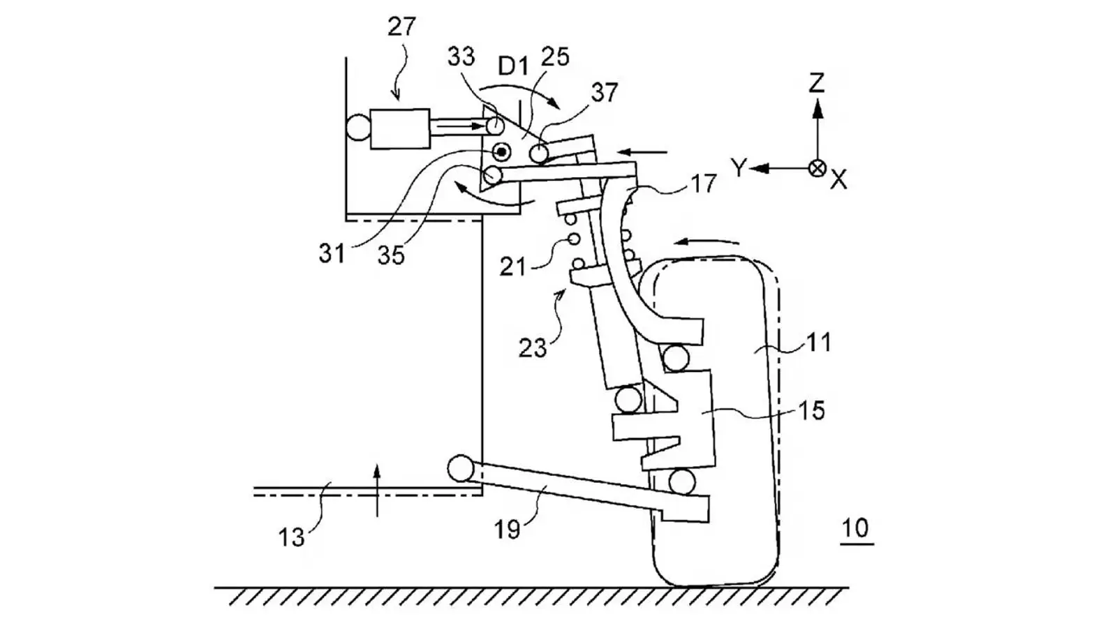
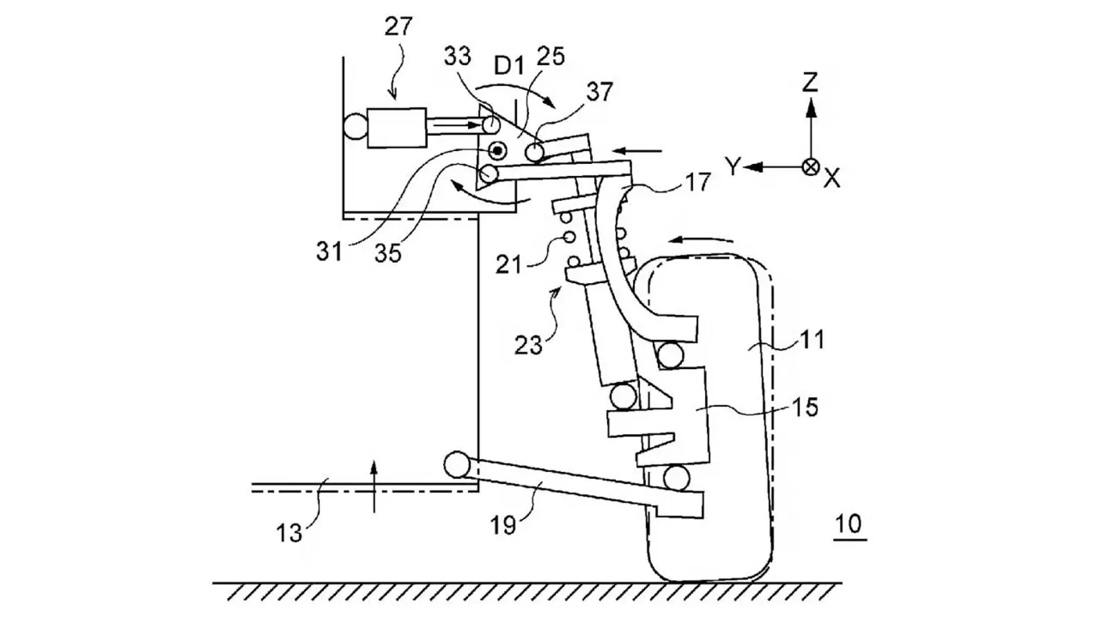
Subaru sorprende di nuovo il settore con un brevetto per una sospensione capace di modificare in simultanea l’altezza da terra e la campanatura, e di farlo anche durante la marcia. Depositato con il titolo Suspension device and vehicle, il progetto ruota attorno a un tirante attivo supplementare montato nella parte superiore del montante. Mentre l’assetto comprime e si estende, questo elemento sposta la posizione del gruppo sospensivo, ritoccando in tempo reale la quota della carrozzeria e l’angolo delle ruote.Quando l’attuatore si accorcia, l’auto si abbassa, cresce la campanatura negativa e si riduce il baricentro. Allungandolo, la scocca sale, con più luce a terra e stabilità. In pratica, Subaru mette sul tavolo un sistema che parla sia ai frequentatori dei track day sia agli amanti dello stance: lo si abbassa per fare scena, lo si rialza per il rientro su strade normali.Gli ingegneri ipotizzano che ogni ruota legga i segnali dei sensori di angolo di sterzo, accelerazione e corsa ruota, per poi regolare automaticamente la geometria in base al fondo. Lamborghini ha già messo alla prova idee simili, ma l’obiettivo di Subaru è renderle più alla portata.È una scelta coraggiosa che resta in linea con l’equilibrio del marchio tra radici rally e impiego quotidiano. Se questa soluzione approdasse in produzione, il risultato potrebbe essere un vero passo avanti: una sospensione capace di accontentare gusti diversi e di promettere un mix più intelligente di controllo e comfort. Sulla carta, un dispositivo così potrebbe rendere la guida più duttile e intuitiva senza snaturare quel carattere meccanico che gli appassionati cercano.
Subaru brevetta una sospensione attiva che regola in marcia altezza da terra e campanatura: più controllo e comfort, assetto per pista e città con sensori.
Michael Powers, Editor
Subaru sorprende di nuovo il settore con un brevetto per una sospensione capace di modificare in simultanea l’altezza da terra e la campanatura, e di farlo anche durante la marcia. Depositato con il titolo Suspension device and vehicle, il progetto ruota attorno a un tirante attivo supplementare montato nella parte superiore del montante. Mentre l’assetto comprime e si estende, questo elemento sposta la posizione del gruppo sospensivo, ritoccando in tempo reale la quota della carrozzeria e l’angolo delle ruote.
Quando l’attuatore si accorcia, l’auto si abbassa, cresce la campanatura negativa e si riduce il baricentro. Allungandolo, la scocca sale, con più luce a terra e stabilità. In pratica, Subaru mette sul tavolo un sistema che parla sia ai frequentatori dei track day sia agli amanti dello stance: lo si abbassa per fare scena, lo si rialza per il rientro su strade normali.
Gli ingegneri ipotizzano che ogni ruota legga i segnali dei sensori di angolo di sterzo, accelerazione e corsa ruota, per poi regolare automaticamente la geometria in base al fondo. Lamborghini ha già messo alla prova idee simili, ma l’obiettivo di Subaru è renderle più alla portata.
È una scelta coraggiosa che resta in linea con l’equilibrio del marchio tra radici rally e impiego quotidiano. Se questa soluzione approdasse in produzione, il risultato potrebbe essere un vero passo avanti: una sospensione capace di accontentare gusti diversi e di promettere un mix più intelligente di controllo e comfort. Sulla carta, un dispositivo così potrebbe rendere la guida più duttile e intuitiva senza snaturare quel carattere meccanico che gli appassionati cercano.