Следи за скоростью
16+

Оптимус Nissan Прайм: японцы додумались до того, до чего никто не догадался до сих пор

Оптимус Nissan Прайм: японцы додумались до того, до чего никто не догадался до сих пор © uspto.gov
Nissan разрабатывает новую схему открывания двери багажника для тесных пространств
Полина Котикова

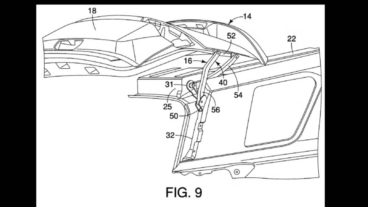
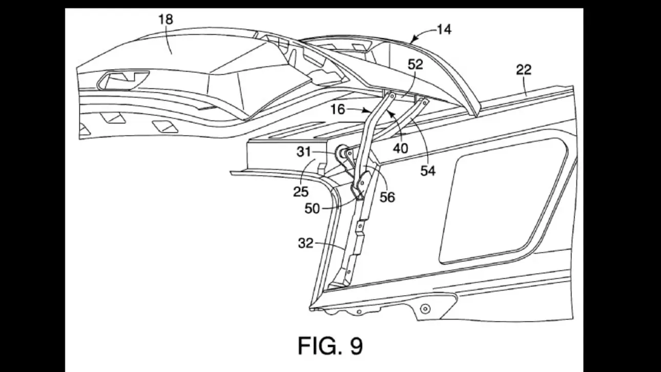
Nissan предлагает нестандартное решение для одного из самых привычных элементов SUV — задней двери. Патент, обнаруженный журналистами SPEEDME в базе USPTO, описывает механизм, который заменяет традиционные петли двойной системой рычагов. При открытии дверь поднимается почти вертикально, затем поворачивается и ложится на крышу автомобиля. Это устраняет характерный широкий «размах» обычного люка и делает конструкцию особенно удобной в узких гаражах, парковках или при плотной городской стоянке.

Преимущество очевидно: багажная дверь больше не выносится назад и не ограничивает доступ, а водитель не вынужден наклоняться под нависающей створкой при загрузке крупногабаритных вещей. Однако инженеры видят и обратную сторону. Конструкция требует свободного пространства на крыше, что делает невозможным использование классических багажных систем, боксов или палаток — всё, что сегодня массово используют владельцы кроссоверов.

патент Nissan
© uspto.gov

Есть и вопросы по устойчивости. Механизм сложнее обычных петель: многозвенники, точные траектории, жёсткие требования к геометрии. Это удорожает производство и может повысить риск расхождения панелей или нарушения сопряжений со временем. Также система требует больше вертикального пространства при полном открытии — ограничение, актуальное для подземных стоянок.

Несмотря на оригинальность идеи, патент никак не означает, что подобный механизм появится на серийных моделях. Автопроизводители нередко регистрируют перспективные решения для защиты интеллектуальной собственности, не намереваясь запускать их в производство. Но сама концепция показывает, что Nissan ищет новые способы оптимизации повседневного использования SUV — и не боится экспериментировать там, где многие считают задачу давно решённой.

Поделиться новостью