Subaru patenteia suspensão que ajusta altura e cambagem
Suspensão da Subaru ajusta altura e cambagem em tempo real
Subaru patenteia suspensão que ajusta altura e cambagem
Subaru patenteia suspensão que ajusta, em movimento, a altura do solo e a cambagem das rodas, unindo desempenho e conforto com ajustes automáticos via sensores.
2025-10-12T10:00:01+03:00
2025-10-12T10:00:01+03:00
2025-10-12T10:00:01+03:00
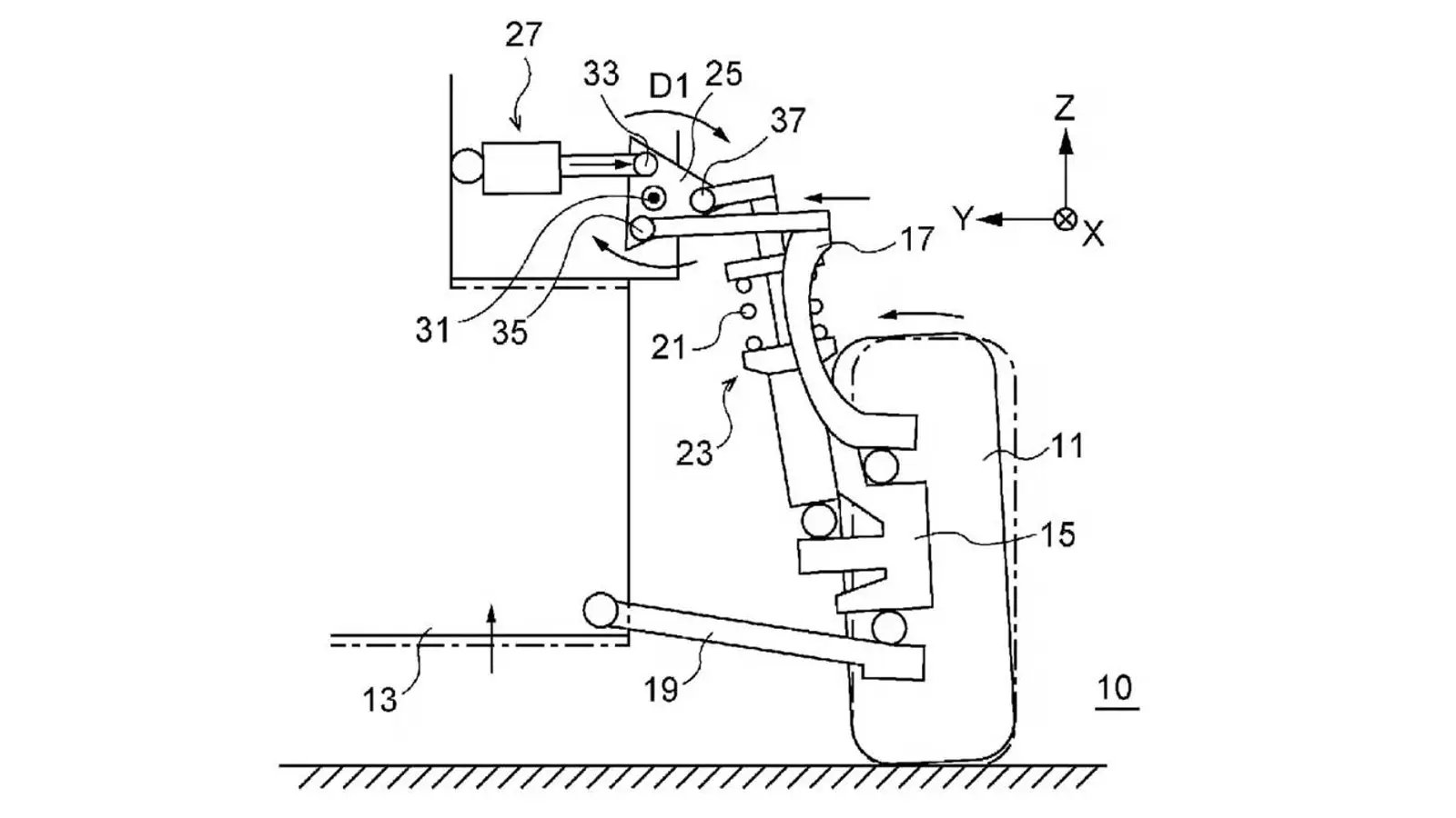
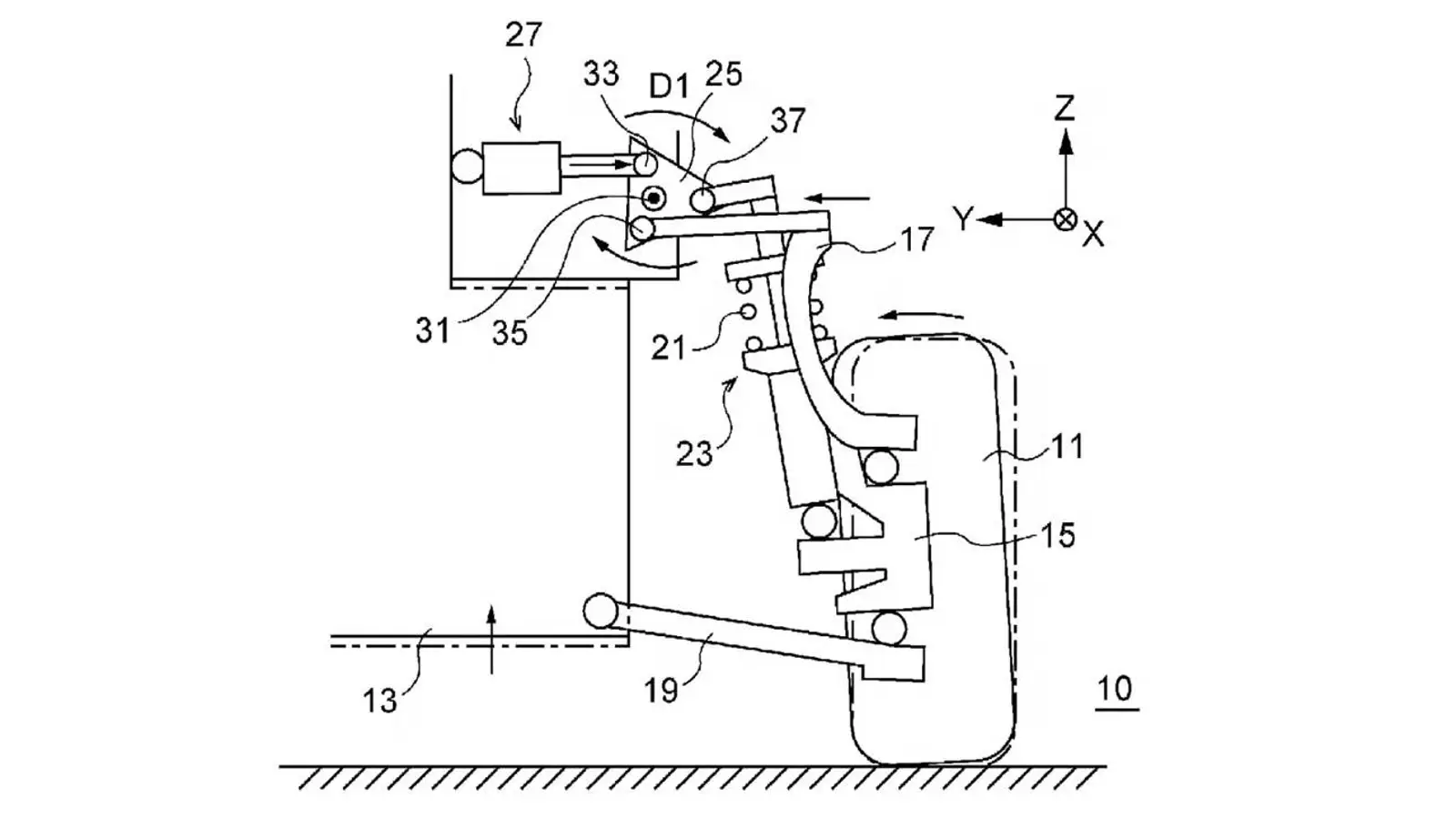
A Subaru voltou a surpreender o setor ao patentear um sistema de suspensão capaz de alterar, ao mesmo tempo, a altura em relação ao solo e a cambagem das rodas — e fazer isso com o carro em movimento. Registrado sob o título “Dispositivo de suspensão e veículo”, o projeto gira em torno de um elo adicional motorizado instalado no topo do conjunto do amortecedor. À medida que a suspensão comprime e retorna, esse elo desloca a posição do conjunto, ajustando a altura da carroceria e o ângulo das rodas em tempo real.Quando o atuador encurta, o carro baixa, aumenta a cambagem negativa e reduz o centro de gravidade. Ao estendê-lo, a carroceria sobe, garantindo mais vão livre e estabilidade. Na prática, a Subaru propõe um arranjo que conversa tanto com quem frequenta track days quanto com fãs de stance: baixa para a vitrine e eleva para a volta para casa. A ideia acerta ao unir apelo visual e funcionalidade sem exigir concessões permanentes.Os engenheiros vislumbram cada roda lendo sinais de sensores de ângulo de direção, aceleração e curso da suspensão para, então, ajustar automaticamente a geometria ao tipo de piso. A Lamborghini já experimentou conceitos parecidos, mas a Subaru mira torná-los mais ao alcance. Em tese, uma leitura tão fina tende a deixar o carro mais coerente em diferentes condições, algo raro quando se mexe em altura e cambagem ao mesmo tempo.É um movimento ousado que ainda se alinha ao equilíbrio da marca entre raízes de rali e uso diário. Se a Subaru levar a solução à produção, o resultado pode ser um avanço real: uma suspensão capaz de agradar a públicos distintos e de oferecer uma mistura mais inteligente de controle e conforto — e, se cumprir o que promete, mexer no sarrafo da categoria.
Subaru, suspensão ajustável, altura do solo, cambagem, sistema patenteado, ajuste em movimento, tempo real, sensores, track day, stance, estabilidade, conforto, desempenho, tecnologia automotiva
2025
Michael Powers
news
Suspensão da Subaru ajusta altura e cambagem em tempo real
Subaru patenteia suspensão que ajusta, em movimento, a altura do solo e a cambagem das rodas, unindo desempenho e conforto com ajustes automáticos via sensores.
Michael Powers, Editor
A Subaru voltou a surpreender o setor ao patentear um sistema de suspensão capaz de alterar, ao mesmo tempo, a altura em relação ao solo e a cambagem das rodas — e fazer isso com o carro em movimento. Registrado sob o título “Dispositivo de suspensão e veículo”, o projeto gira em torno de um elo adicional motorizado instalado no topo do conjunto do amortecedor. À medida que a suspensão comprime e retorna, esse elo desloca a posição do conjunto, ajustando a altura da carroceria e o ângulo das rodas em tempo real.
Quando o atuador encurta, o carro baixa, aumenta a cambagem negativa e reduz o centro de gravidade. Ao estendê-lo, a carroceria sobe, garantindo mais vão livre e estabilidade. Na prática, a Subaru propõe um arranjo que conversa tanto com quem frequenta track days quanto com fãs de stance: baixa para a vitrine e eleva para a volta para casa. A ideia acerta ao unir apelo visual e funcionalidade sem exigir concessões permanentes.
Os engenheiros vislumbram cada roda lendo sinais de sensores de ângulo de direção, aceleração e curso da suspensão para, então, ajustar automaticamente a geometria ao tipo de piso. A Lamborghini já experimentou conceitos parecidos, mas a Subaru mira torná-los mais ao alcance. Em tese, uma leitura tão fina tende a deixar o carro mais coerente em diferentes condições, algo raro quando se mexe em altura e cambagem ao mesmo tempo.
É um movimento ousado que ainda se alinha ao equilíbrio da marca entre raízes de rali e uso diário. Se a Subaru levar a solução à produção, o resultado pode ser um avanço real: uma suspensão capaz de agradar a públicos distintos e de oferecer uma mistura mais inteligente de controle e conforto — e, se cumprir o que promete, mexer no sarrafo da categoria.