09:53 12-10-2025

Aktiv Subaru-fjädring justerar camber och markfrigång i realtid

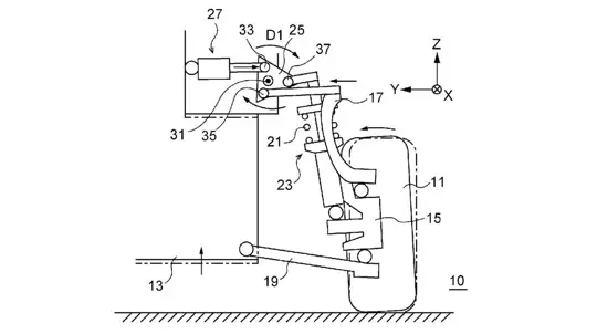
Subaru överraskar branschen igen genom att söka patent på en fjädringslösning som kan ändra både markfrigång och hjulens camber samtidigt — och göra det under färd. I en patentansökan med titeln “Suspension device and vehicle” står en extra motoriserad länk i centrum, monterad högst upp på fjäderbenet. När fjädringen komprimerar och fjädrar ut flyttar länken hela enhetens läge och justerar bilens höjd och hjulvinkeln i realtid.

När ställdonet drar ihop sig sjunker bilen, den negativa cambern ökar och tyngdpunkten hamnar lägre. Förlänger man det höjs karossen, vilket ger extra markfrigång och stabilitet. I praktiken skissar Subaru på en lösning som talar till både trackday-förare och stance-anhängare: sänk för showen, höj för hemresan. Idén känns lika pragmatisk som lekfull.

Ingenjörerna ser framför sig att varje hörn läser data från sensorer för rattutslag, acceleration och fjädringsväg, och därefter automatiskt finjusterar geometrin efter underlaget. Lamborghini har testat liknande upplägg tidigare, men Subaru siktar på att göra konceptet mer lättillgängligt. Den typen av smart automatisering brukar glänsa när förutsättningarna varierar från väg till väg.

Det är ett djärvt grepp som ändå ligger i linje med märkets balans mellan rallyrötter och vardagsbruk. Om Subaru tar det här hela vägen till produktion kan resultatet bli ett verkligt genombrott — en fjädring som tilltalar många smaker och utlovar en smartare balans mellan kontroll och komfort.