Subaru patentli süspansiyon: yükseklik ve kamber aynı anda
Subaru’nun yeni patenti: sürüş yüksekliği ve kamber aynı anda ayarlanıyor
Subaru patentli süspansiyon: yükseklik ve kamber aynı anda
Subaru, hareket halinde sürüş yüksekliği ve tekerlek kamberini aynı anda ayarlayan patentli süspansiyon sistemiyle dikkat çekiyor. Aktüatör, sensörler devrede.
2025-10-12T09:58:19+03:00
2025-10-12T09:58:19+03:00
2025-10-12T09:58:19+03:00
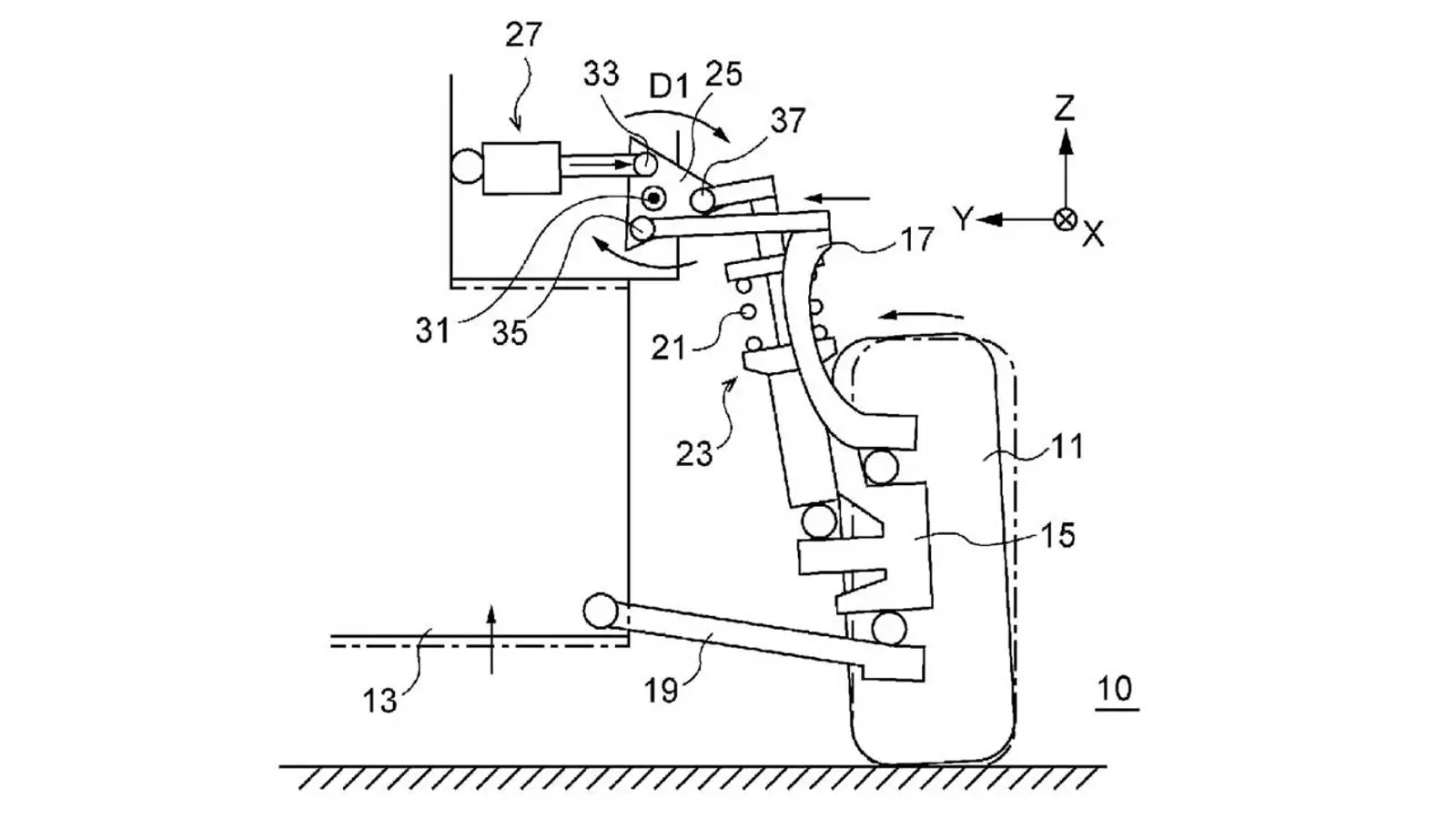
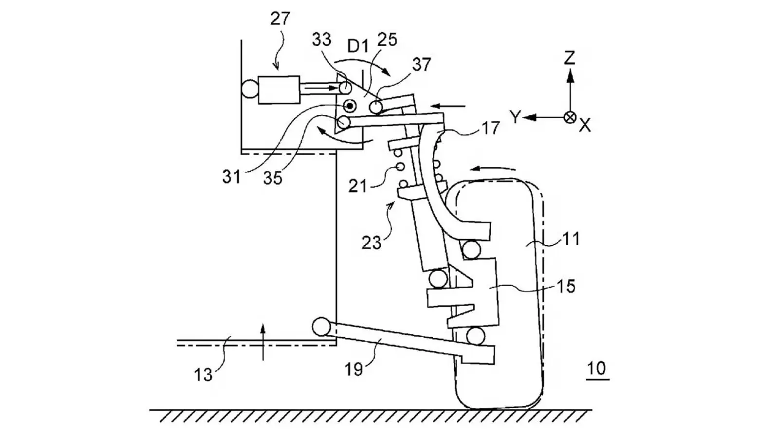
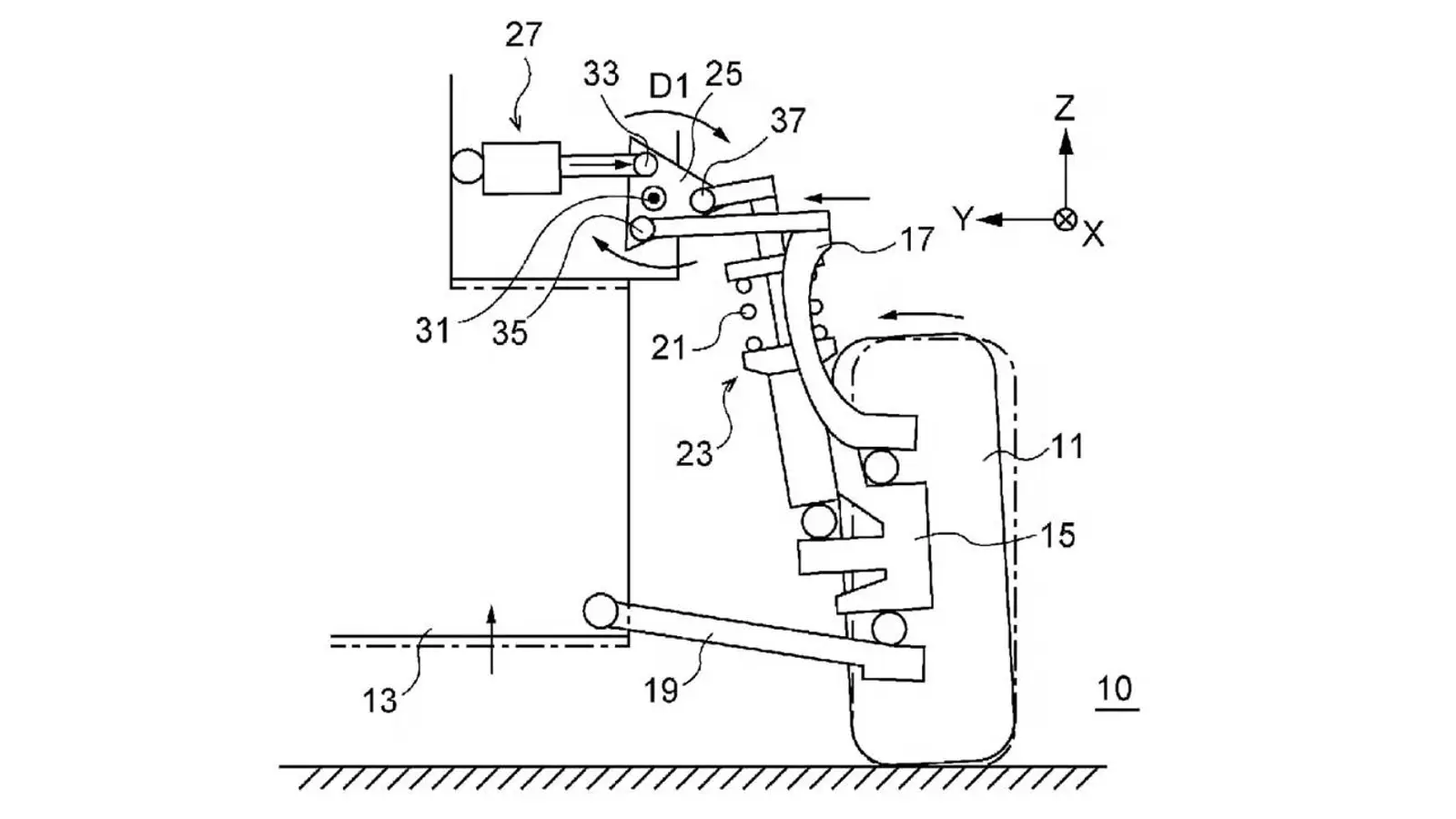
Subaru, hareket hâlindeyken hem sürüş yüksekliğini hem de tekerlek kamberini aynı anda değiştirebilen bir süspansiyon sistemi için aldığı patentle sektörü yine şaşırttı. Suspension device and vehicle başlıklı başvuru, amortisör kulesinin tepesine yerleştirilen ek bir tahrikli bağlantı elemanını merkezine alıyor. Süspansiyon sıkışıp açıldıkça bu bağlantı tüm düzeni kaydırıyor; gövde yüksekliği ile tekerlek açısı anlık olarak ayarlanıyor.Aktüatör kısaldığında otomobil alçalıyor, negatif kamber artıyor ve ağırlık merkezi aşağıya çekiliyor. Uzatıldığında gövde yükseliyor; yerden yükseklik ve stabilite artıyor. Kısacası Subaru, pist günü müdavimlerine de stance meraklılarına da göz kırpan bir kurgu öneriyor: sergi alanı için alçalt, eve dönüşte yükselt. Kâğıt üzerinde mantık berrak; tek hamlede görünüş ve dinamizm aynı potada toplanıyor.Mühendisler, her köşenin direksiyon açısı, ivmelenme ve tekerlek hareketi sensörlerinden veri okuyacağını, ardından geometrinin zemine uygun biçimde otomatik ayarlanacağını tasavvur ediyor. Benzer fikirler daha önce Lamborghini tarafından da test edilmişti; Subaru ise kavramı daha erişilebilir bir seviyeye taşımayı hedefliyor.Cesur ama markanın ralli kökleriyle günlük kullanım arasında kurduğu dengeye yakışan bir hamle. Subaru bunu üretime taşıyabilirse, sonuç gerçekten kayda değer olabilir: farklı beklentileri aynı anda karşılayan, kontrol ile konforu daha akıllıca harmanlayan bir süspansiyon.
Subaru, süspansiyon, patent, sürüş yüksekliği, kamber, negatif kamber, gövde yüksekliği, aktüatör, sensörler, otomatik ayar, araç dinamiği, pist, ralli, teknoloji, otomotiv
2025
Michael Powers
news
Subaru’nun yeni patenti: sürüş yüksekliği ve kamber aynı anda ayarlanıyor
Subaru, hareket halinde sürüş yüksekliği ve tekerlek kamberini aynı anda ayarlayan patentli süspansiyon sistemiyle dikkat çekiyor. Aktüatör, sensörler devrede.
Michael Powers, Editor
Subaru, hareket hâlindeyken hem sürüş yüksekliğini hem de tekerlek kamberini aynı anda değiştirebilen bir süspansiyon sistemi için aldığı patentle sektörü yine şaşırttı. Suspension device and vehicle başlıklı başvuru, amortisör kulesinin tepesine yerleştirilen ek bir tahrikli bağlantı elemanını merkezine alıyor. Süspansiyon sıkışıp açıldıkça bu bağlantı tüm düzeni kaydırıyor; gövde yüksekliği ile tekerlek açısı anlık olarak ayarlanıyor.
Aktüatör kısaldığında otomobil alçalıyor, negatif kamber artıyor ve ağırlık merkezi aşağıya çekiliyor. Uzatıldığında gövde yükseliyor; yerden yükseklik ve stabilite artıyor. Kısacası Subaru, pist günü müdavimlerine de stance meraklılarına da göz kırpan bir kurgu öneriyor: sergi alanı için alçalt, eve dönüşte yükselt. Kâğıt üzerinde mantık berrak; tek hamlede görünüş ve dinamizm aynı potada toplanıyor.
Mühendisler, her köşenin direksiyon açısı, ivmelenme ve tekerlek hareketi sensörlerinden veri okuyacağını, ardından geometrinin zemine uygun biçimde otomatik ayarlanacağını tasavvur ediyor. Benzer fikirler daha önce Lamborghini tarafından da test edilmişti; Subaru ise kavramı daha erişilebilir bir seviyeye taşımayı hedefliyor.
Cesur ama markanın ralli kökleriyle günlük kullanım arasında kurduğu dengeye yakışan bir hamle. Subaru bunu üretime taşıyabilirse, sonuç gerçekten kayda değer olabilir: farklı beklentileri aynı anda karşılayan, kontrol ile konforu daha akıllıca harmanlayan bir süspansiyon.