Subaru patenterer smart fjæring: camber og bakkeklaring
Subarus nye patent: aktiv fjæring som endrer camber og bakkeklaring under kjøring
Subaru patenterer smart fjæring: camber og bakkeklaring
Subaru tar patent på aktiv fjæring som justerer camber og bakkeklaring i sanntid. Sensorstyrt system lover lavere tyngdepunkt på bane og mer klaring på vei.
2025-10-12T09:52:51+03:00
2025-10-12T09:52:51+03:00
2025-10-12T09:52:51+03:00
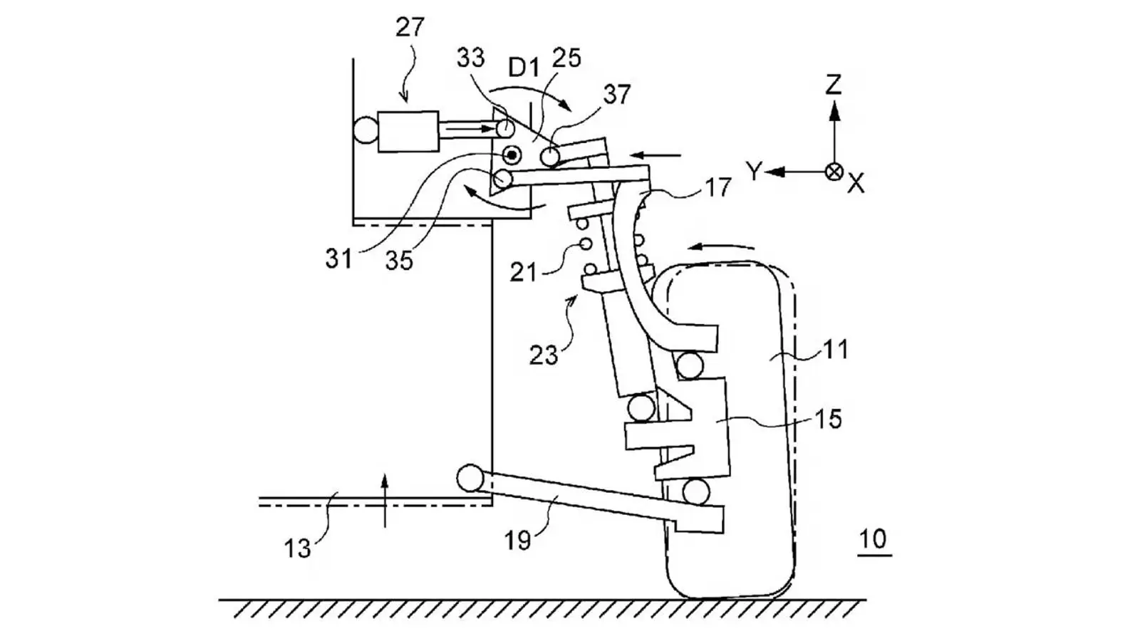
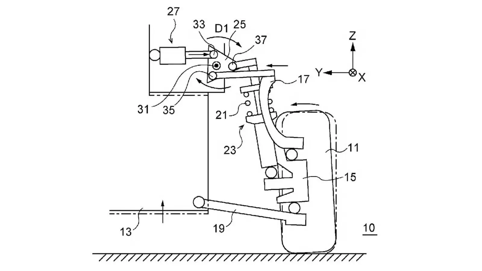
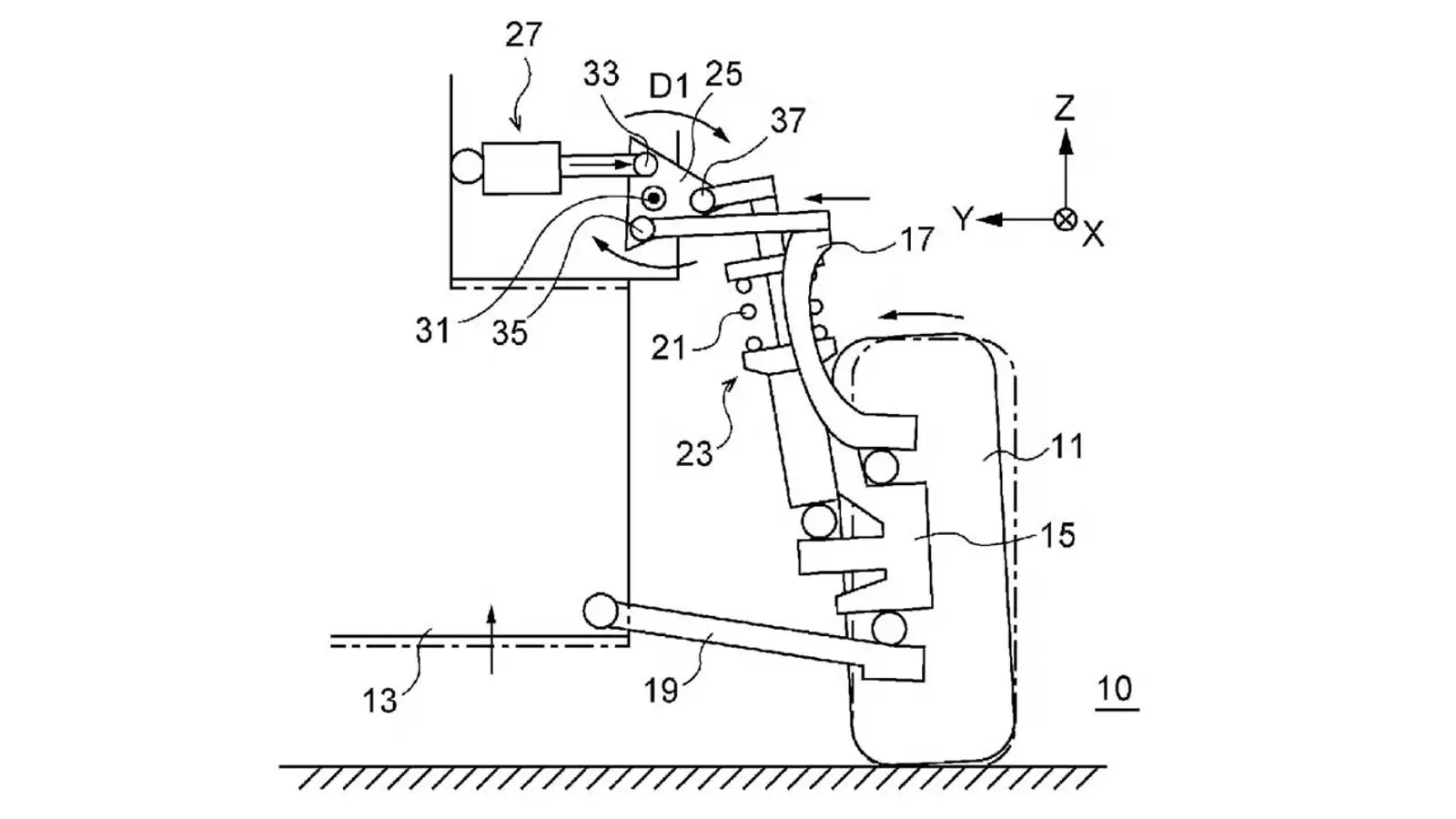
Subaru har nok en gang overrasket bransjen ved å ta patent på et fjæringssystem som kan endre både bakkeklaring og hjulvinkel (camber) samtidig – og gjøre det mens bilen er i bevegelse. Patentet, med tittelen Suspension device and vehicle, dreier seg om et ekstra, motorisert stag montert øverst på demperen. Når fjæringen komprimeres og fjærer ut, flytter dette staget hele enhetens posisjon og justerer karosserihøyde og hjulvinkel i sanntid.Når aktuatoren trekkes sammen, senkes bilen, negativ camber øker og tyngdepunktet faller. Når den forlenges, heves karosseriet, noe som gir mer bakkeklaring og stabilitet. I praksis skisserer Subaru en løsning som appellerer både til banekjørere og til dem som liker lav bil til show: senk for utstillingen, løft for hjemturen.Ingeniørene ser for seg at hvert hjørne av bilen henter data fra sensorer for styrevinkel, akselerasjon og fjæringsvandring, og deretter automatisk finjusterer geometrien etter underlaget. Lamborghini har testet lignende ideer tidligere, men Subaru sikter mot å bringe konseptet nærmere folk flest.Det er et dristig grep som likevel treffer merkets balanse mellom rallyrøtter og hverdagsbruk. Skulle Subaru ta dette videre til produksjon, kan resultatet bli et reelt gjennombrudd – en fjæring som tilfredsstiller mange preferanser og lover en smartere miks av kontroll og komfort. På papiret fremstår løsningen både logisk og fristende; nøkkelen blir hvor raskt og sømløst systemet kan jobbe uten å spise av kjørefølelsen.
Subaru tar patent på aktiv fjæring som justerer camber og bakkeklaring i sanntid. Sensorstyrt system lover lavere tyngdepunkt på bane og mer klaring på vei.
Michael Powers, Editor
Subaru har nok en gang overrasket bransjen ved å ta patent på et fjæringssystem som kan endre både bakkeklaring og hjulvinkel (camber) samtidig – og gjøre det mens bilen er i bevegelse. Patentet, med tittelen Suspension device and vehicle, dreier seg om et ekstra, motorisert stag montert øverst på demperen. Når fjæringen komprimeres og fjærer ut, flytter dette staget hele enhetens posisjon og justerer karosserihøyde og hjulvinkel i sanntid.
Når aktuatoren trekkes sammen, senkes bilen, negativ camber øker og tyngdepunktet faller. Når den forlenges, heves karosseriet, noe som gir mer bakkeklaring og stabilitet. I praksis skisserer Subaru en løsning som appellerer både til banekjørere og til dem som liker lav bil til show: senk for utstillingen, løft for hjemturen.
Ingeniørene ser for seg at hvert hjørne av bilen henter data fra sensorer for styrevinkel, akselerasjon og fjæringsvandring, og deretter automatisk finjusterer geometrien etter underlaget. Lamborghini har testet lignende ideer tidligere, men Subaru sikter mot å bringe konseptet nærmere folk flest.
Det er et dristig grep som likevel treffer merkets balanse mellom rallyrøtter og hverdagsbruk. Skulle Subaru ta dette videre til produksjon, kan resultatet bli et reelt gjennombrudd – en fjæring som tilfredsstiller mange preferanser og lover en smartere miks av kontroll og komfort. På papiret fremstår løsningen både logisk og fristende; nøkkelen blir hvor raskt og sømløst systemet kan jobbe uten å spise av kjørefølelsen.