Одна розетка — несколько электромобилей: Ford запатентовал новый тип зарядного устройства | SpeedMe
Ford запатентовала совершенно новое зарядное устройство для электромобилей
Одна розетка — несколько электромобилей: Ford запатентовал новый тип зарядного устройства | SpeedMe
Ford запатентовала совершенно новое зарядное устройство для электромобилей
2023-08-25 11:02+03:00
2023-08-25 11:02+03:00
2023-08-25 11:02+03:00
/html/head/meta[@name='og:title']/@content
/html/head/meta[@name='og:description']/@content
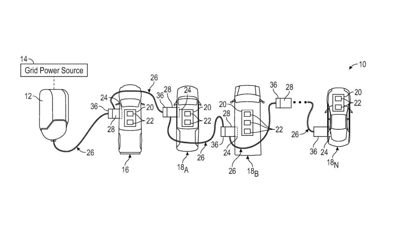
Ford запатентовал адаптер для зарядки электромобилей, который позволит нескольким автомобилям заряжать свои батареи от одного источника питания. Заявка была первоначально подана в Ведомство по патентам и товарным знакам США (USPTO) 23 января и в конечном итоге опубликована 27 июля.
В патенте, озаглавленном «Адаптеры заряда для поддержки двунаправленной передачи энергии между несколькими энергетическими блоками», говорится, что адаптер может обеспечить интеллектуальную зарядку нескольких транспортных средств от одного источника питания с помощью различных конфигураций и стратегий, включая последовательную, мультиплексную, параллельную и ступенчатую.
Изображения показывают, что адаптер будет иметь несколько реле, микроконтроллер и устройство беспроводной связи и будет действовать как сквозной: проводной разъем для зарядки будет подключен к адаптеру, адаптер будет подключаться к зарядному порту автомобиля, а розетка на адаптере позволит другому транспортному средству подключиться к зарядному устройству.
Кроме того, поскольку он поддерживает двунаправленную зарядку, электромобили, подключенные к энергетической цепи, могут даже разряжать свои собственные высоковольтные батареи, чтобы помочь увеличить состояние заряда (SoC) транспортных средств, которые расположены выше в списке приоритетов, установленном менеджером автопарка.
Это похоже на то, что показывает недавний патент Rivian на решение для сквозной зарядки, и это довольно интересная концепция, которая будет полезна в сценариях, когда парк электромобилей должен заряжаться от одного источника питания в течение ночи, в местах, где зарядная инфраструктура недостаточно развита и не может быть расширена по техническим причинам — возможно, сеть не поддерживает подключение более высокой мощности.
2023
Дмитрий Новиков
Дмитрий Новиков
Новости
ru-RU
1290
726
true
1290
726
true
Дмитрий Новиков
Одна розетка — несколько электромобилей: Ford запатентовал новый тип зарядного устройства
Ford запатентовала совершенно новое зарядное устройство для электромобилей
Автор: Дмитрий Новиков, редактор
Ford запатентовал адаптер для зарядки электромобилей, который позволит нескольким автомобилям заряжать свои батареи от одного источника питания. Заявка была первоначально подана в Ведомство по патентам и товарным знакам США (USPTO) 23 января и в конечном итоге опубликована 27 июля.
В патенте, озаглавленном «Адаптеры заряда для поддержки двунаправленной передачи энергии между несколькими энергетическими блоками», говорится, что адаптер может обеспечить интеллектуальную зарядку нескольких транспортных средств от одного источника питания с помощью различных конфигураций и стратегий, включая последовательную, мультиплексную, параллельную и ступенчатую.
Изображения показывают, что адаптер будет иметь несколько реле, микроконтроллер и устройство беспроводной связи и будет действовать как сквозной: проводной разъем для зарядки будет подключен к адаптеру, адаптер будет подключаться к зарядному порту автомобиля, а розетка на адаптере позволит другому транспортному средству подключиться к зарядному устройству.
Кроме того, поскольку он поддерживает двунаправленную зарядку, электромобили, подключенные к энергетической цепи, могут даже разряжать свои собственные высоковольтные батареи, чтобы помочь увеличить состояние заряда (SoC) транспортных средств, которые расположены выше в списке приоритетов, установленном менеджером автопарка.
Это похоже на то, что показывает недавний патент Rivian на решение для сквозной зарядки, и это довольно интересная концепция, которая будет полезна в сценариях, когда парк электромобилей должен заряжаться от одного источника питания в течение ночи, в местах, где зарядная инфраструктура недостаточно развита и не может быть расширена по техническим причинам — возможно, сеть не поддерживает подключение более высокой мощности.