Mercedes-Benz: Handvenen-Login fürs Auto – sparsames Patent
Handflächen-Venen als Autoschlüssel: Mercedes-Patent mit Energiesparmodus
Mercedes-Benz: Handvenen-Login fürs Auto – sparsames Patent
Mercedes-Benz-Patent: Autozugang per Handflächen-Venenerkennung mit Infrarotkamera. Energiesparender Sleep-Modus, verschlüsselte Speicherung mit Sensor.
2025-12-24T11:11:24+03:00
2025-12-24T11:11:24+03:00
2025-12-24T11:11:24+03:00
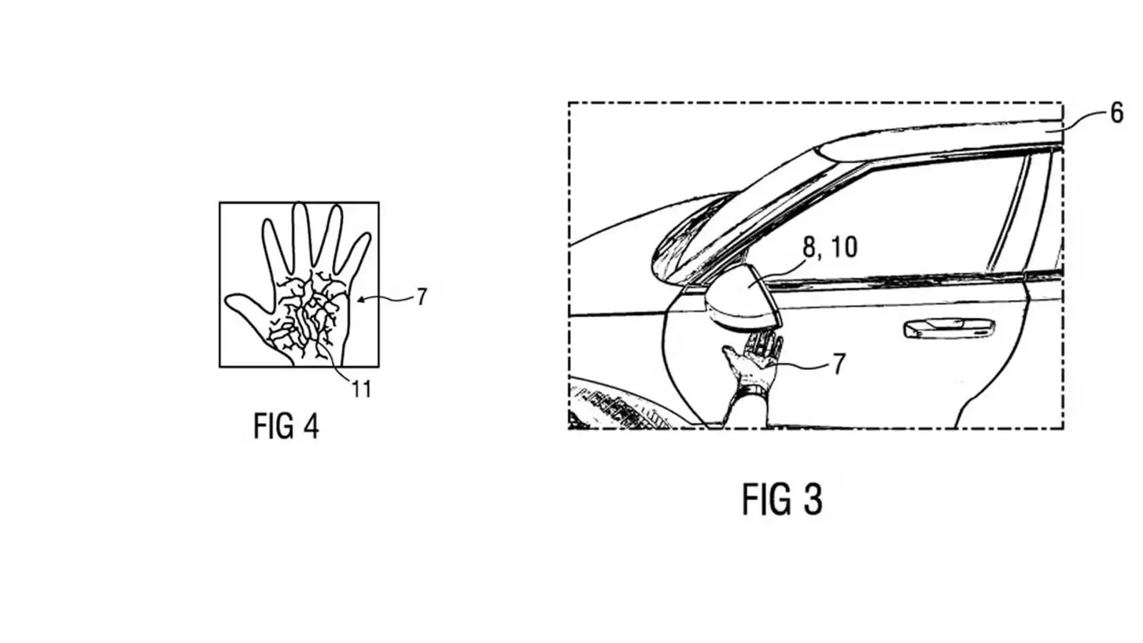
Mercedes-Benz könnte den Zugang zum Auto in eine kleine Zauberei verwandeln: statt Schlüssel oder Smartphone reicht die Handfläche. Ein frisch veröffentlichtes Patent skizziert ein System, bei dem eine Infrarotkamera das Venenmuster in der Hand ausliest und per Biometrie entscheidet, ob die Türen entriegelt und das Fahrzeug gestartet wird.Das Prinzip ist nicht völlig neu; einige Hersteller setzen bereits auf Fingerabdrucksensoren oder Gesichtserkennung. Mercedes richtet den Fokus jedoch auf etwas anderes: einen geringeren Energiebedarf.Laut dem Dokument verbrauchen viele biometrische Lösungen spürbar Strom, was theoretisch die Reichweite eines Elektroautos schmälern könnte. Dagegen schlagen die Entwickler vor, den Scanner im Schlafmodus zu halten und nur zu aktivieren, wenn sich jemand nähert. Ein Sensor für lebende Körper soll Veränderungen der statischen Elektrizität rund um das Auto erkennen und so eine Person von einem unbelebten Objekt unterscheiden. Sobald das System geweckt ist, liest es die Handfläche zügig aus; die Daten würden verschlüsselt im Fahrzeug gespeichert, statt über ein Netzwerk übertragen zu werden.Das Modul ließe sich in einer Karosseriesäule oder unterhalb eines Spiegels integrieren. Im Alltag ist diese Geste jedoch nicht immer die bequemste – besonders bei einem großen SUV. Als technologischer Akzent wirkt die Lösung dennoch eindrucksvoll, und am Ende entscheidet, wie friktionsfrei das System anspricht.Komfort ist willkommen, aber nur, wenn die Technik ohne Umstände bei Kälte, Regen und mit Handschuhen funktioniert; andernfalls bleibt der vertraute Funkschlüssel wohl weiterhin die schnellere Option.
Mercedes-Benz-Patent: Autozugang per Handflächen-Venenerkennung mit Infrarotkamera. Energiesparender Sleep-Modus, verschlüsselte Speicherung mit Sensor.
Michael Powers, Editor
Mercedes-Benz könnte den Zugang zum Auto in eine kleine Zauberei verwandeln: statt Schlüssel oder Smartphone reicht die Handfläche. Ein frisch veröffentlichtes Patent skizziert ein System, bei dem eine Infrarotkamera das Venenmuster in der Hand ausliest und per Biometrie entscheidet, ob die Türen entriegelt und das Fahrzeug gestartet wird.
Das Prinzip ist nicht völlig neu; einige Hersteller setzen bereits auf Fingerabdrucksensoren oder Gesichtserkennung. Mercedes richtet den Fokus jedoch auf etwas anderes: einen geringeren Energiebedarf.
Laut dem Dokument verbrauchen viele biometrische Lösungen spürbar Strom, was theoretisch die Reichweite eines Elektroautos schmälern könnte. Dagegen schlagen die Entwickler vor, den Scanner im Schlafmodus zu halten und nur zu aktivieren, wenn sich jemand nähert. Ein Sensor für lebende Körper soll Veränderungen der statischen Elektrizität rund um das Auto erkennen und so eine Person von einem unbelebten Objekt unterscheiden. Sobald das System geweckt ist, liest es die Handfläche zügig aus; die Daten würden verschlüsselt im Fahrzeug gespeichert, statt über ein Netzwerk übertragen zu werden.
Das Modul ließe sich in einer Karosseriesäule oder unterhalb eines Spiegels integrieren. Im Alltag ist diese Geste jedoch nicht immer die bequemste – besonders bei einem großen SUV. Als technologischer Akzent wirkt die Lösung dennoch eindrucksvoll, und am Ende entscheidet, wie friktionsfrei das System anspricht.
Komfort ist willkommen, aber nur, wenn die Technik ohne Umstände bei Kälte, Regen und mit Handschuhen funktioniert; andernfalls bleibt der vertraute Funkschlüssel wohl weiterhin die schnellere Option.