Subaru का पेटेंटेड सस्पेंशन: राइड हाइट व कैंबर ऑन-द-गो
Subaru का सस्पेंशन पेटेंट: चलते-चलते राइड हाइट और कैंबर कंट्रोल
Subaru का पेटेंटेड सस्पेंशन: राइड हाइट व कैंबर ऑन-द-गो
Subaru का पेटेंटेड सस्पेंशन एक्ट्यूएटर से रीयल-टाइम में राइड हाइट और व्हील कैंबर बदलता है, ताकि ट्रैक और रोजमर्रा की ड्राइव में बेहतर कंट्रोल व आराम मिले.
2025-10-12T09:59:28+03:00
2025-10-12T09:59:28+03:00
2025-10-12T09:59:28+03:00
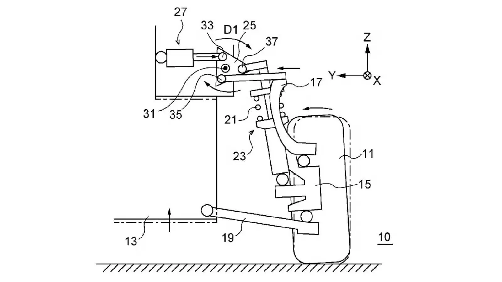
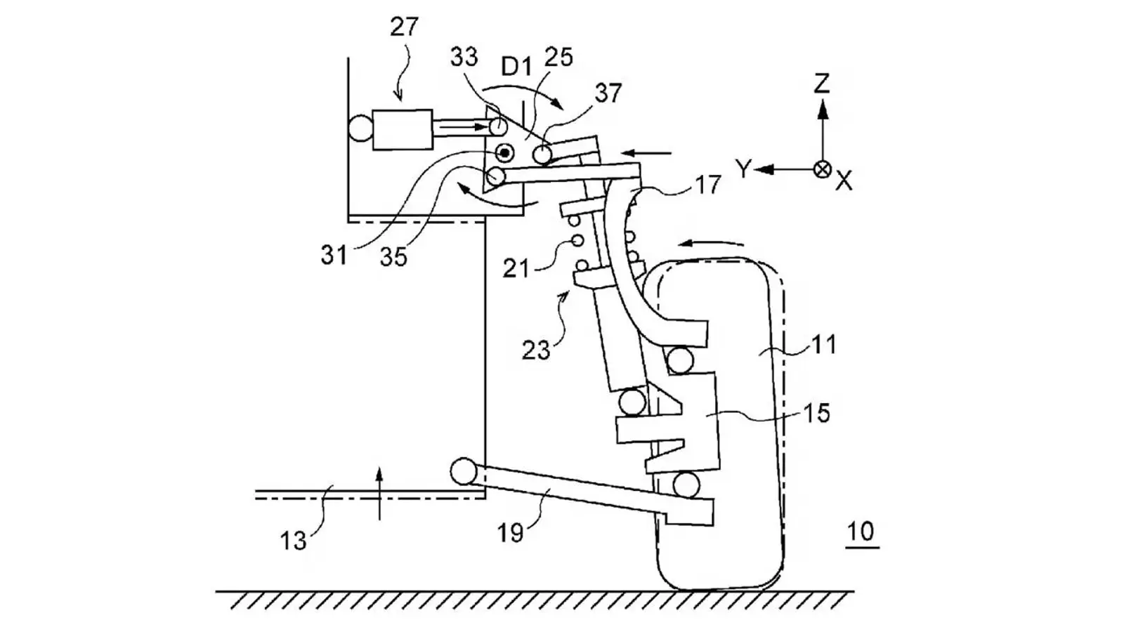
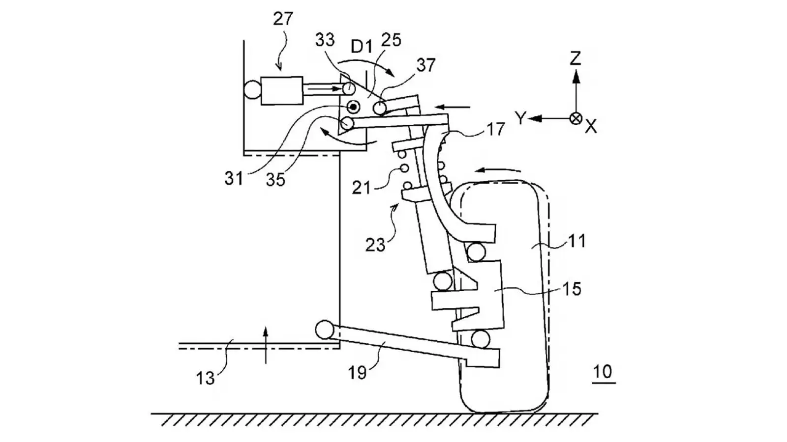
Subaru ने एक बार फिर उद्योग को चकित कर दिया: ब्रांड ने ऐसा सस्पेंशन पेटेंट कराया है जो चलते-चलते एक साथ राइड हाइट और व्हील कैंबर बदल सकता है. Suspension device and vehicle शीर्षक के तहत दायर इस पेटेंट का केंद्रबिंदु स्ट्रट के शीर्ष पर लगाया गया एक अतिरिक्त पावर्ड लिंक है. सस्पेंशन के कंप्रेस और रिबाउंड के साथ यह लिंक पूरी असेंबली की पोजीशन शिफ्ट करता है, और रीयल टाइम में बॉडी की ऊंचाई तथा पहिए के एंगल को समायोजित करता है.जब एक्ट्यूएटर छोटा होता है, कार नीचे बैठती है—नेगेटिव कैंबर बढ़ता है और सेंटर ऑफ ग्रैविटी घटता है. उसे बढ़ाने पर बॉडी ऊपर उठती है, जिससे ग्राउंड क्लियरेंस और स्थिरता में इजाफा होता है. कहने का मतलब, Subaru ऐसा सेटअप सुझा रही है जो ट्रैक-डे के नियमित ड्राइवरों और स्टांस प्रेमियों—दोनों की पसंद को साधे: शो के लिए कार को नीचे करें, और घर की ड्राइव के लिए उठाएं.इंजीनियरों की परिकल्पना है कि हर कोना स्टीयरिंग एंगल, एक्सेलेरेशन और व्हील-ट्रैवल सेंसर से इनपुट पढ़े, और सतह के अनुरूप ज्योमेट्री अपने-आप ट्यून हो जाए. Lamborghini पहले ऐसे विचारों को टेस्ट कर चुकी है, लेकिन Subaru इस कॉन्सेप्ट को अधिक सुलभ दायरे में लाने की ओर दिखती है.यह कदम साहसी है, फिर भी ब्रांड की रैली विरासत और रोज़मर्रा की उपयोगिता के बीच बनाए संतुलन में फिट बैठता है. कागज़ पर यह समाधान सधा हुआ लगता है—लचीलापन ही अक्सर वह चीज़ है जिसकी ड्राइवरों को तलाश रहती है. अगर Subaru इसे प्रोडक्शन तक ले जाती है, तो नतीजा सच में एक उल्लेखनीय बदलाव हो सकता है: ऐसा सस्पेंशन जो अलग-अलग रुचियों को संतुष्ट करते हुए कंट्रोल और कम्फर्ट का ज्यादा समझदार मेल पेश करे.
Subaru का पेटेंटेड सस्पेंशन एक्ट्यूएटर से रीयल-टाइम में राइड हाइट और व्हील कैंबर बदलता है, ताकि ट्रैक और रोजमर्रा की ड्राइव में बेहतर कंट्रोल व आराम मिले.
Michael Powers, Editor
Subaru ने एक बार फिर उद्योग को चकित कर दिया: ब्रांड ने ऐसा सस्पेंशन पेटेंट कराया है जो चलते-चलते एक साथ राइड हाइट और व्हील कैंबर बदल सकता है. Suspension device and vehicle शीर्षक के तहत दायर इस पेटेंट का केंद्रबिंदु स्ट्रट के शीर्ष पर लगाया गया एक अतिरिक्त पावर्ड लिंक है. सस्पेंशन के कंप्रेस और रिबाउंड के साथ यह लिंक पूरी असेंबली की पोजीशन शिफ्ट करता है, और रीयल टाइम में बॉडी की ऊंचाई तथा पहिए के एंगल को समायोजित करता है.
जब एक्ट्यूएटर छोटा होता है, कार नीचे बैठती है—नेगेटिव कैंबर बढ़ता है और सेंटर ऑफ ग्रैविटी घटता है. उसे बढ़ाने पर बॉडी ऊपर उठती है, जिससे ग्राउंड क्लियरेंस और स्थिरता में इजाफा होता है. कहने का मतलब, Subaru ऐसा सेटअप सुझा रही है जो ट्रैक-डे के नियमित ड्राइवरों और स्टांस प्रेमियों—दोनों की पसंद को साधे: शो के लिए कार को नीचे करें, और घर की ड्राइव के लिए उठाएं.
इंजीनियरों की परिकल्पना है कि हर कोना स्टीयरिंग एंगल, एक्सेलेरेशन और व्हील-ट्रैवल सेंसर से इनपुट पढ़े, और सतह के अनुरूप ज्योमेट्री अपने-आप ट्यून हो जाए. Lamborghini पहले ऐसे विचारों को टेस्ट कर चुकी है, लेकिन Subaru इस कॉन्सेप्ट को अधिक सुलभ दायरे में लाने की ओर दिखती है.
यह कदम साहसी है, फिर भी ब्रांड की रैली विरासत और रोज़मर्रा की उपयोगिता के बीच बनाए संतुलन में फिट बैठता है. कागज़ पर यह समाधान सधा हुआ लगता है—लचीलापन ही अक्सर वह चीज़ है जिसकी ड्राइवरों को तलाश रहती है. अगर Subaru इसे प्रोडक्शन तक ले जाती है, तो नतीजा सच में एक उल्लेखनीय बदलाव हो सकता है: ऐसा सस्पेंशन जो अलग-अलग रुचियों को संतुष्ट करते हुए कंट्रोल और कम्फर्ट का ज्यादा समझदार मेल पेश करे.
इस वेबसाइट का उपयोग जारी रखते हुए, आप हमारी कुकी नीति और गोपनीयता नीति से सहमत होते हैं।