닛산이 특허한 SUV 테일게이트 이중 레버 시스템, 좁은 공간에서 편리한 디자인과 장단점을 알아보세요. 자동차 기술의 새로운 가능성을 확인하세요.
2026-02-22T03:37:23+03:00
2026-02-22T03:37:23+03:00
2026-02-22T03:37:23+03:00
닛산이 가장 익숙한 SUV 특징 중 하나인 테일게이트를 재고하고 있습니다. SPEEDME 기자들이 USPTO 데이터베이스에서 발견한 특허는 기존 힌지를 이중 레버 시스템으로 대체하는 메커니즘을 설명합니다. 문이 열리면 거의 수직으로 올라간 후 회전하여 차량 지붕에 평평하게 놓입니다. 이는 기존 해치의 특징적인 넓은 스윙을 제거하여 좁은 차고, 주차 공간 또는 빡빡한 도시 공간에서 특히 편리한 디자인을 가능하게 합니다.장점은 분명합니다. 적재 문이 더 이상 밖으로 스윙하여 접근을 제한하지 않으며, 운전자가 부피가 큰 물건을 적재할 때 돌출된 패널 아래로 몸을 숙일 필요가 없습니다. 그러나 엔지니어들은 단점도 보고 있습니다. 이 디자인은 지붕에 명확한 공간을 필요로 하여 오늘날 크로스오버 소유자들 사이에서 인기 있는 액세서리인 클래식 루프 랙, 적재 상자 또는 텐트 사용을 배제합니다.내구성에 대한 우려도 있습니다. 이 메커니즘은 표준 힌지보다 더 복잡하여 여러 링크, 정확한 궤적 및 엄격한 기하학적 요구 사항을 포함합니다. 이는 생산 비용을 증가시키고 시간이 지남에 따라 패널 정렬 불량 또는 맞춤 불량의 위험을 높일 수 있습니다. 또한 시스템은 완전히 열렸을 때 더 많은 수직 여유 공간이 필요합니다. 이는 지하 주차장과 관련된 제한 사항입니다.아이디어의 독창성에도 불구하고, 이 특허가 이 메커니즘이 양산 모델에 등장할 것을 보장하지는 않습니다. 자동차 제조업체들은 종종 생산에 투입할 의도 없이 지적 재산권을 보호하기 위해 미래 지향적인 솔루션을 등록합니다. 그러나 이 개념 자체는 닛산이 일상적인 SUV 사용을 최적화하는 새로운 방법을 탐구하고 있으며, 많은 사람들이 문제가 이미 해결되었다고 생각하는 곳에서 실험하는 것을 두려워하지 않는다는 것을 보여줍니다.
닛산, SUV, 테일게이트, 특허, 이중 레버 시스템, 자동차 기술, 차고 주차, 적재 문, 자동차 디자인, 크로스오버
닛산이 특허한 SUV 테일게이트 이중 레버 시스템, 좁은 공간에서 편리한 디자인과 장단점을 알아보세요. 자동차 기술의 새로운 가능성을 확인하세요.
Michael Powers, Editor
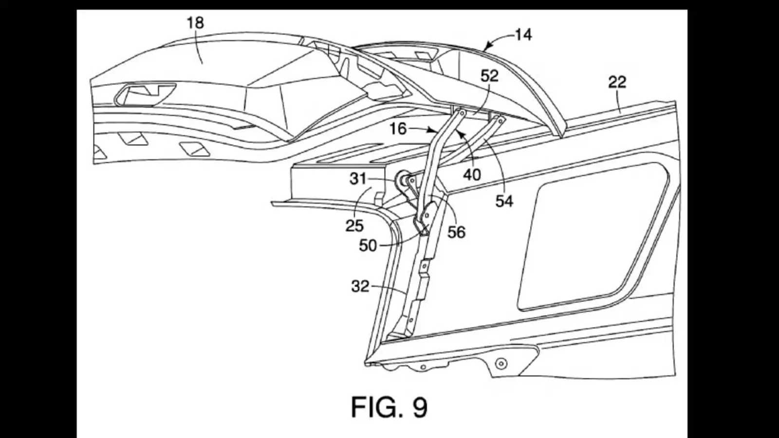
닛산이 가장 익숙한 SUV 특징 중 하나인 테일게이트를 재고하고 있습니다. SPEEDME 기자들이 USPTO 데이터베이스에서 발견한 특허는 기존 힌지를 이중 레버 시스템으로 대체하는 메커니즘을 설명합니다. 문이 열리면 거의 수직으로 올라간 후 회전하여 차량 지붕에 평평하게 놓입니다. 이는 기존 해치의 특징적인 넓은 스윙을 제거하여 좁은 차고, 주차 공간 또는 빡빡한 도시 공간에서 특히 편리한 디자인을 가능하게 합니다.
장점은 분명합니다. 적재 문이 더 이상 밖으로 스윙하여 접근을 제한하지 않으며, 운전자가 부피가 큰 물건을 적재할 때 돌출된 패널 아래로 몸을 숙일 필요가 없습니다. 그러나 엔지니어들은 단점도 보고 있습니다. 이 디자인은 지붕에 명확한 공간을 필요로 하여 오늘날 크로스오버 소유자들 사이에서 인기 있는 액세서리인 클래식 루프 랙, 적재 상자 또는 텐트 사용을 배제합니다.
내구성에 대한 우려도 있습니다. 이 메커니즘은 표준 힌지보다 더 복잡하여 여러 링크, 정확한 궤적 및 엄격한 기하학적 요구 사항을 포함합니다. 이는 생산 비용을 증가시키고 시간이 지남에 따라 패널 정렬 불량 또는 맞춤 불량의 위험을 높일 수 있습니다. 또한 시스템은 완전히 열렸을 때 더 많은 수직 여유 공간이 필요합니다. 이는 지하 주차장과 관련된 제한 사항입니다.
아이디어의 독창성에도 불구하고, 이 특허가 이 메커니즘이 양산 모델에 등장할 것을 보장하지는 않습니다. 자동차 제조업체들은 종종 생산에 투입할 의도 없이 지적 재산권을 보호하기 위해 미래 지향적인 솔루션을 등록합니다. 그러나 이 개념 자체는 닛산이 일상적인 SUV 사용을 최적화하는 새로운 방법을 탐구하고 있으며, 많은 사람들이 문제가 이미 해결되었다고 생각하는 곳에서 실험하는 것을 두려워하지 않는다는 것을 보여줍니다.