16+
  • Nyheter
  • Artikler

Nyheter

Toyota Hilux 2026: lekket interiør og motornyheter

21:50 13-10-2025

Test: Ladekabelen avgjør tempoet på lynlading av elbil

20:43 13-10-2025

Elbil-boom 2025–2026: de viktigste nye lanseringene i Europa

17:15 13-10-2025

Toyota viser ny Corolla som elbil: konseptet overrasker

15:55 13-10-2025

Peugeot 208 2026: ny elbil på STLA Small med Hypersquare

14:17 13-10-2025

Android Auto 15.2-feil: widgets forsvant fra oppgavelinjen

12:24 13-10-2025

Familievennlige elbiler: 12 toppvalg med rekkevidde

10:54 13-10-2025

Jeep faller hos Consumer Reports: blandet pålitelighet

09:53 13-10-2025

BYD sender hyperbilen Yangwang U9 Xtreme til Brasil – kun 1

08:23 13-10-2025

XPeng lander rekordordre på flyvende biler i Midtøsten

07:23 13-10-2025

Packard Excellence: gjenfødelse på Bentley-basert luksus

05:43 13-10-2025

Elbiler avvist: verksteder mangler HV-kompetanse i Europa

23:34 12-10-2025

GM inngår forlik om Shift to Park i Ohio og Tennessee

22:25 12-10-2025

Santana Motors gjør comeback: pickup i 2025, bred satsing

21:23 12-10-2025

PCV-ventil i motoren: symptomer og forebygging av skader

19:36 12-10-2025

BMW lanserer signaturfargene Le Castellet Blue og Grey Pine

18:31 12-10-2025

Toyota tilbakekaller 6 000 Tacoma 4x4 for propellakselfeil

16:31 12-10-2025

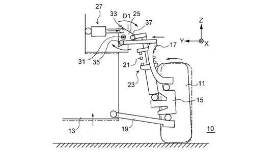
Subaru patenterer smart fjæring: camber og bakkeklaring

09:52 12-10-2025

Mercedes-AMG G 63 Havana Vintage: Carlex' luksus-tolkning

07:24 12-10-2025

Chery lanserer LEPAS i Europa: L8 som hybrid-SUV i 2025

21:48 11-10-2025
75 76 77 78 79 80 81

Ved å fortsette å bruke dette nettstedet godtar du vår Retningslinjer for informasjonskapsler og vår Personvernerklæring.

  • Nyheter
  • Artikler
Brukeravtale
Retningslinjer for informasjonskapsler
Personvernerklæring
Om oss
Kontakter
2026