Subaru patentuje zawieszenie: zmienny prześwit i camber
Nowy patent Subaru: zawieszenie, które reguluje prześwit i kąt pochylenia kół w trakcie jazdy
Subaru patentuje zawieszenie: zmienny prześwit i camber
Subaru opatentowało zawieszenie, które podczas jazdy reguluje prześwit i kąt pochylenia kół, łącząc kontrolę i komfort. Sprawdź, jak działa przełom.
2025-10-12T09:50:34+03:00
2025-10-12T09:50:34+03:00
2025-10-12T09:50:34+03:00
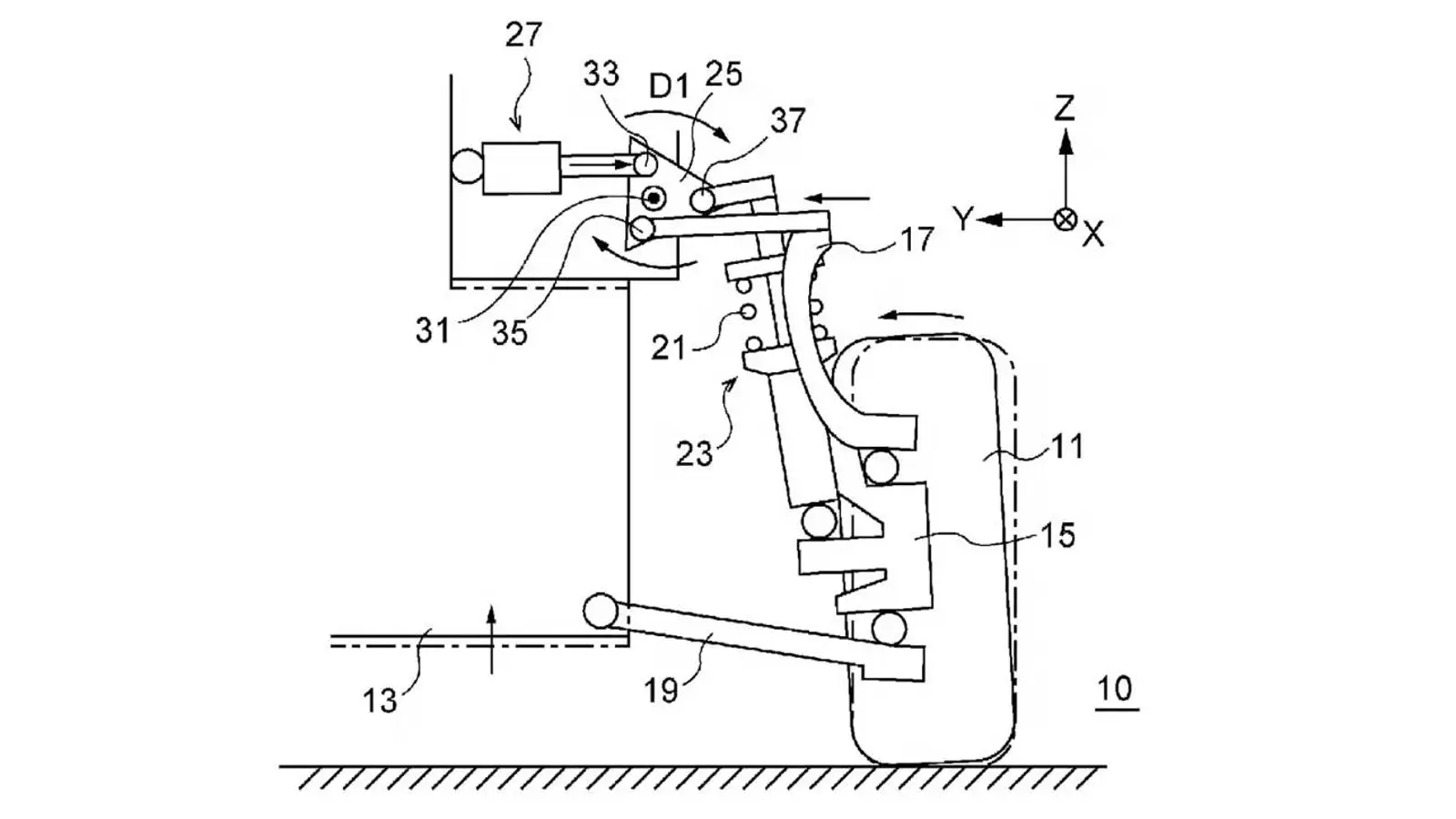
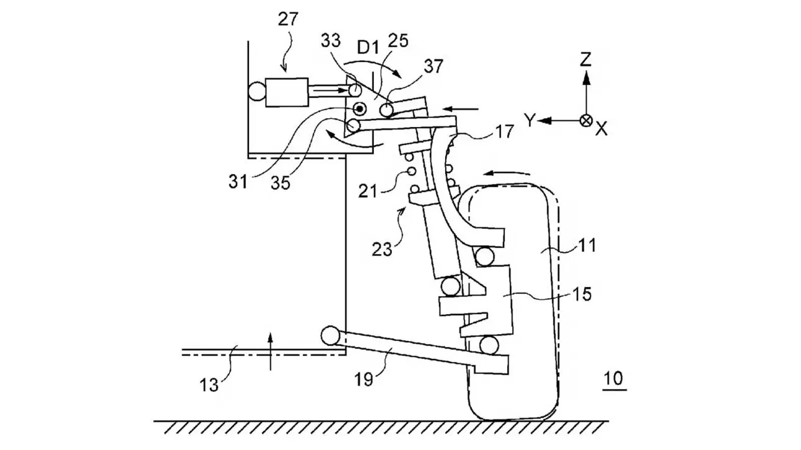
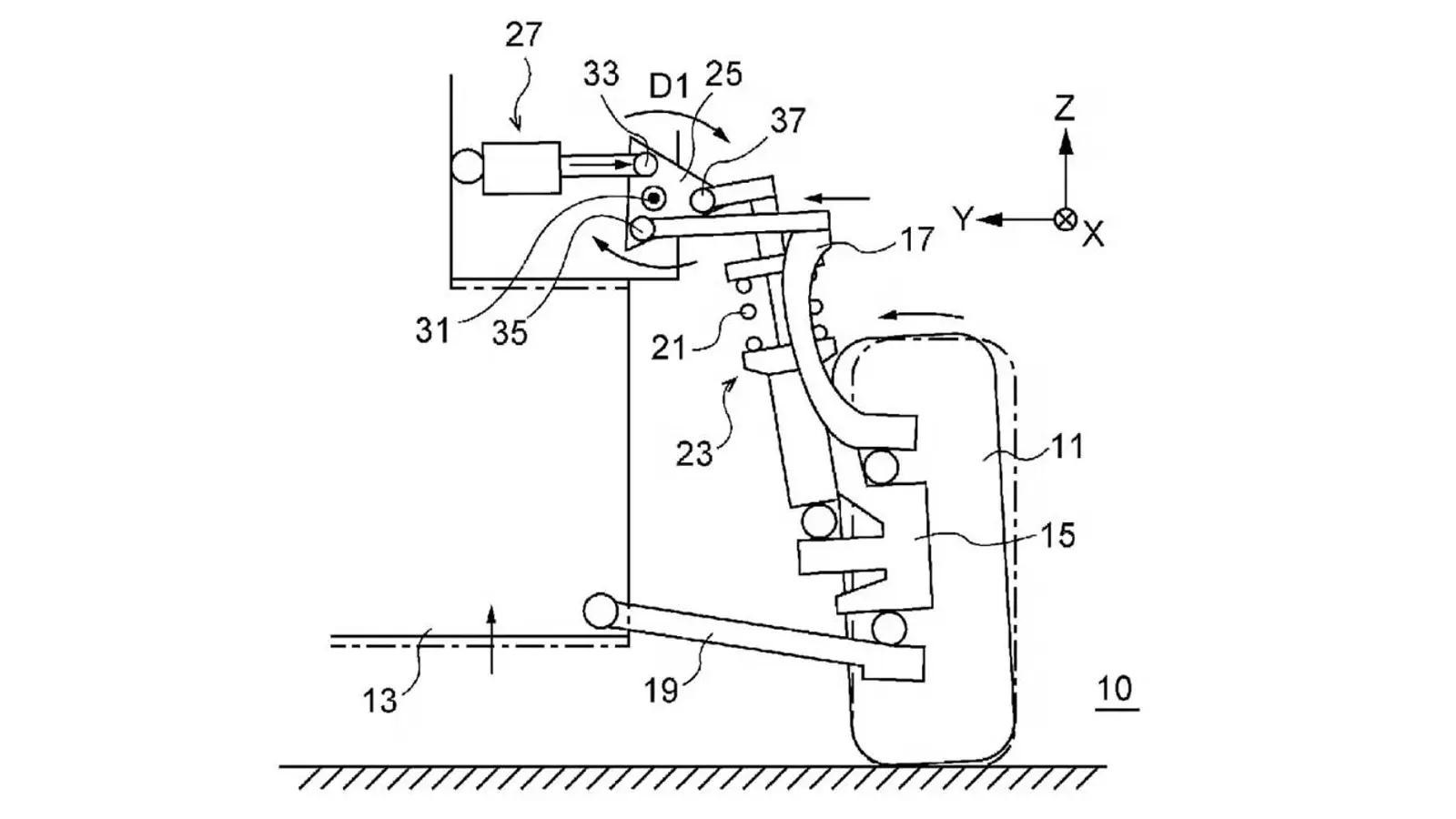
Subaru znów zaskoczyło branżę, opatentowując układ zawieszenia, który potrafi jednocześnie zmieniać prześwit i kąt pochylenia kół — i robić to podczas jazdy. Zgłoszenie, zatytułowane "Suspension device and vehicle", opiera się na dodatkowym napędzanym łączniku umieszczonym u góry kolumny. Gdy zawieszenie się ugina i odbija, ten łącznik przesuwa położenie całego zespołu, na bieżąco korygując wysokość nadwozia oraz kąt ustawienia kół. Brzmi to jak brakujące ogniwo w arsenale systemów aktywnych.Gdy siłownik się skraca, auto siada niżej, rośnie ujemny kąt pochylenia kół i opada środek ciężkości. Po jego wysunięciu nadwozie się podnosi, dając więcej prześwitu i stabilności. W praktyce Subaru proponuje układ, który może przemówić zarówno do bywalców dni torowych, jak i fanów niskiej postawy: obniżyć na pokaz, potem podnieść w drodze do domu. Taka elastyczność rzadko idzie w parze z prostotą działania — tutaj koncept wydaje się wyjątkowo klarowny.Inżynierowie przewidują, że każdy narożnik będzie korzystał z danych z czujników kąta skrętu, przyspieszeń i ugięcia kół, po czym automatycznie dostroi geometrię do nawierzchni. Lamborghini testowało już podobne idee, ale Subaru mierzy w to, by uczynić je łatwiej dostępne. Taka perspektywa brzmi obiecująco zarówno na torze, jak i w codziennym użytkowaniu.To odważny ruch, który mieści się w firmowej równowadze między rajdowymi korzeniami a codzienną użytecznością. Jeśli Subaru doprowadzi projekt do produkcji, może to oznaczać prawdziwy przełom — zawieszenie, które godzi różne gusta i obiecuje sprytniejsze połączenie kontroli oraz komfortu.
Subaru opatentowało zawieszenie, które podczas jazdy reguluje prześwit i kąt pochylenia kół, łącząc kontrolę i komfort. Sprawdź, jak działa przełom.
Michael Powers, Editor
Subaru znów zaskoczyło branżę, opatentowując układ zawieszenia, który potrafi jednocześnie zmieniać prześwit i kąt pochylenia kół — i robić to podczas jazdy. Zgłoszenie, zatytułowane "Suspension device and vehicle", opiera się na dodatkowym napędzanym łączniku umieszczonym u góry kolumny. Gdy zawieszenie się ugina i odbija, ten łącznik przesuwa położenie całego zespołu, na bieżąco korygując wysokość nadwozia oraz kąt ustawienia kół. Brzmi to jak brakujące ogniwo w arsenale systemów aktywnych.
Gdy siłownik się skraca, auto siada niżej, rośnie ujemny kąt pochylenia kół i opada środek ciężkości. Po jego wysunięciu nadwozie się podnosi, dając więcej prześwitu i stabilności. W praktyce Subaru proponuje układ, który może przemówić zarówno do bywalców dni torowych, jak i fanów niskiej postawy: obniżyć na pokaz, potem podnieść w drodze do domu. Taka elastyczność rzadko idzie w parze z prostotą działania — tutaj koncept wydaje się wyjątkowo klarowny.
Inżynierowie przewidują, że każdy narożnik będzie korzystał z danych z czujników kąta skrętu, przyspieszeń i ugięcia kół, po czym automatycznie dostroi geometrię do nawierzchni. Lamborghini testowało już podobne idee, ale Subaru mierzy w to, by uczynić je łatwiej dostępne. Taka perspektywa brzmi obiecująco zarówno na torze, jak i w codziennym użytkowaniu.
To odważny ruch, który mieści się w firmowej równowadze między rajdowymi korzeniami a codzienną użytecznością. Jeśli Subaru doprowadzi projekt do produkcji, może to oznaczać prawdziwy przełom — zawieszenie, które godzi różne gusta i obiecuje sprytniejsze połączenie kontroli oraz komfortu.