Назван способ буксировки тяжелых прицепов легковыми автомобилями

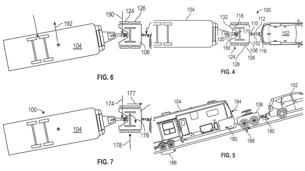
Автопроизводители всегда стремятся превзойти друг друга, увеличивая буксировочную способность своих пикапов, что побудило General Motors задуматься о диком решении для буксировки. Недавно GM подала заявку на патент на устройство помощи при буксировке, которое увеличивает тяговую способность автомобиля. Опубликованная Ведомством США по патентам и товарным знакам (USPTO) 21 марта 2023 г., но первоначально поданная 21 октября 2019 г., заявка предназначена для «системы помощи при буксировке», основанной на колесном усилителе, который соединяет буксирующее транспортное средство и трейлер.
Устройство будет иметь до четырех колес и оборудование, позволяющее соединять его с сцепными устройствами, автомобилем и прицепом. В патентных чертежах также показано седельно-сцепное устройство для буксировки таких прицепов. Поворачивая собственные колеса, устройство дополняло бы буксирующее транспортное средство, используя бортовые датчики для определения необходимой мощности. Согласно заявке на патент, оно также может тормозить самостоятельно, чтобы помочь при остановке прицепа.

Электродвигатели будут приводить в движение колеса устройства помощи при буксировке, возможно, по одному двигателю на колесо для имитации дифференциала путем изменения мощности, подаваемой на каждое колесо. Тяга не должна быть проблемой, потому что блок будет нести большую часть веса дышла прицепа, отмечает GM в патентной заявке. Двигатели будут питаться от бортового аккумуляторного блока, который также может быть сконфигурирован для питания прицепа или даже для зарядки тягача с помощью двунаправленной зарядки, которую GM начинает внедрять в электрические пикапы, такие как GMC Hummer EV. GM не сказал, сколько лошадиных сил или крутящего момента может производить агрегат.
Устройство помощи при буксировке также может упростить подключение к прицепу. Он может перемещать прицеп автономно или управляться оператором, что устраняет необходимость реверса и выравнивания с помощью сцепки, говорится в заявке на патент.