General Motors попытался «изобрести колесо» и вот что из этого вышло | SpeedMe
GM запатентовала лобовое стекло с электрическим подогревом для электромобилей
General Motors попытался «изобрести колесо» и вот что из этого вышло | SpeedMe
GM запатентовала лобовое стекло с электрическим подогревом для электромобилей
2023-07-26 07:59+03:00
2023-07-26 07:59+03:00
2023-07-26 07:59+03:00
/html/head/meta[@name='og:title']/@content
/html/head/meta[@name='og:description']/@content
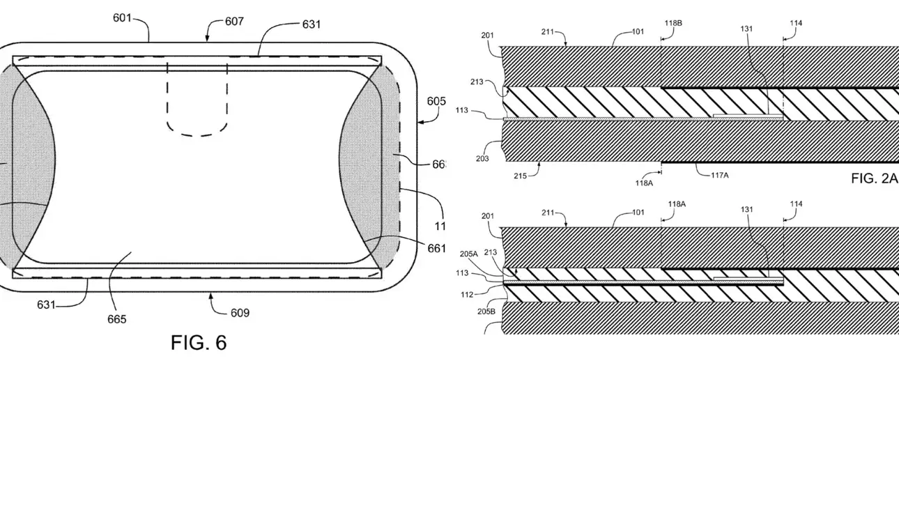
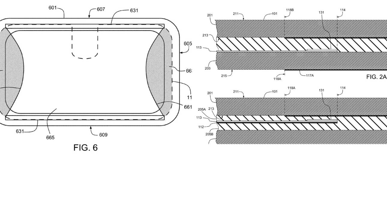
В патентной заявке, опубликованной Ведомством по патентам и товарным знакам США (USPTO) 13 июля 2023 года и первоначально поданной 12 января 2022 года, GM описывает более сложную конструкцию лобового стекла с подогревом, в которой будут использоваться встроенные элементы, потребляющие энергию от аккумуляторной батареи электромобиля для удаления льда, тумана и других негативных факторов, мешающих обзору.
Обогрев лобового стекла в большинтве современных автомобилей осуществляется путем выдувания горячего воздуха на лобовое стекло из вентиляционных отверстий. Как и в случае с системами отопления, используемыми для обогрева салонов автомобилей, это тепло может поступать от двигателя внутреннего сгорания или, в электромобиле, от теплового насоса. Независимо от источника тепла, этот метод работает относительно медленно, изначально очищая только небольшие участки, где нагретый воздух первым попадает на лобовое стекло.
Встраивание электропроводящих элементов в лобовое стекло позволяет более равномерно нагревать поверхность, поскольку эти элементы могут распространяться по всей поверхности. В отличие от нитей в виде решетки, используемых на задних стеклах, изобретение американского концерна не ограничивает видимость. Но, по словам GM, ограниченная мощность, доступная от 12-вольтовых автомобильных вспомогательных электрических систем переменного тока — типичного источника электроэнергии в автомобиле с ДВС.
Решение GM состоит в том, чтобы использовать постоянный ток, который вырабатывается аккумуляторной батареей электромобиля. Согласно патентной заявке, ток будет подаваться через шины на слой проводящего материала, нанесенного на поверхность куска стекла. Ветровые стекла обычно изготавливаются из многослойного стекла, что позволяет покрытой поверхности быть зажатой между слоями и излучать тепло наружу.
Отметим, что аналогичные решения для моделей с ДВС давно применяются немецкими автопроизводителями, поэтому в заявке General Motors нет ничего нового.
2023
Никита Новиков
Никита Новиков
Новости
ru-RU
1290
726
true
1290
726
true
Никита Новиков
General Motors попытался «изобрести колесо» и вот что из этого вышло
GM запатентовала лобовое стекло с электрическим подогревом для электромобилей
Автор: Никита Новиков, редактор
В патентной заявке, опубликованной Ведомством по патентам и товарным знакам США (USPTO) 13 июля 2023 года и первоначально поданной 12 января 2022 года, GM описывает более сложную конструкцию лобового стекла с подогревом, в которой будут использоваться встроенные элементы, потребляющие энергию от аккумуляторной батареи электромобиля для удаления льда, тумана и других негативных факторов, мешающих обзору.
Обогрев лобового стекла в большинтве современных автомобилей осуществляется путем выдувания горячего воздуха на лобовое стекло из вентиляционных отверстий. Как и в случае с системами отопления, используемыми для обогрева салонов автомобилей, это тепло может поступать от двигателя внутреннего сгорания или, в электромобиле, от теплового насоса. Независимо от источника тепла, этот метод работает относительно медленно, изначально очищая только небольшие участки, где нагретый воздух первым попадает на лобовое стекло.
Встраивание электропроводящих элементов в лобовое стекло позволяет более равномерно нагревать поверхность, поскольку эти элементы могут распространяться по всей поверхности. В отличие от нитей в виде решетки, используемых на задних стеклах, изобретение американского концерна не ограничивает видимость. Но, по словам GM, ограниченная мощность, доступная от 12-вольтовых автомобильных вспомогательных электрических систем переменного тока — типичного источника электроэнергии в автомобиле с ДВС.
Решение GM состоит в том, чтобы использовать постоянный ток, который вырабатывается аккумуляторной батареей электромобиля. Согласно патентной заявке, ток будет подаваться через шины на слой проводящего материала, нанесенного на поверхность куска стекла. Ветровые стекла обычно изготавливаются из многослойного стекла, что позволяет покрытой поверхности быть зажатой между слоями и излучать тепло наружу.
Отметим, что аналогичные решения для моделей с ДВС давно применяются немецкими автопроизводителями, поэтому в заявке General Motors нет ничего нового.