General Motors анонсировал батареи, вдохновленные Тетрисом: это изменит мир электромобилей | SpeedMe
General Motors нашла способ улучшить охлаждение батарей электромобилей
General Motors анонсировал батареи, вдохновленные Тетрисом: это изменит мир электромобилей | SpeedMe
General Motors нашла способ улучшить охлаждение батарей электромобилей
2024-03-20 09:00+03:00
2024-03-20 09:00+03:00
2024-03-20 09:00+03:00
/html/head/meta[@name='og:title']/@content
/html/head/meta[@name='og:description']/@content
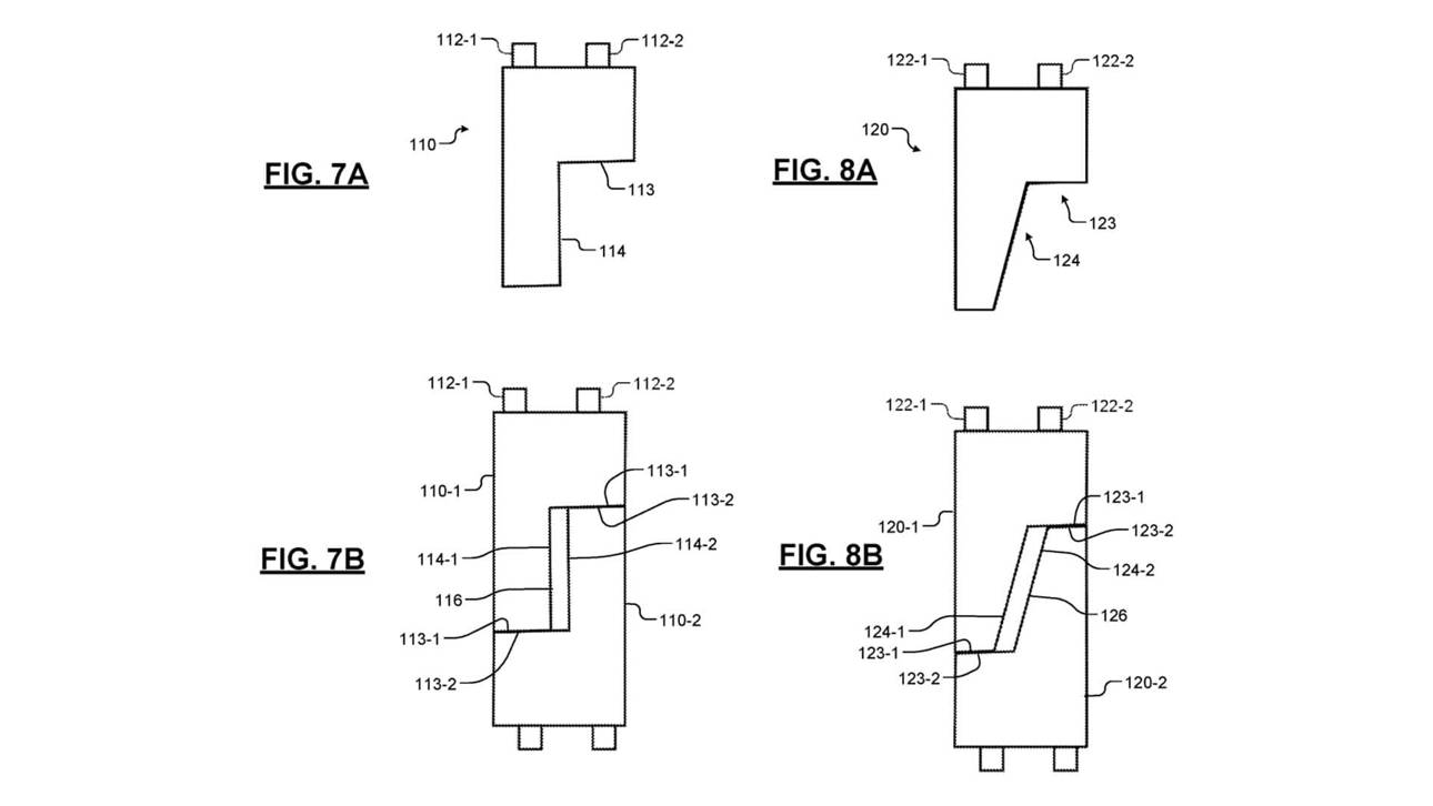
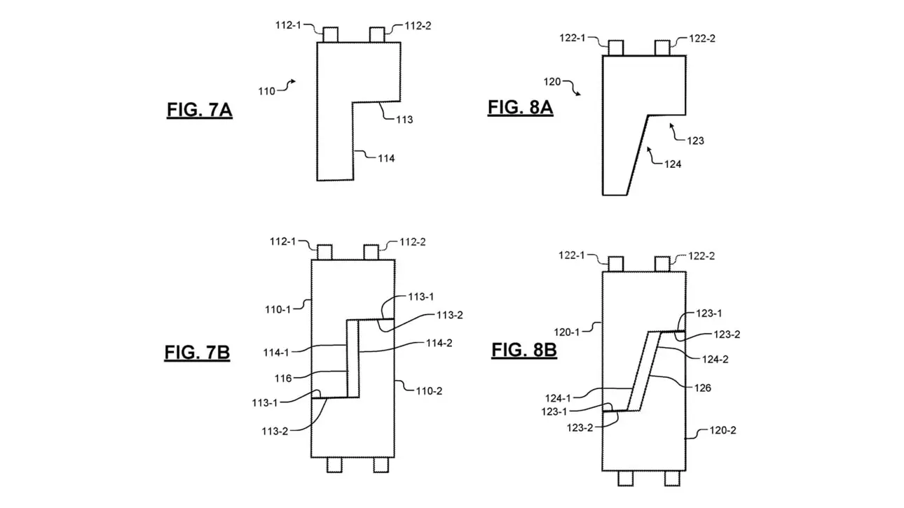
General Motors рассматривает возможность запуска четырех заводов по производству аккумуляторов, один из которых уже функционирует в Лордстауне, штат Огайо. Создание собственных батарей открывает перед компанией перспективы настройки конфигураций и форм, что GM намерена использовать на полную катушку. В недавнем патенте компании представлены аккумуляторные элементы, форма которых напоминает фигуры из Тетриса, предназначенные для обеспечения более эффективного охлаждения.
На данный момент документ является лишь заявкой на патент, опубликованной в конце февраля, но все указывает на то, что это новаторская идея от автопроизводителя, которую он стремился защитить в срочном порядке. В нем описывается текущий метод охлаждения аккумуляторных элементов, используемый, например, в Hummer EV, где охлаждение происходит на уровне отдельных модулей с помощью охлаждающей пластины внизу элементов. По утверждению GM, такой метод может приводить к неравномерному охлаждению и, как следствие, к преждевременному износу батареи. В качестве альтернативы GM предлагает создавать элементы в форме букв «L» или «C», что позволит образовывать один или несколько туннелей между элементами для добавления канала охлаждения.
Помимо необычных диагональных форм, компания рассматривает другие возможные конфигурации, используя прямоугольные призматические элементы, чтобы достичь аналогичного эффекта. В предложенной четырехэлементной группе два элемента будут короче и толще, а другие два — длиннее и тоньше, что позволит создать прямоугольный или H-образный канал охлаждения.
Идея GM несомненно необычна и может оказаться перспективной, однако неясно, будет ли разработка совершенно нового формата элементов в интересах улучшения системы охлаждения эффективным подходом к совершенствованию электромобилей.
2024
Дмитрий Новиков
Дмитрий Новиков
Новости
ru-RU
1290
726
true
1290
726
true
Дмитрий Новиков
General Motors анонсировал батареи, вдохновленные Тетрисом: это изменит мир электромобилей
General Motors нашла способ улучшить охлаждение батарей электромобилей
Автор: Дмитрий Новиков, редактор
General Motors рассматривает возможность запуска четырех заводов по производству аккумуляторов, один из которых уже функционирует в Лордстауне, штат Огайо. Создание собственных батарей открывает перед компанией перспективы настройки конфигураций и форм, что GM намерена использовать на полную катушку. В недавнем патенте компании представлены аккумуляторные элементы, форма которых напоминает фигуры из Тетриса, предназначенные для обеспечения более эффективного охлаждения.
На данный момент документ является лишь заявкой на патент, опубликованной в конце февраля, но все указывает на то, что это новаторская идея от автопроизводителя, которую он стремился защитить в срочном порядке. В нем описывается текущий метод охлаждения аккумуляторных элементов, используемый, например, в Hummer EV, где охлаждение происходит на уровне отдельных модулей с помощью охлаждающей пластины внизу элементов. По утверждению GM, такой метод может приводить к неравномерному охлаждению и, как следствие, к преждевременному износу батареи. В качестве альтернативы GM предлагает создавать элементы в форме букв «L» или «C», что позволит образовывать один или несколько туннелей между элементами для добавления канала охлаждения.
Помимо необычных диагональных форм, компания рассматривает другие возможные конфигурации, используя прямоугольные призматические элементы, чтобы достичь аналогичного эффекта. В предложенной четырехэлементной группе два элемента будут короче и толще, а другие два — длиннее и тоньше, что позволит создать прямоугольный или H-образный канал охлаждения.
Идея GM несомненно необычна и может оказаться перспективной, однако неясно, будет ли разработка совершенно нового формата элементов в интересах улучшения системы охлаждения эффективным подходом к совершенствованию электромобилей.