Премиум для сардин в банке: Mercedes заставит почувствовать себя в авто непривычно | SpeedMe
Mercedes запатентовал крышу авто с многосекционным открытием
Премиум для сардин в банке: Mercedes заставит почувствовать себя в авто непривычно | SpeedMe
Mercedes запатентовал крышу авто с многосекционным открытием
2026-03-17 16:21+03:00
2026-03-17 16:21+03:00
2026-03-17 16:21+03:00
/html/head/meta[@name='og:title']/@content
/html/head/meta[@name='og:description']/@content
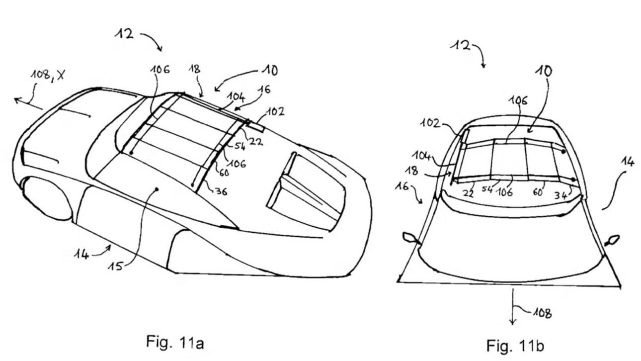
Mercedes-Benz продолжает экспериментировать с архитектурой кузова и запатентовал новую систему, которая меняет привычное представление о дверях автомобиля. Речь идёт о конструкции крыши, способной открываться вместе с дверями для облегчения посадки.
Суть технологии заключается в использовании нескольких шарниров, позволяющих поднимать секции крыши вверх при открытии дверей. В отличие от существующих решений, где используется одна большая панель или центральный шарнир, новая схема минимизирует высоту открытия и убирает мешающие элементы над головой.
Такие решения уже встречались на концептах и отдельных моделях, включая китайские электрокары и проекты Rolls-Royce, однако у них были ограничения — либо центральная стойка мешала посадке, либо крыша поднималась слишком высоко.
В патенте Mercedes предложено комбинированное решение с несколькими точками крепления. Это позволяет гибко управлять геометрией открытия и адаптировать систему под разные типы кузова — от спортивных купе до премиальных моделей и даже роботакси. Главный минус технологии — высокая сложность. Увеличивается количество подвижных элементов, требования к герметичности и стоимость производства.
Тем не менее для премиального сегмента это не критично. Mercedes уже имеет опыт внедрения сложных конструкций, включая «крылья чайки» и складные жёсткие крыши.
Пока речь идёт только о патенте, но подобные решения могут появиться в будущих дорогих моделях бренда, где комфорт посадки и эффектность конструкции играют ключевую роль.
2026
Никита Новиков
Никита Новиков
Новости
ru-RU
1290
726
true
1290
726
true
Никита Новиков
Премиум для сардин в банке: Mercedes заставит почувствовать себя в авто непривычно
Mercedes запатентовал крышу авто с многосекционным открытием
Автор: Никита Новиков, редактор
Mercedes-Benz продолжает экспериментировать с архитектурой кузова и запатентовал новую систему, которая меняет привычное представление о дверях автомобиля. Речь идёт о конструкции крыши, способной открываться вместе с дверями для облегчения посадки.
Суть технологии заключается в использовании нескольких шарниров, позволяющих поднимать секции крыши вверх при открытии дверей. В отличие от существующих решений, где используется одна большая панель или центральный шарнир, новая схема минимизирует высоту открытия и убирает мешающие элементы над головой.
Такие решения уже встречались на концептах и отдельных моделях, включая китайские электрокары и проекты Rolls-Royce, однако у них были ограничения — либо центральная стойка мешала посадке, либо крыша поднималась слишком высоко.
В патенте Mercedes предложено комбинированное решение с несколькими точками крепления. Это позволяет гибко управлять геометрией открытия и адаптировать систему под разные типы кузова — от спортивных купе до премиальных моделей и даже роботакси. Главный минус технологии — высокая сложность. Увеличивается количество подвижных элементов, требования к герметичности и стоимость производства.
Тем не менее для премиального сегмента это не критично. Mercedes уже имеет опыт внедрения сложных конструкций, включая «крылья чайки» и складные жёсткие крыши.
Пока речь идёт только о патенте, но подобные решения могут появиться в будущих дорогих моделях бренда, где комфорт посадки и эффектность конструкции играют ключевую роль.