Subaru brevetează o suspensie cu garda și căderea variabile
Suspensia brevetată de Subaru ajustează în mers garda la sol și unghiul de cădere
Subaru brevetează o suspensie cu garda și căderea variabile
Subaru a depus un brevet pentru o suspensie care modifică în timp real garda la sol și unghiul de cădere optimizând controlul și confortul de la circuit la oraș
2025-10-12T09:57:03+03:00
2025-10-12T09:57:03+03:00
2025-10-12T09:57:03+03:00
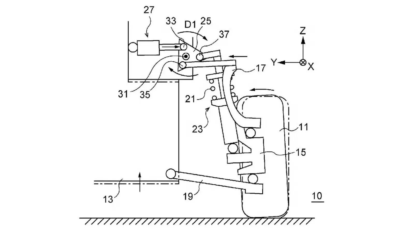
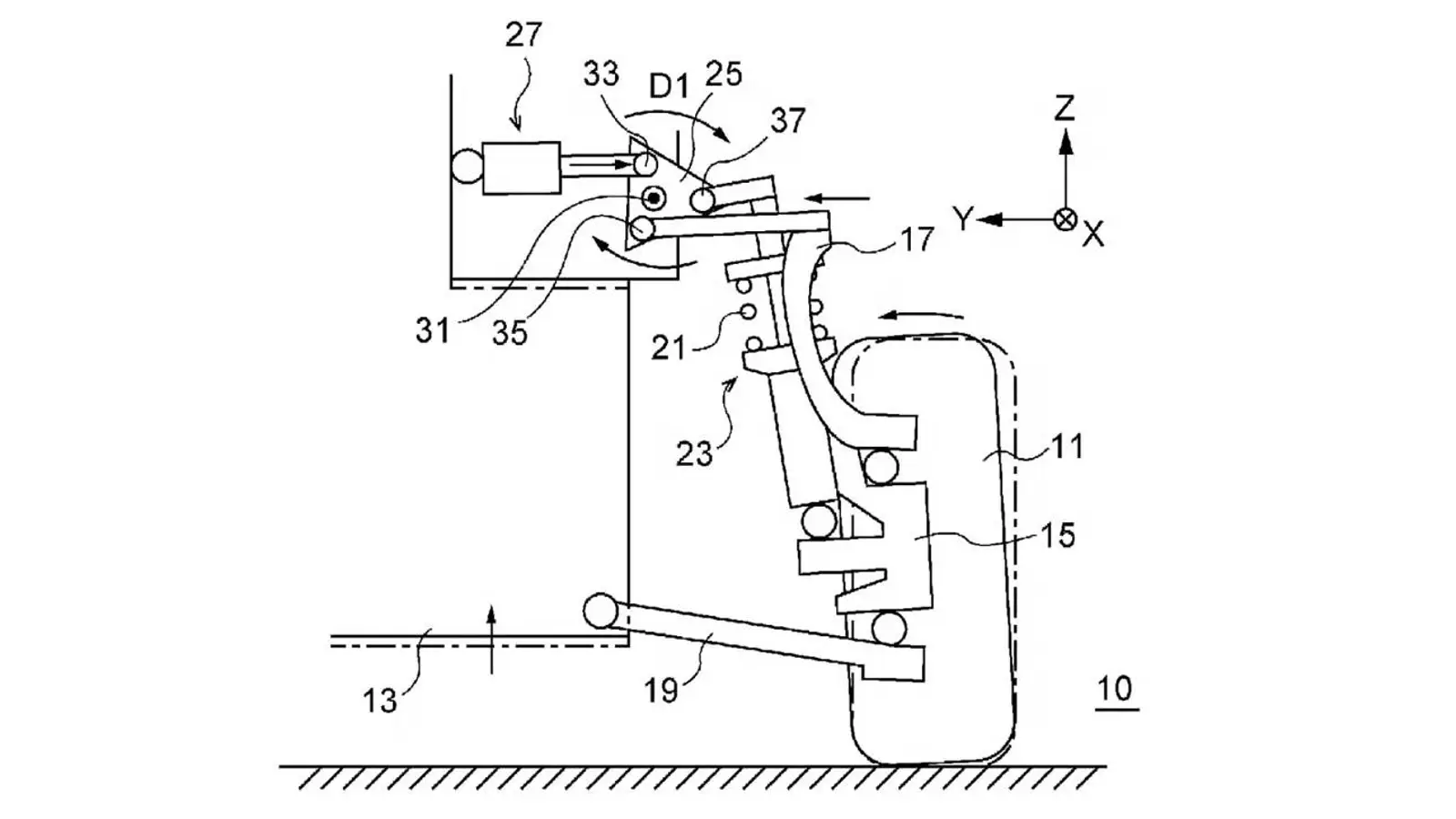
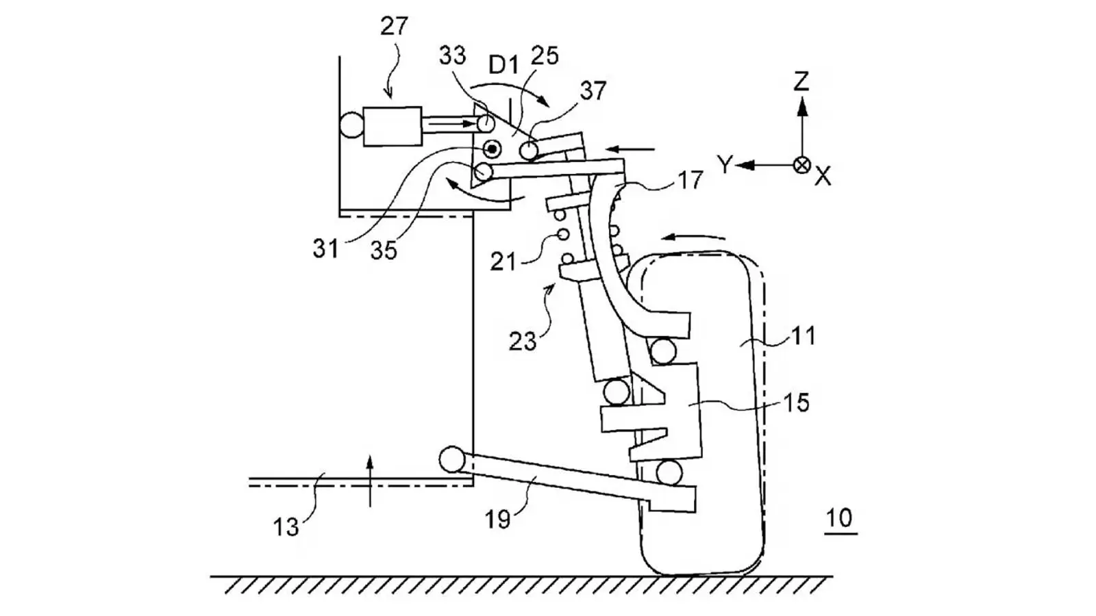
Subaru a surprins din nou industria, brevetând un sistem de suspensie capabil să modifice simultan garda la sol și unghiul de cădere al roților — și să o facă în mers. Depus sub titlul de brevet „Suspension device and vehicle”, conceptul se bazează pe o legătură suplimentară acționată, montată în partea superioară a amortizorului. Pe măsură ce suspensia se comprimă și revine, această legătură deplasează poziția ansamblului, ajustând în timp real înălțimea caroseriei și unghiul roților. Ideea nu urmărește doar efectul vizual, ci mută accentul pe geometrie, acolo unde se câștigă controlul.Când actuatorul se scurtează, mașina coboară, căderea negativă crește, iar centrul de greutate se reduce. Când acesta se extinde, caroseria urcă, oferind mai multă gardă la sol și stabilitate. În esență, Subaru propune o soluție care îi atrage deopotrivă pe cei care merg des pe circuit și pe amatorii de „stance”: o cobori pentru spectacol, o ridici pentru drumul spre casă. Promisiunea este limpede: un singur mecanism pentru extreme, fără a rupe firul logic al utilizării zilnice.Inginerii își imaginează că fiecare roată va citi datele de la senzorii de unghi al direcției, accelerație și cursă a roții, apoi va ajusta automat geometria în funcție de suprafață. Lamborghini a testat idei similare în trecut, însă Subaru pare să vizeze o versiune mai la îndemână. Abordarea are sens: dacă sistemul interpretează corect ce se întâmplă sub roți, mecanica poate lucra discret în favoarea șoferului.Este un pariu curajos, dar în linie cu echilibrul mărcii între rădăcinile de raliu și utilizarea de zi cu zi. Dacă Subaru duce proiectul în producție, rezultatul ar putea fi un adevărat pas înainte: o suspensie capabilă să împace gusturi diferite și să promită un amestec mai inteligent între control și confort. Ar fi genul de inovație care nu caută artificii, ci flexibilitate atunci când contează.
Subaru, suspensie adaptivă, brevet, gardă la sol, unghi de cădere, ajustare în timp real, actuator, senzori, geometrie roți, performanță pe circuit, confort urban, tehnologie auto
2025
Michael Powers
news
Suspensia brevetată de Subaru ajustează în mers garda la sol și unghiul de cădere
Subaru a depus un brevet pentru o suspensie care modifică în timp real garda la sol și unghiul de cădere optimizând controlul și confortul de la circuit la oraș
Michael Powers, Editor
Subaru a surprins din nou industria, brevetând un sistem de suspensie capabil să modifice simultan garda la sol și unghiul de cădere al roților — și să o facă în mers. Depus sub titlul de brevet „Suspension device and vehicle”, conceptul se bazează pe o legătură suplimentară acționată, montată în partea superioară a amortizorului. Pe măsură ce suspensia se comprimă și revine, această legătură deplasează poziția ansamblului, ajustând în timp real înălțimea caroseriei și unghiul roților. Ideea nu urmărește doar efectul vizual, ci mută accentul pe geometrie, acolo unde se câștigă controlul.
Când actuatorul se scurtează, mașina coboară, căderea negativă crește, iar centrul de greutate se reduce. Când acesta se extinde, caroseria urcă, oferind mai multă gardă la sol și stabilitate. În esență, Subaru propune o soluție care îi atrage deopotrivă pe cei care merg des pe circuit și pe amatorii de „stance”: o cobori pentru spectacol, o ridici pentru drumul spre casă. Promisiunea este limpede: un singur mecanism pentru extreme, fără a rupe firul logic al utilizării zilnice.
Inginerii își imaginează că fiecare roată va citi datele de la senzorii de unghi al direcției, accelerație și cursă a roții, apoi va ajusta automat geometria în funcție de suprafață. Lamborghini a testat idei similare în trecut, însă Subaru pare să vizeze o versiune mai la îndemână. Abordarea are sens: dacă sistemul interpretează corect ce se întâmplă sub roți, mecanica poate lucra discret în favoarea șoferului.
Este un pariu curajos, dar în linie cu echilibrul mărcii între rădăcinile de raliu și utilizarea de zi cu zi. Dacă Subaru duce proiectul în producție, rezultatul ar putea fi un adevărat pas înainte: o suspensie capabilă să împace gusturi diferite și să promită un amestec mai inteligent între control și confort. Ar fi genul de inovație care nu caută artificii, ci flexibilitate atunci când contează.