Следи за скоростью
16+

Практичный, как мебель Ikea: Rivian придумала новый способ крепления грузов для пикапов

© uspto.gov
Rivian разрабатывает новую систему крепления груза в кузовах пикапов
Полина Котикова
Автор: Полина Котикова, редактор

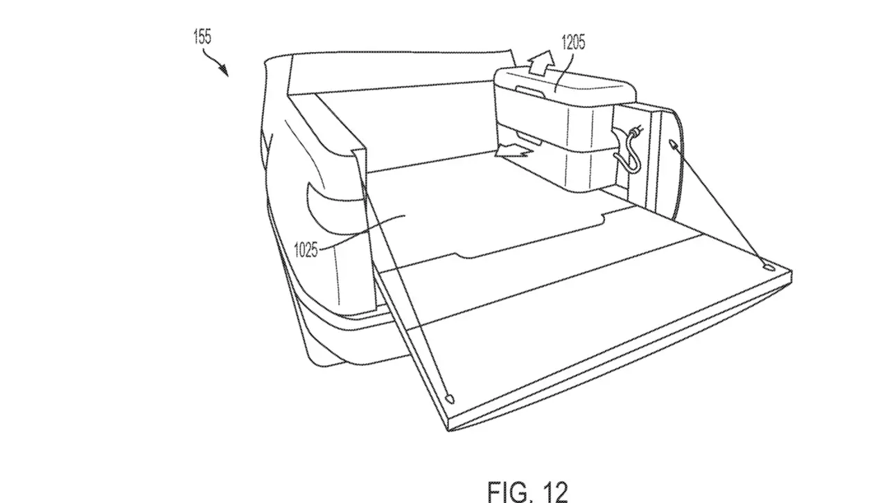
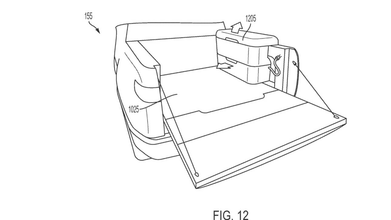
Компания Rivian работает над новой системой для крепления груза в кузовах пикапов. В патентной заявке, поданной в Бюро по патентам и товарным знакам США (USPTO) в начале 2023 года и опубликованной агентством только 30 мая, Rivian описывает настил для кузова с зажимами, работающими под давлением. При приложении силы к зажимам они открываются или закрываются, фиксируя груз на платформе.

Rivian
© uspto.gov

В заявке также обсуждаются грузовые ящики, которые могут быть закреплены в кузове с помощью этой системы зажимов. Ящики могут открываться с двух сторон, что обеспечивает дополнительную гибкость при доступе к предметам после их размещения в грузовом отсеке.

Это всего лишь один из нескольких недавних патентных заявок Rivian, связанных с управлением грузом. Недавние патентные исследования также выявили систему стоек для кузова и моторизованный разделитель грузового отсека.

Поделиться новостью