GM разработала суперудобное сиденье для авто: больше не нужно бороться с тяжелыми спинками | SpeedMe
GM запатентовала механизм для легкого складывания сидений
GM разработала суперудобное сиденье для авто: больше не нужно бороться с тяжелыми спинками | SpeedMe
GM запатентовала механизм для легкого складывания сидений
2025-02-01 13:17+03:00
2025-02-01 13:17+03:00
2025-02-01 13:17+03:00
/html/head/meta[@name='og:title']/@content
/html/head/meta[@name='og:description']/@content
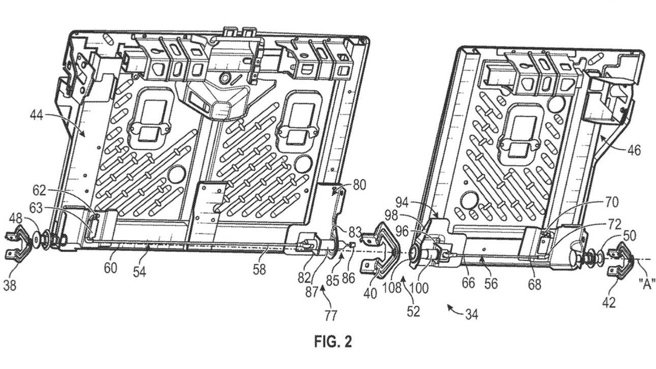
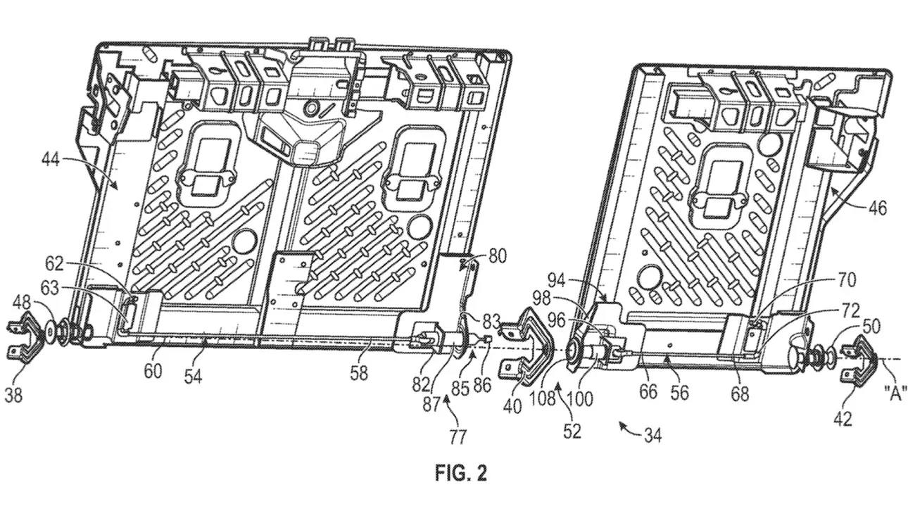
Компания GM подала заявку на патент на инновационный механизм складывания сидений, который значительно упростит использование автомобилей, особенно тех, которые имеют дополнительные функции, как массаж или охлаждение. В патенте описана система с торсионной пружиной, которая помогает легко и без усилий складывать спинку сиденья, даже если оно достаточно тяжелое.
Этот механизм не только снижает физическую нагрузку при регулировке сидений, но и увеличивает удобство при доступе к багажному отделению или задним отсекам автомобиля. Особенно полезно это для внедорожников или семейных автомобилей, где пространство и удобство важны.
Кроме того, система включает автоматический исполнительный механизм, который может облегчить процесс трансформации сидений, делая его плавным и быстрым. Это может стать важным улучшением в автомобилях с большим багажником, где гибкость пространства играет ключевую роль. Такие инновации также могут сыграть важную роль в выборе авто, предоставляя дополнительные удобства и возможности для комфортного использования его в повседневной жизни.
2025
Юлия Иванчик
Юлия Иванчик
Новости
ru-RU
1290
726
true
1290
726
true
Юлия Иванчик
GM разработала суперудобное сиденье для авто: больше не нужно бороться с тяжелыми спинками
GM запатентовала механизм для легкого складывания сидений
Автор: Юлия Иванчик, редактор
Компания GM подала заявку на патент на инновационный механизм складывания сидений, который значительно упростит использование автомобилей, особенно тех, которые имеют дополнительные функции, как массаж или охлаждение. В патенте описана система сторсионной пружиной, которая помогает легко и без усилий складывать спинку сиденья, даже если оно достаточно тяжелое.
Этот механизм не только снижает физическую нагрузку при регулировке сидений, но и увеличивает удобство при доступе к багажному отделению или задним отсекам автомобиля. Особенно полезно это для внедорожников или семейных автомобилей, где пространство и удобство важны.
Кроме того, система включает автоматический исполнительный механизм, который может облегчить процесс трансформации сидений, делая его плавным и быстрым. Это может стать важным улучшением в автомобилях с большим багажником, где гибкость пространства играет ключевую роль. Такие инновации также могут сыграть важную роль в выборе авто, предоставляя дополнительные удобства и возможности для комфортного использования его в повседневной жизни.