Илону Маску верить нельзя: вместо реактивного двигателя новинка получит сходство с Карлсоном, который живёт на крыше | SpeedMe
Tesla запатентовала новую аэродинамическую технологию для Roadster
Илону Маску верить нельзя: вместо реактивного двигателя новинка получит сходство с Карлсоном, который живёт на крыше | SpeedMe
Tesla запатентовала новую аэродинамическую технологию для Roadster
2025-08-05 23:08+03:00
2025-08-05 23:08+03:00
2025-08-05 23:08+03:00
/html/head/meta[@name='og:title']/@content
/html/head/meta[@name='og:description']/@content
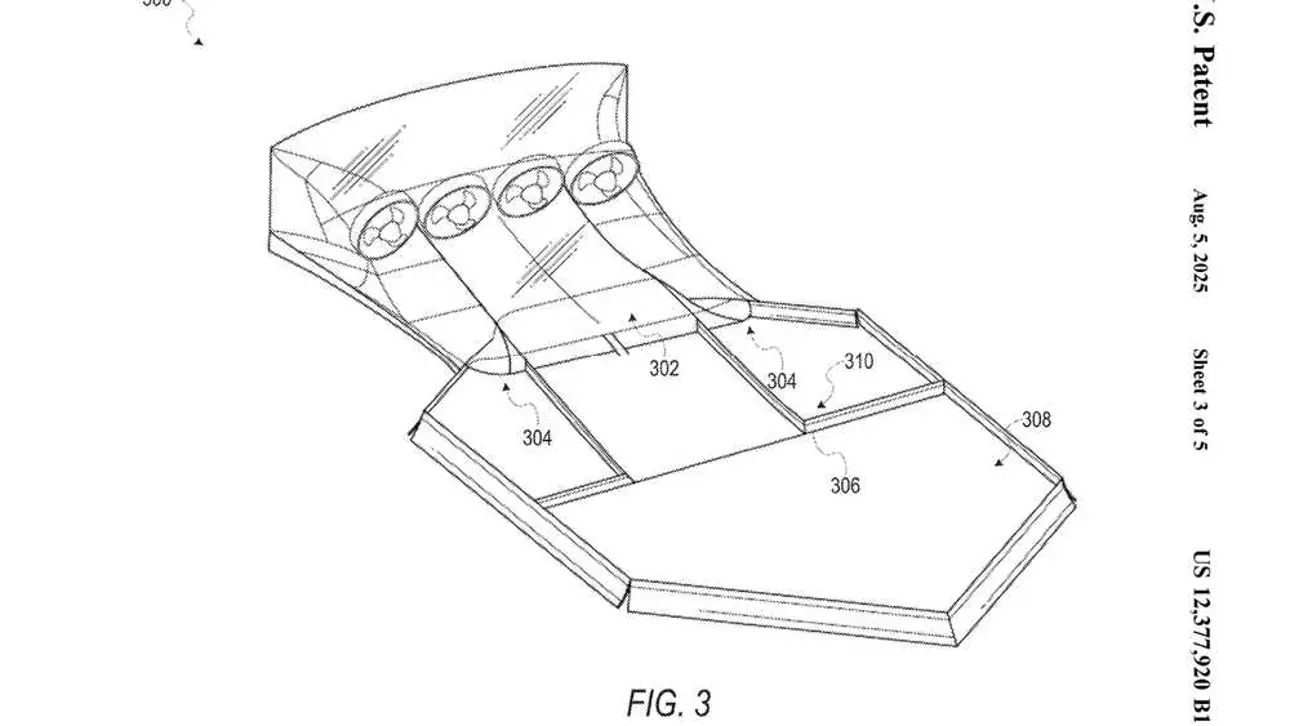
Tesla, по всей видимости, не забывает о своем обещании представить впечатляющий Roadster, который должен был поступить в продажу еще несколько лет назад. Из-за долгого ожидания многие начали сомневаться в его судьбе, но недавнее одобрение патента показывает, что работа над ним все же продолжилась.
Этот патент под названием "адаптивная аэродинамика транспортного средства для увеличения прижимной силы" раскрывает детали системы, использующей комбинирование воздушных потоков для повышения динамических характеристик. Система включает подкрылья, которые разворачиваются снизу, и четыре вентилятора на заднем диффузоре. Эти вентиляторы создают мощную область низкого давления, "приближающую" автомобиль к дороге, что значительно увеличивает сцепление с асфальтом. Это не только улучшает управляемость, но и позволяет добиться максимальной скорости в зависимости от условий вождения.
Хотя технологии не являются полностью новыми, их реализация позволяет Тесле подчеркнуть свой инновационный подход. Разумеется, успешность системы будет зависеть от реальных условий эксплуатации, где качество дорожного покрытия может сказаться на эффективности системы.
2025
Никита Новиков
Никита Новиков
Новости
ru-RU
1290
726
true
1290
726
true
Никита Новиков
Илону Маску верить нельзя: вместо реактивного двигателя новинка получит сходство с Карлсоном, который живёт на крыше
Tesla запатентовала новую аэродинамическую технологию для Roadster
Автор: Никита Новиков, редактор
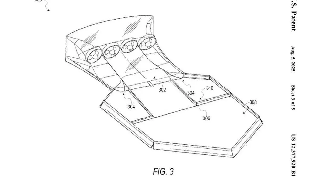
Tesla, по всей видимости, не забывает о своем обещании представить впечатляющий Roadster, который должен был поступить в продажу еще несколько лет назад. Из-за долгого ожидания многие начали сомневаться в его судьбе, но недавнее одобрение патента показывает, что работа над ним все же продолжилась.
Этот патент под названием "адаптивная аэродинамика транспортного средства для увеличения прижимной силы" раскрывает детали системы, использующей комбинирование воздушных потоков для повышения динамических характеристик. Система включает подкрылья, которые разворачиваются снизу, и четыре вентилятора на заднем диффузоре. Эти вентиляторы создают мощную область низкого давления, "приближающую" автомобиль к дороге, что значительно увеличивает сцепление с асфальтом. Это не только улучшает управляемость, но и позволяет добиться максимальной скорости в зависимости от условий вождения.
Хотя технологии не являются полностью новыми, их реализация позволяет Тесле подчеркнуть свой инновационный подход. Разумеется, успешность системы будет зависеть от реальных условий эксплуатации, где качество дорожного покрытия может сказаться на эффективности системы.