Компания Porsche ищет новые способы сохранить удовольствие от вождения в эпоху автоматических трансмиссий и электрификации. Согласно недавно опубликованному патенту в Германии, бренд разрабатывает селектор передач, который может имитировать классическую механическую коробку.
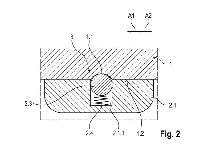
Технология основана на системе shift-by-wire, где рычаг передач не связан механически с трансмиссией. Вместо этого его движения передаются электронными сигналами системе управления автомобиля.
Инженеры Porsche предложили механизм, позволяющий рычагу двигаться по схеме, напоминающей классическую H-образную «механику». Система использует датчики, которые фиксируют как вращательное движение рычага, так и его перемещение в стороны. При этом специальный механизм блокировки позволяет переключаться между режимами. В одном положении селектор работает как обычный автомат, а в другом водитель может перемещать рычаг по «воротам», имитируя переключение передач вручную. Для более реалистичных ощущений предусмотрены пружины и электромоторы, создающие сопротивление и тактильную отдачу при переключениях.
В теории это позволит автомобилям Porsche сохранять привычный водительский опыт даже в условиях автоматических трансмиссий или гибридных и электрических силовых установок. Пока речь идет лишь о патенте, и нет гарантии, что технология появится в серийных авто. Однако сама идея показывает, что производители спортивных автомобилей продолжают искать способы сохранить эмоции от управления машиной в новой технологической эпохе.
Если Porsche доведет эту идею до серийного производства, это может стать интересным компромиссом между современными технологиями и классическим водительским опытом. Для многих поклонников бренда ощущение переключения передач — важная часть характера автомобиля.
Ранее специалисты SPEEDME.RU рассказали, что Porsche изучает возможность выпуска новой сверхмощной модели выше 911.
Компания Porsche ищет новые способы сохранить удовольствие от вождения в эпоху автоматических трансмиссий и электрификации. Согласно недавно опубликованному патенту в Германии, бренд разрабатывает селектор передач, который может имитировать классическую механическую коробку.
Технология основана на системе shift-by-wire, где рычаг передач не связан механически с трансмиссией. Вместо этого его движения передаются электронными сигналами системе управления автомобиля.
Инженеры Porsche предложили механизм, позволяющий рычагу двигаться по схеме, напоминающей классическую H-образную «механику». Система использует датчики, которые фиксируют как вращательное движение рычага, так и его перемещение в стороны. При этом специальный механизм блокировки позволяет переключаться между режимами. В одном положении селектор работает как обычный автомат, а в другом водитель может перемещать рычаг по «воротам», имитируя переключение передач вручную. Для более реалистичных ощущений предусмотрены пружины и электромоторы, создающие сопротивление и тактильную отдачу при переключениях.
В теории это позволит автомобилям Porsche сохранять привычный водительский опыт даже в условиях автоматических трансмиссий или гибридных и электрических силовых установок. Пока речь идет лишь о патенте, и нет гарантии, что технология появится в серийных авто. Однако сама идея показывает, что производители спортивных автомобилей продолжают искать способы сохранить эмоции от управления машиной в новой технологической эпохе.
Если Porsche доведет эту идею до серийного производства, это может стать интересным компромиссом между современными технологиями и классическим водительским опытом. Для многих поклонников бренда ощущение переключения передач — важная часть характера автомобиля.
Ранее специалисты SPEEDME.RU рассказали, что Porsche изучает возможность выпуска новой сверхмощной модели выше 911.