Novo Peugeot 208 2026: estreia STLA Small e 100% elétrico
Android Auto 15.2 com bug: widgets somem da barra
Guia de carros elétricos familiares: 12 SUVs imperdíveis
Jeep em xeque: confiabilidade no ranking Consumer Reports
BYD Yangwang U9 Xtreme chega ao Brasil: hipercarro elétrico
XPeng fecha recorde: 600 carros voadores no Oriente Médio
Packard Excellence renasce: luxo artesanal sobre Bentley
Oficinas na Europa recusam carros elétricos: risco e preparo
GM fecha acordo por 'Shift to Park' em Ohio e Tennessee
Santana Motors retorna: alianças e nova picape 4x4
Válvula PCV: sinais de falha que podem destruir o motor
BMW lança cores exclusivas Le Castellet Blue e Grey Pine
Toyota faz recall da Tacoma 4x4: falha no cardã dianteiro
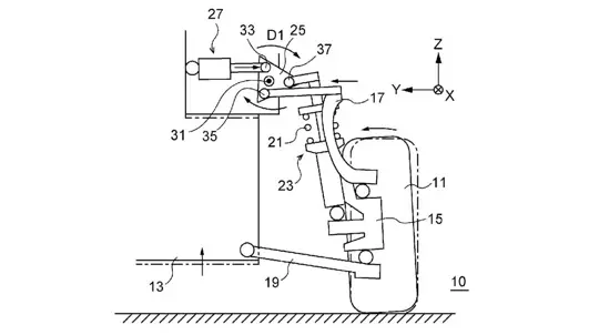
Subaru patenteia suspensão que ajusta altura e cambagem
Mercedes-AMG G 63 Havana Vintage por Carlex Design exclusivo
Chery lança a marca LEPAS na Europa: SUVs híbridos premium
Honda abre laboratório na Ohio State para materiais avançados
Xiaomi SU7 chega à Europa por importação: preços e detalhes
GM estende pausa dos Hummer EV e Escalade IQ até 2025
Lyft e Tensor lançam Robocar: autônomo Nível 4 pessoal
Ao continuar a usar este site, você concorda com o nosso Política de Cookies e Política de Privacidade.