16+
  • Nyhet
  • Artiklar

Nyhet

Toyota Hilux 2026: läckt interiör och nya drivlinor

21:49 13-10-2025

Snabbladdning avgörs av kabeln: 600 kW-test med Volvo EX90

20:42 13-10-2025

Elektriska debuter 2025–2026: från Ferrari till folkbilar

17:13 13-10-2025

Toyota Corolla nästa generation: eldrivet koncept avslöjat

15:54 13-10-2025

Peugeot 208 2026: elbil på STLA Small med Hypersquare

14:17 13-10-2025

Android Auto 15.2-bugg: widgetar och aktivitetsfält krånglar

12:23 13-10-2025

Elbilar för familjer: modeller, räckvidd & utrymme

10:54 13-10-2025

Jeep tappar i pålitlighet: Gladiator bäst, Wrangler sämre

09:53 13-10-2025

BYD skickar hyperbilen Yangwang U9 Xtreme till Brasilien

08:22 13-10-2025

XPeng Huixian: 600 flygbilar till Mellanöstern, ny fabrik

07:22 13-10-2025

Packard Excellence återföds: Bentleybas och hantverk

05:41 13-10-2025

Europa bromsar elbilsservice: verkstäder saknar certifikat

23:32 12-10-2025

GM:s 'Shift to Park'-fel: förlikning ger ersättning

22:24 12-10-2025

Santana Motors gör comeback – partners i Kina, pickup 2025

21:22 12-10-2025

PCV-ventil: symtom, risker och när du bör byta den

19:35 12-10-2025

BMW:s nya signaturlacker: Le Castellet Blue och Grey Pine

18:31 12-10-2025

Toyota återkallar Tacoma, inkl. hybrid: fel i CV-led

16:31 12-10-2025

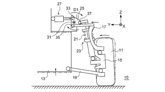
Subaru patenterar fjädring som justerar camber och höjd

09:53 12-10-2025

Carlex Design lanserar Mercedes‑AMG G 63 Havana Vintage

07:22 12-10-2025

Chery lanserar LEPAS i Europa: premium hybrid-SUV L8

21:47 11-10-2025
74 75 76 77 78 79 80

Genom att fortsätta använda denna webbplats godkänner du vår Cookiepolicy och vår Integritetspolicy.

  • Nyhet
  • Artiklar
Användaravtal
Cookiepolicy
Integritetspolicy
Om oss
Kontakter
2026