Honda Prelude palaa hybridinä: coupé lähempänä GT:tä
Toyota Hilux 2026: vuotanut ohjaamo ja tekniikkauutuudet
Pikalatauksen pullonkaula: latauskaapeli ratkaisee nopeuden
Sähköautojen supervuodet 2025–2026: mallit ja hinnat
Toyota Corolla EV-konsepti yllätti Japan Mobility Show'ssa
Uusi sähköinen Peugeot 208 (2026): STLA Small, Hypersquare
Android Auto 15.2 -päivitys rikkoo tehtäväpalkin widgetit
Parhaat perheille sopivat sähköautot: opas ja vertailu
Consumer Reports: Jeepin luotettavuus romahtaa listalla
BYD Yangwang U9 Xtreme: sähköhyperauto saapuu Brasiliaan
XPeng Huixian myy 600 lentävää autoa Lähi-itään – suurtilaus
Packard Excellence: käsintehty paluu Bentley-pohjalle
Sähköautot ja korjaamot: turvariski, osaajapula, ratkaisut
GM sopi ryhmäkanteen: Shift to Park -vika ja korvaukset
Santana Motors palaa: uusi 4x4-strategia ja kumppanit
PCV-venttiili kuntoon: merkit, riskit ja nopea ratkaisu
BMW tuo Le Castellet Blue ja Grey Pine – uudet tunnussävyt
Toyota Tacoma 4x4 takaisinkutsu: vika etukardaanissa
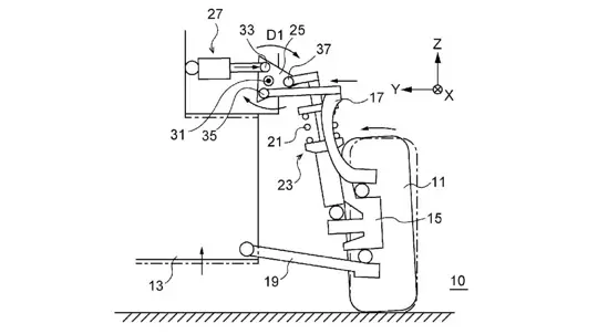
Subaru patentoi jousituksen: camber ja ajokorkeus liikkeessä
Carlex Design esittelee Mercedes‑AMG G 63 Havana Vintage
Jatkamalla tämän sivuston käyttöä hyväksyt Evästekäytäntö ja Tietosuojakäytäntö.