16+
  • Nieuws
  • Artikelen

Nieuws

Hyundai IONIQ 6 N debuteert in LA: 641 pk EV-sensatie

08:19 21-11-2025

Genesis G90 Wingback Magma: gedurfde stationwagen onthuld

07:15 21-11-2025

Audi roept Q7 en Q8 (2025) terug: defecte gordelsluitingen

06:04 21-11-2025

Cadillac met Apple Car Key: digitale sleutel in Wallet

04:24 21-11-2025

NACTOY 2026: finalisten onthuld, Ram schrijft historie

02:28 21-11-2025

Hyundai Crater Concept: gedurfde XRT-offroadvisie

00:46 21-11-2025

Mitsubishi Destinator: nieuwe 3-rijige SUV debuteert

23:05 20-11-2025

Brabus 700 tilt AMG E 53 naar 700 pk: sneller dan E 63

21:22 20-11-2025

Kia K5 terugroepactie VS: brandstoftanklek en brandrisico

19:02 20-11-2025

Toyota Yaris Cross 2026: hybride SUV opent voorverkoop

17:12 20-11-2025

DR 3 2025: compacte SUV met update, vanaf €17.900 in Europa

15:29 20-11-2025

Consumer Reports 2025: Genesis G70 zakt op betrouwbaarheid

13:45 20-11-2025

Tesla Robotaxi voert getrapte schoonmaattoeslag in

12:02 20-11-2025

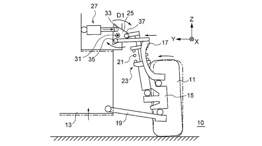
Ford patenteert uitklapbare frontmodule voor voetgangers

10:17 20-11-2025

VW ID.4 in VS: rechtszaak om aanraakknoppen en acceleratie

08:16 20-11-2025

Porsche Cayenne EV: 0–100 in 2,5 s, laden tot 400 kW

05:47 20-11-2025

Rolls-Royce Black Badge Ghost Gamer one-off eert 8-bit games

03:57 20-11-2025

Elektrische Volvo EX90: 5 Euro NCAP-sterren, topveiligheid

02:04 20-11-2025

Auto's in de VS boven MSRP: dit zijn de slechtste deals

23:55 19-11-2025

Ford terugroepactie: Bronco en hybrides, OTA-fix in de VS

22:19 19-11-2025
74 75 76 77 78 79 80

Door deze website te blijven gebruiken, ga je akkoord met ons Cookiebeleid en ons Privacybeleid.

  • Nieuws
  • Artikelen
Gebruikersovereenkomst
Cookiebeleid
Privacybeleid
Over ons
Contacten
2026