Ford переосмысливает способы крепления грузов: новый патент | SpeedMe
Ford запатентовал выдвижные петли для крепления грузов на крыше
Ford переосмысливает способы крепления грузов: новый патент | SpeedMe
Ford запатентовал выдвижные петли для крепления грузов на крыше
2024-03-26 08:01+03:00
2024-03-26 08:01+03:00
2024-03-26 08:01+03:00
/html/head/meta[@name='og:title']/@content
/html/head/meta[@name='og:description']/@content
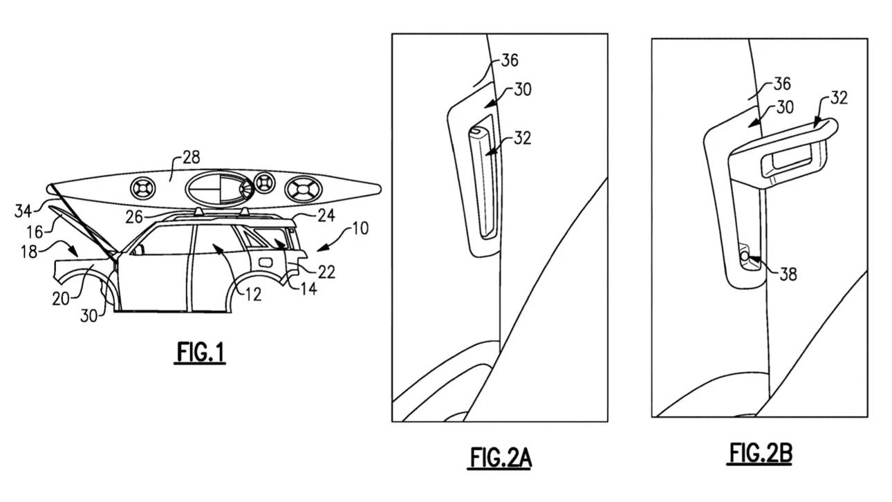
Ford рассматривает возможность упрощения процесса крепления груза на крышу автомобиля. В патентной заявке, опубликованной Управлением по патентам и товарным знакам США (USPTO) 12 марта, Ford описывает интеграцию выдвижных точек крепления в крылья автомобиля.
Для надежного крепления крупных предметов, таких как каяк или каноэ, на крыше транспортного средства необходимы веревки или ремни. Ford отмечает в заявке, что, хотя существуют места для их крепления в нижней части автомобиля, это может привести к трению веревок или ремней о краску. Встраиваемые точки крепления помогают избежать контакта веревок и ремней с кузовом и краской.
Точки крепления состоят из механизма, который закрепляется на жестком элементе, например, на внутренней структуре автомобиля внутри переднего крыла, и шарнира, который позволяет им выдвигаться при необходимости.
Хотя такая функция может оказаться популярной среди любителей активного отдыха, выдвижные точки крепления могут не попасть в производство. Ford регулярно подает заявки на патенты, но некоторые идеи, такие как выдвижная велосипедная стойка, появившаяся в 2017 году, не используются в серийных автомобилях.
2024
Никита Новиков
Никита Новиков
Новости
ru-RU
1290
726
true
1290
726
true
Никита Новиков
Ford переосмысливает способы крепления грузов: новый патент
Ford запатентовал выдвижные петли для крепления грузов на крыше
Автор: Никита Новиков, редактор
Ford рассматривает возможность упрощения процесса крепления груза на крышу автомобиля. В патентной заявке, опубликованной Управлением по патентам и товарным знакам США (USPTO) 12 марта, Ford описывает интеграцию выдвижных точек крепления в крылья автомобиля.
Для надежного крепления крупных предметов, таких как каяк или каноэ, на крыше транспортного средства необходимы веревки или ремни. Ford отмечает в заявке, что, хотя существуют места для их крепления в нижней части автомобиля, это может привести к трению веревок или ремней о краску. Встраиваемые точки крепления помогают избежать контакта веревок и ремней с кузовом и краской.
Точки крепления состоят из механизма, который закрепляется на жестком элементе, например, на внутренней структуре автомобиля внутри переднего крыла, и шарнира, который позволяет им выдвигаться при необходимости.
Хотя такая функция может оказаться популярной среди любителей активного отдыха, выдвижные точки крепления могут не попасть в производство. Ford регулярно подает заявки на патенты, но некоторые идеи, такие как выдвижная велосипедная стойка, появившаяся в 2017 году, не используются в серийных автомобилях.