Следи за скоростью
16+

Toyota решила обезопасить пассажиров в своих автомобилях при помощи буксировочных крюков

Toyota решила обезопасить пассажиров в своих автомобилях при помощи буксировочных крюков © uspto.gov
Toyota запатентовала выдвижной буксировочный крюк для своих автомобилей

Toyota активно работает над усовершенствованием буксировочных крюков в своих автомобилях, что подтверждается тремя недавними патентными заявками. Эти инновации направлены на улучшение показателей безопасности автомобилей в случае аварий.

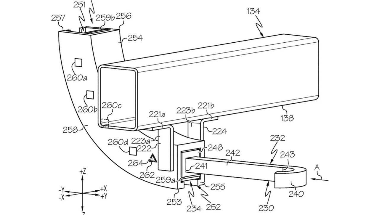
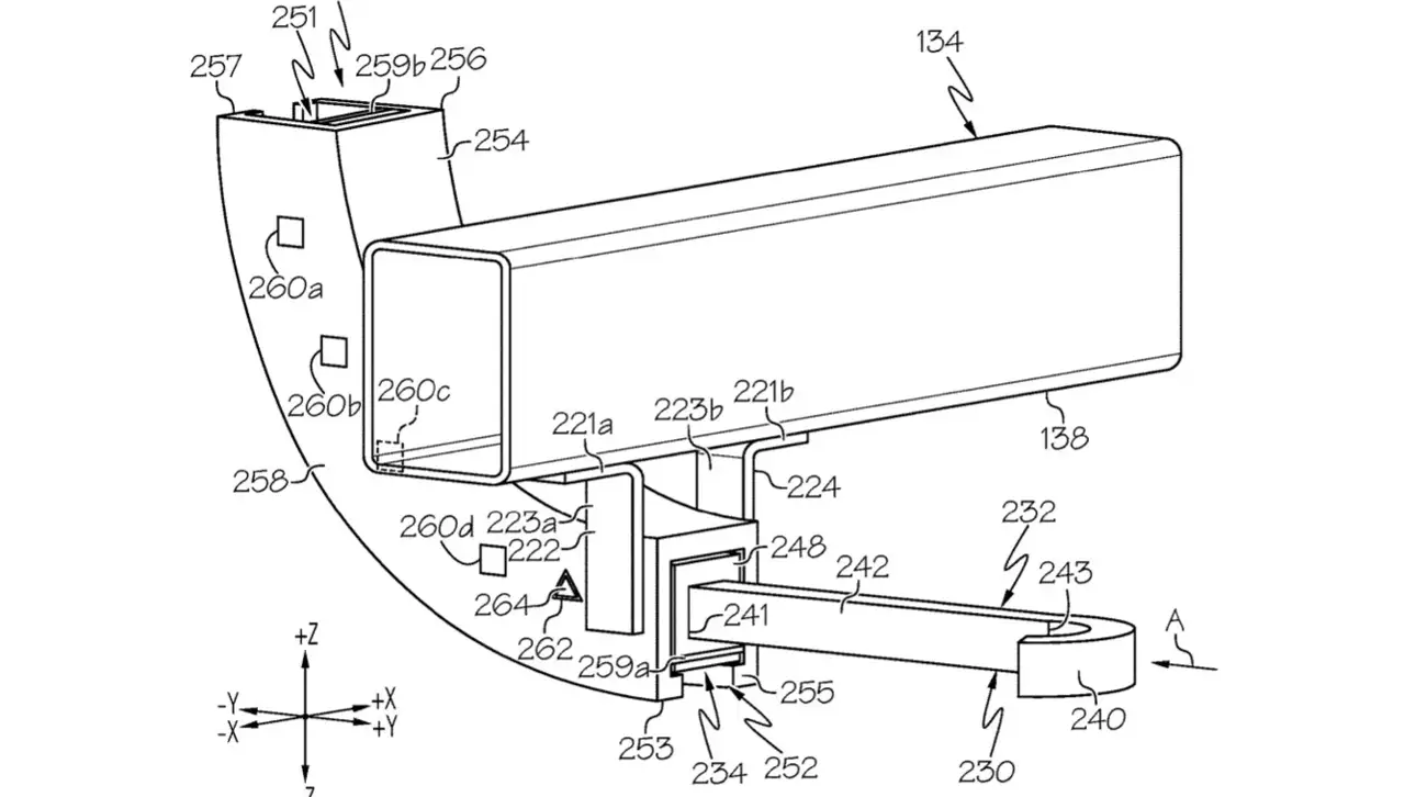
Один из документов, опубликованных Управлением по патентам и товарным знакам США (USPTO) 25 апреля 2024 года, описывает буксировочные крюки, которые выдвигаются при использовании и убираются в корпус в остальное время. По заявлениям Toyota, такая конструкция может повысить безопасность. В патентной заявке отмечается, что жестко закрепленные буксировочные крюки могут передавать ударные нагрузки на другие части автомобиля, что потенциально может привести к повреждениям. Этот дизайн включает в себя срезной штифт, который при сильном ударе ломается, заставляя буксировочный крюк убираться и тем самым поглощая часть силы удара.

Новый патент Toyota
© uspto.gov

Вторая патентная заявка, также поданная Toyota и опубликованная USPTO в тот же период, представляет схожую идею, где буксировочные крюки могут поворачиваться вверх и вниз. Toyota считает, что возможность движения буксировочных крюков при ударе может улучшить показатели безопасности автомобиля при авариях.

Третья патентная заявка, появившаяся примерно в то же время, что и две другие, предлагает более сложную конструкцию крепления, которая будет действовать как краш-структура для двух крюков. Буксировочный крюк крепится к «краш-боксу», предназначенному для деформации при ударе, поглощая силу удара, вместо того чтобы передавать ее на другие части автомобиля.

Поделиться новостью