Как у Tesla, но только другое: GM придумала соединить стекло крыши и лобовое стекло | SpeedMe
General Motors запатентовала панорамное лобовое стекло для своих электромобилей
Как у Tesla, но только другое: GM придумала соединить стекло крыши и лобовое стекло | SpeedMe
General Motors запатентовала панорамное лобовое стекло для своих электромобилей
2024-07-10 15:05+03:00
2024-07-10 15:05+03:00
2024-07-10 15:05+03:00
/html/head/meta[@name='og:title']/@content
/html/head/meta[@name='og:description']/@content
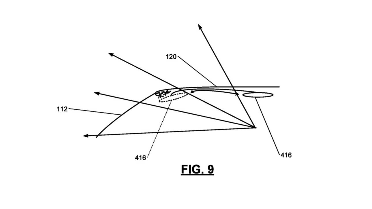
В будущем продукция компании General Motors может порадовать своих пассажиров солнечным светом благодаря панорамным лобовым стеклам, которые простираются до самого края крыши. По крайней мере это обещает новая патентная заявка под названием «Структурное панорамное лобовое стекло и крыша», которая была опубликована Управлением по патентам и товарным знакам США (USPTO) 18 июня 2024 года. В документе описывается прозрачная секция крыши, которая соединяется с лобовым стеклом, создавая впечатление непрерывного стекла, аналогичного Lucid Air или Tesla Model X.
Однако GM решила сохранить традиционный передний поперечник для лобового стекла и панорамной секции крыши, чтобы их можно было прикрепить с помощью полиуретанового клея, как в случае с обычными лобовыми стеклами. Этот поперечник решает проблему, с которой столкнулась Tesla при установке солнцезащитных козырьков в Model X, требующую сложной конструкции арматуры для их поворота.
Панорамная секция крыши также будет оснащена электрохромной тонировкой, которая позволит ей менять прозрачность от непрозрачной до прозрачной путем пропускания электрического тока через встроенные в панель кондуктивные материалы. Подобные функции уже доступны на автомобилях, таких как электрический кроссовер Lotus Eletre, кабриолет Maserati MC20 Cielo и последние модели McLaren Spider.
GM также отмечает в патентном документе, что крышу можно изготовить из композитного материала, что потенциально позволяет сэкономить вес или помочь снизить центр тяжести автомобиля.
2024
Дмитрий Новиков
Дмитрий Новиков
Новости
ru-RU
1290
726
true
1290
726
true
Дмитрий Новиков
Как у Tesla, но только другое: GM придумала соединить стекло крыши и лобовое стекло
General Motors запатентовала панорамное лобовое стекло для своих электромобилей
Автор: Дмитрий Новиков, редактор
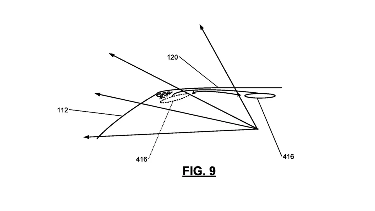
В будущем продукция компании General Motors может порадовать своих пассажиров солнечным светом благодаря панорамным лобовым стеклам, которые простираются до самого края крыши. По крайней мере это обещает новая патентная заявка под названием «Структурное панорамное лобовое стекло и крыша», которая была опубликована Управлением по патентам и товарным знакам США (USPTO) 18 июня 2024 года. В документе описывается прозрачная секция крыши, которая соединяется с лобовым стеклом, создавая впечатление непрерывного стекла, аналогичного Lucid Air или Tesla Model X.
Однако GM решила сохранить традиционный передний поперечник для лобового стекла и панорамной секции крыши, чтобы их можно было прикрепить с помощью полиуретанового клея, как в случае с обычными лобовыми стеклами. Этот поперечник решает проблему, с которой столкнулась Tesla при установке солнцезащитных козырьков в Model X, требующую сложной конструкции арматуры для их поворота.
Панорамная секция крыши также будет оснащена электрохромной тонировкой, которая позволит ей менять прозрачность от непрозрачной до прозрачной путем пропускания электрического тока через встроенные в панель кондуктивные материалы. Подобные функции уже доступны на автомобилях, таких как электрический кроссовер Lotus Eletre, кабриолет Maserati MC20 Cielo и последние модели McLaren Spider.
GM также отмечает в патентном документе, что крышу можно изготовить из композитного материала, что потенциально позволяет сэкономить вес или помочь снизить центр тяжести автомобиля.