Следи за скоростью
16+

Изобрели колесо заново: General Motors готовит революцию в очистке стекол

© uspto.gov
General Motors запатентовала новую систему стеклоочистителей
Автор: Полина Котикова, редактор

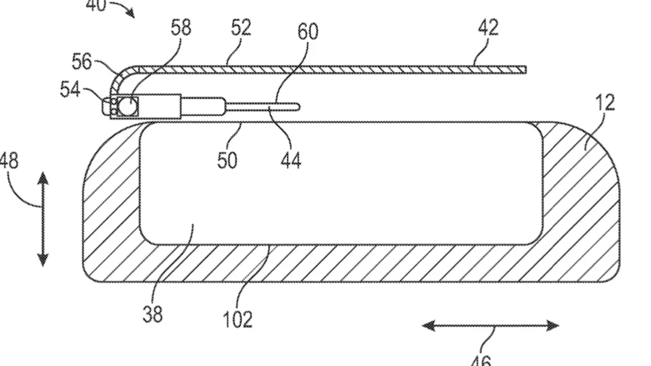
General Motors запатентовала инновационную систему стеклоочистителей с направляющими рельсами. В отличие от традиционных дворников, использующих вращающийся рычаг, новая конструкция применяет скользящий механизм, позволяющий очищать большую площадь — особенно на вертикальных задних окнах внедорожников и минивэнов.

Патент General Motors на дворники
© uspto.gov

Дворник движется по рельсам в горизонтальном и вертикальном направлении, приводится в действие мотором и роликами. Такая система эффективнее справляется с загрязнением и уменьшает слепые зоны, улучшая обзор для водителя.

Технология совместима с датчиками дождя и может быть полностью интегрирована в электронные блоки управления автомобиля. Решение ориентировано на будущие поколения SUV и MPV, где заднее стекло имеет нестандартные пропорции.

Поделиться новостью

#GM