Японцы объединяют стэнс и автоспорт в одном патенте: специалисты останутся без работы | SpeedMe
Subaru запатентовала подвеску с изменением клиренса и развала во время движения
Японцы объединяют стэнс и автоспорт в одном патенте: специалисты останутся без работы | SpeedMe
Subaru запатентовала подвеску с изменением клиренса и развала во время движения
2025-10-11 22:26+03:00
2025-10-11 22:26+03:00
2025-10-11 22:26+03:00
/html/head/meta[@name='og:title']/@content
/html/head/meta[@name='og:description']/@content
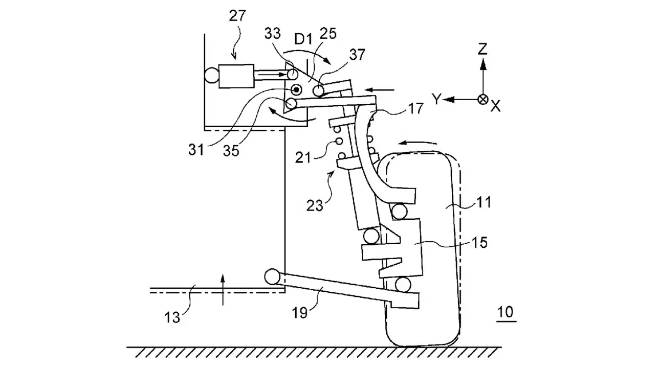
Subaru вновь удивила автопром: компания запатентовала систему подвески, которая способна одновременно менять клиренс и угол развала колёс — и всё это прямо во время движения. Патент под названием «Suspension device and vehicle» описывает конструкцию с дополнительным приводным звеном, установленным в верхней части стойки. Это звено изменяет положение подвески при сжатии и отбойных движениях, регулируя высоту кузова и угол наклона колёс в реальном времени.
Когда привод укорачивается, подвеска опускается, увеличивая отрицательный развал и снижая центр тяжести. При удлинении — кузов поднимается, обеспечивая больший клиренс и стабильность. Таким образом, Subaru предлагает систему, которая одинаково интересна и фанатам трек-дней, и поклонникам стэнс-культуры: можно опустить автомобиль для шоу, а потом поднять для поездки домой.
По задумке инженеров, каждая подвеска будет получать данные с датчиков угла поворота руля, ускорения и перемещения колеса, чтобы автоматически подстраивать геометрию под условия дороги. Подобные решения тестировала Lamborghini, но Subaru намерена сделать их доступнее.
Идея выглядит смелой, но логичной для бренда, который всегда балансирует между ралли и повседневностью. Если Subaru доведёт технологию до серийного уровня, это может стать настоящим прорывом — подвеской, которая угодит всем.
2025
Диана Дегтярева
Диана Дегтярева
Новости
ru-RU
1290
726
true
1290
726
true
Диана Дегтярева
Японцы объединяют стэнс и автоспорт в одном патенте: специалисты останутся без работы
Subaru запатентовала подвеску с изменением клиренса и развала во время движения
Автор: Диана Дегтярева, редактор
Subaru вновь удивила автопром: компания запатентовала систему подвески, которая способна одновременно менять клиренс и угол развала колёс — и всё это прямо во время движения. Патент под названием «Suspension device and vehicle» описывает конструкцию с дополнительным приводным звеном, установленным в верхней части стойки. Это звено изменяет положение подвески при сжатии и отбойных движениях, регулируя высоту кузова и угол наклона колёс в реальном времени.
Когда привод укорачивается, подвеска опускается, увеличивая отрицательный развал и снижая центр тяжести. При удлинении — кузов поднимается, обеспечивая больший клиренс и стабильность. Таким образом, Subaru предлагает систему, которая одинаково интересна и фанатам трек-дней, и поклонникам стэнс-культуры: можно опустить автомобиль для шоу, а потом поднять для поездки домой.
По задумке инженеров, каждая подвеска будет получать данные с датчиков угла поворота руля, ускорения и перемещения колеса, чтобы автоматически подстраивать геометрию под условия дороги. Подобные решения тестировала Lamborghini, но Subaru намерена сделать их доступнее.
Идея выглядит смелой, но логичной для бренда, который всегда балансирует между ралли и повседневностью. Если Subaru доведёт технологию до серийного уровня, это может стать настоящим прорывом — подвеской, которая угодит всем.