Следи за скоростью
16+

Американцы придумали, как сохранить тайну в машинах: ваша вторая половинка ничего не узнает

© B. Naumkin
Ford запатентовал Dual View Display: один экран показывает разное водителю и пассажиру
Полина Котикова
Автор: Полина Котикова, редактор

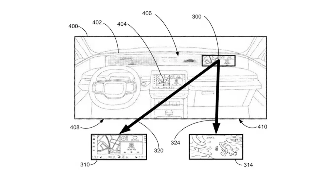
Автопроизводители всё активнее превращают салон в «стену экранов», но вместе с удобством приходит и новая проблема — информационная перегрузка и усталость от дисплеев. Ford, судя по свежему патенту Dual View Display, пытается решить этот конфликт необычным способом: сделать один экран, который одновременно показывает разные изображения водителю и пассажиру. Издание SPEEDME.RU изучило документ в базе USPTO и вот что обнаружило.

Сценарий понятный и жизненный. Пассажир хочет смотреть видео или листать контент, а водителю в этот момент нужны навигация, подсказки по маршруту и данные автомобиля. Вместо того чтобы добавлять ещё один монитор или жёстко блокировать «пассажирскую» картинку, Ford описывает технологию, где всё происходит на одной панели, но вид зависит от угла.

Автоновости / патент Ford
© uspto.gov

Технически решение сложнее, чем кажется. Внутри дисплея предполагаются отдельные LED-зоны, каждая из которых формирует своё изображение. Над ними работают два набора микролинз: не одна линза на весь экран, а массив микролинз, где каждая «прикрывает» отдельный светодиод. За счёт раздельного управления пикселями одна картинка направляется в сторону водителя, другая — к пассажиру. При необходимости экран может показывать и одно общее изображение, например, когда автомобиль стоит.

Ключевой элемент — параллакс-барьер, знакомый по технологиям 3D-экранов: он помогает разным углам видеть «свои» пиксели. При этом остаётся практический вопрос: как обеспечить стабильную работу при разных положениях водительского сиденья и росте людей, ведь зона обзора в машине меняется постоянно.

Поделиться новостью