Ferrari обеспечит ощущение наличия ДВС в электромобилях | SpeedMe
Ferrari запатентовала звуковую систему для электромобилей
Ferrari обеспечит ощущение наличия ДВС в электромобилях | SpeedMe
Ferrari запатентовала звуковую систему для электромобилей
2024-05-13 06:31+03:00
2024-05-13 06:31+03:00
2024-05-13 06:31+03:00
/html/head/meta[@name='og:title']/@content
/html/head/meta[@name='og:description']/@content
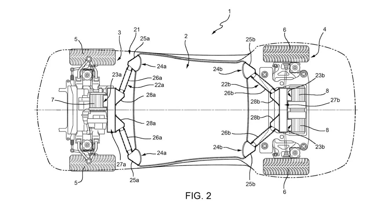
Компания Ferrari, знаменитый производитель спортивных автомобилей из Италии, активно работает над созданием уникальных звуковых решений для своих будущих электромобилей. Две патентные заявки, опубликованные Управлением по патентам и товарным знакам США (USPTO), представляют новаторские подходы к воспроизведению звуков двигателя, которые являются неотъемлемой частью вождения.
Первая заявка, поданная Ferrari в прошлом году, описывает электромобиль с тремя моторами, оборудованный генераторами звука. В ней говорится о специальных впусках, расположенных возле каждого мотора, и выпусках, через которые звук может быть направлен непосредственно в салон автомобиля. Такой подход позволяет водителям лучше ощущать работу автомобиля и его динамические характеристики, что сравнимо с ощущениями от вождения машины с двигателем внутреннего сгорания.
Вторая патентная заявка Ferrari предлагает совершенно иной метод генерации звука. В этом случае звук создается за счет воздуха, проходящего через специальные резонаторы, расположенные на автомобиле. Воздух может поступать через радиаторную решетку или даже через воздухозаборник, расположенный под машиной. Этот подход позволяет создать звук, который является результатом взаимодействия движения транспортного средства и окружающей его среды.
Ferrari ранее подавала заявку на патент для моторов, интегрированных в колеса, что является довольно необычным решением в автомобилестроении. Пока только китайская компания Dongfeng заявляет о сертификации таких моторов для легкового автомобиля — седана Fengshen E70. Пикап Lordstown Endurance также использовал подобную технологию, но он был ориентирован скорее на коммерческие автопарки и был выпущен лишь в ограниченном количестве до объявления компанией о банкротстве.
2024
Диана Дегтярева
Диана Дегтярева
Новости
ru-RU
1290
726
true
1290
726
true
Диана Дегтярева
Ferrari обеспечит ощущение наличия ДВС в электромобилях
Ferrari запатентовала звуковую систему для электромобилей
Автор: Диана Дегтярева, редактор
Компания Ferrari, знаменитый производитель спортивных автомобилей из Италии, активно работает над созданием уникальных звуковых решений для своих будущих электромобилей. Две патентные заявки, опубликованные Управлением по патентам и товарным знакам США (USPTO), представляют новаторские подходы к воспроизведению звуков двигателя, которые являются неотъемлемой частью вождения.
Первая заявка, поданная Ferrari в прошлом году, описывает электромобиль с тремя моторами, оборудованный генераторами звука. В ней говорится о специальных впусках, расположенных возле каждого мотора, и выпусках, через которые звук может быть направлен непосредственно в салон автомобиля. Такой подход позволяет водителям лучше ощущать работу автомобиля и его динамические характеристики, что сравнимо с ощущениями от вождения машины с двигателем внутреннего сгорания.
Вторая патентная заявка Ferrari предлагает совершенно иной метод генерации звука. В этом случае звук создается за счет воздуха, проходящего через специальные резонаторы, расположенные на автомобиле. Воздух может поступать через радиаторную решетку или даже через воздухозаборник, расположенный под машиной. Этот подход позволяет создать звук, который является результатом взаимодействия движения транспортного средства и окружающей его среды.
Ferrari ранее подавала заявку на патент для моторов, интегрированных в колеса, что является довольно необычным решением в автомобилестроении. Пока только китайская компания Dongfeng заявляет о сертификации таких моторов для легкового автомобиля — седана Fengshen E70. Пикап Lordstown Endurance также использовал подобную технологию, но он был ориентирован скорее на коммерческие автопарки и был выпущен лишь в ограниченном количестве до объявления компанией о банкротстве.