Toyota enthüllt Corolla-Konzept: elektrische Limousine 2025
Peugeot 208 2026: e‑208 debütiert elektrisch auf STLA Small
Android Auto 15.2: Bug entfernt Taskleisten-Widgets
Die besten Elektroautos für Familien: Modelle & Reichweite
Jeep bei Consumer Reports: Gladiator top, Wrangler flop
BYD Yangwang U9 Xtreme: nur ein Exemplar für Brasilien
XPeng Huixian: Rekordauftrag für 600 Flugautos in Nahost
Packard Excellence: Einzelstück auf Bentley-Basis ist zurück
Werkstätten meiden E-Autos: Hochvolt-Risiken, Kosten
GM vergleicht Sammelklage: Entschädigung für 'Shift to Park'
Santana Motors kehrt zurück: Offroad-Comeback mit ZZ Nissan
PCV‑Ventil: Symptome erkennen, teure Motorschäden vermeiden
BMW bringt Le Castellet Blue und Grey Pine: exklusive Lacke
Toyota-Rückruf: Tacoma 4x4 wegen vorderer Kardanwelle
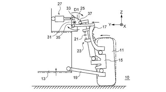
Subaru-Patent: Fahrwerk justiert Bodenfreiheit & Sturz live
Carlex Design veredelt Mercedes-AMG G 63: Havana Vintage
Chery startet LEPAS: Hybrid- und Plug-in-SUVs für Europa
Honda eröffnet Advanced Materials Science Lab bei Ohio State
Xiaomi SU7 in Europa: Import, Preise und Leistung 2026
GM verlängert Produktionsstopp: Hummer EV & Escalade IQ
Durch die weitere Nutzung dieser Website stimmen Sie unserer Cookie-Richtlinie und unserer Datenschutzrichtlinie zu.