16+
  • Nyheter
  • Artikler

Nyheter

Guangzhou 2025: Xpeng og Aridge viser seks elnyheter

16:17 23-11-2025

Guangzhou 2025: restomod-klassikere fra SongSan og Fullgood

13:46 23-11-2025

Kia K4 Hatchback: priser, utstyr og ytelser i 2026

11:28 23-11-2025

Hvorfor forhandlere frykter elbiler: halvert vedlikehold

09:28 23-11-2025

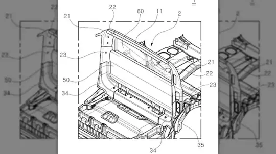
Patent: Porsche låser toppfart til korrekt rattgrep

06:57 23-11-2025

ZF lanserer brake-by-wire: elektriske bremser for elbiler

04:45 23-11-2025

Oppdatert Manthey Kit for Porsche 911 GT3: raskere runder

02:22 23-11-2025

Icons of Porsche i Dubai: klassiske og elektriske nyheter

00:11 23-11-2025

Cadillac Lyriq‑V og Escalade IQ: el-nyheter fra Guangzhou

22:16 22-11-2025

Bruktmarked for elbiler i Spania: toppvalg under €15 000

20:39 22-11-2025

Audi E5 Sportback Special Performance quattro lanseres

19:10 22-11-2025

Audi Sport viser banefokusert GT-racer i Guangzhou 2025

17:26 22-11-2025

Porsche Cayenne EV debut: 400 kW lading og 642 km rekkevidde

15:22 22-11-2025

BAW 212 Explorer 01 pickup: kraftig debut i Guangzhou 2025

13:12 22-11-2025

Oppdatert Toyota Camry vist i Kina: nytt design, mer tech

11:05 22-11-2025

Mazda2 2026 i Japan: ny oppdatering, utstyr og 15MB

09:01 22-11-2025

Maserati MC20 Cielo Opera d’Arte: debut og Fuoriserie

07:07 22-11-2025

Chevrolet Groove 2026 lansert i Peru: RS, ny tech, lav pris

05:15 22-11-2025

Topp 5 firehjulsdrevne sedaner 2025: trygt og gøy hele året

03:23 22-11-2025

Genesis GV60 Magma: elektrisk sportsbil med 650 hk

01:32 22-11-2025
26 27 28 29 30 31 32

Ved å fortsette å bruke dette nettstedet godtar du vår Retningslinjer for informasjonskapsler og vår Personvernerklæring.

  • Nyheter
  • Artikler
Brukeravtale
Retningslinjer for informasjonskapsler
Personvernerklæring
Om oss
Kontakter
2026