Audi A2 regressa em 2026 como crossover elétrico compacto e acessível
Recall do Volkswagen Jetta 2025-2026: risco de incêndio por fio de aterramento
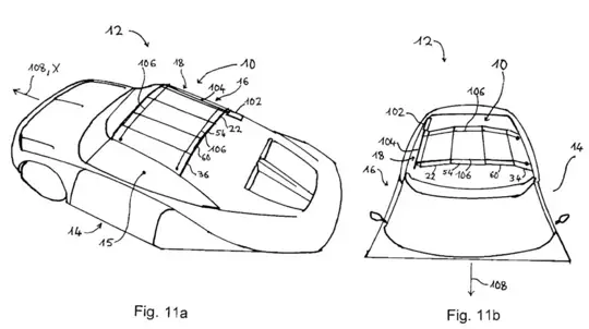
Mercedes-Benz patenteia sistema de portas com teto elevável
Alfa Romeo Colleção: edição limitada Giulia e Stelvio Quadrifoglio
Jeep adapta modelos na Europa com flexibilidade de motorização e elétricos
Nissan confirma versões off-road Warrior para Navara e Patrol
Veículos elétricos mais eficientes: líderes em MPGe e economia de energia
Renault Duster 2024: novo design, motores e preços na Índia
Mitsubishi Outlander Plug-in Hybrid 2026: preço, autonomia e novidades
Porsche desenvolve novo crossover a gasolina para substituir Macan
GM substitui adaptadores de carregamento para carros elétricos com defeito
Ferrari 849 Testarossa: novo supercarro híbrido com 1050 cavalos
Ford Transit 2026: Atualizações do motor V6 EcoBoost e novas opções
Novos SUVs da frota presidencial: Cadillac Escalades para segurança
Kia EV2: preços, versões e autonomia do crossover elétrico compacto
China acelera desenvolvimento de energia e transporte a hidrogénio até 2030
Abarth repensa eletrificação e pode voltar a motores a gasolina
Incêndios em veículos elétricos: como combater e prevenir
Recall do Volvo EX30: problema no alerta do cinto de segurança
BMW patenteia tecnologia de direção com feedback para maior precisão
Ao continuar a usar este site, você concorda com o nosso Política de Cookies e Política de Privacidade.